GM Service Manual Online
For 1990-2009 cars only
Makes
🢒
Chevrolet
🢒
2001
🢒
Blazer - 2WD
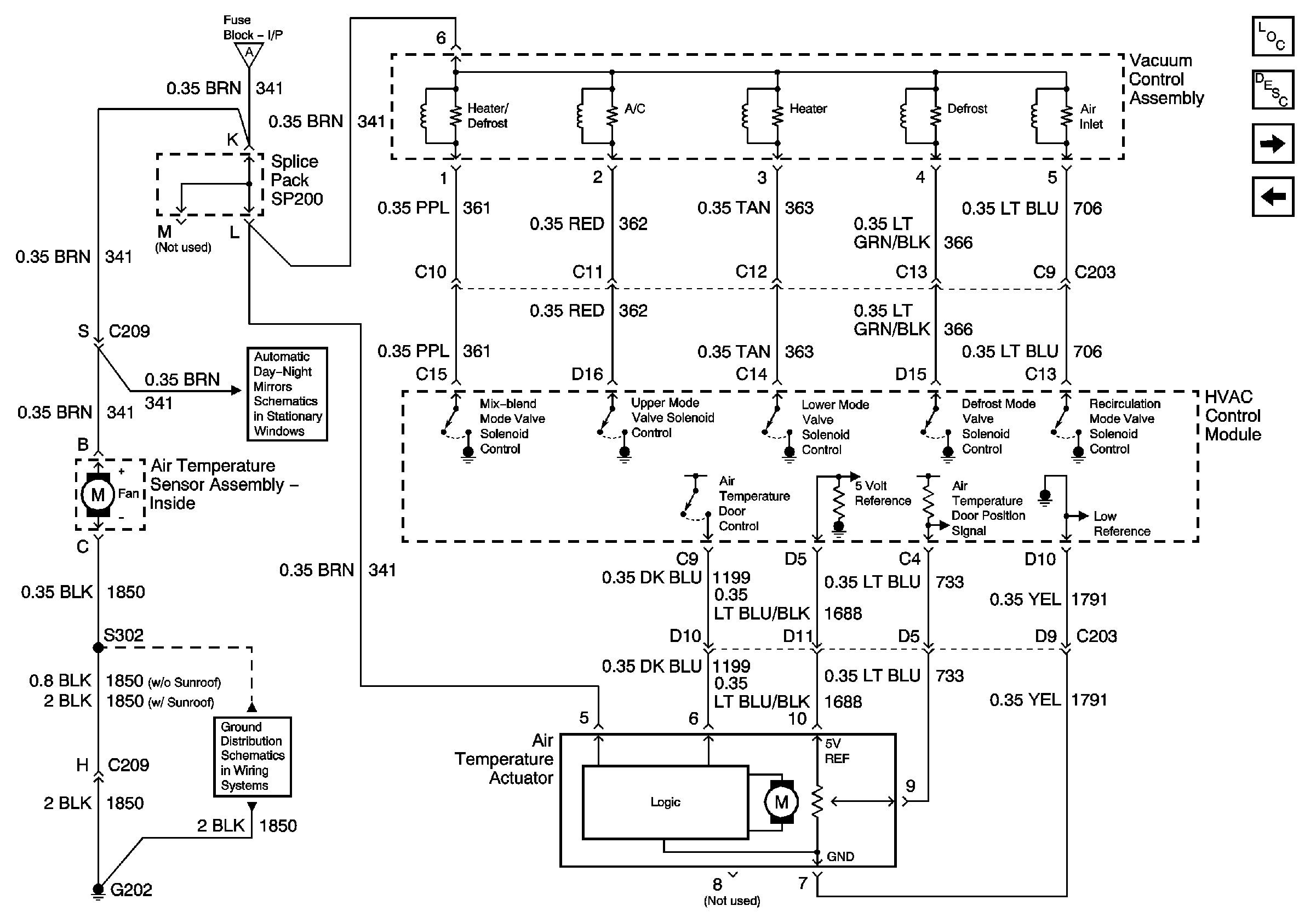
🢒 HVAC Vacuum Control Solenoid Valve Assembly and Electric Actuator
HVAC Vacuum Control Solenoid Valve Assembly and Electric Actuator
HVAC Vacuum Control Solenoid Valve Assembly and Electric Actuator
Master Electrical Component List
Air Temperature Description and Operation
ECC Module and Temperature Sensors
Blower Controls
Automatic Day-Night Mirror Schematics
G202 (Pickup Except Crew Cab)