GM Service Manual Online
For 1990-2009 cars only

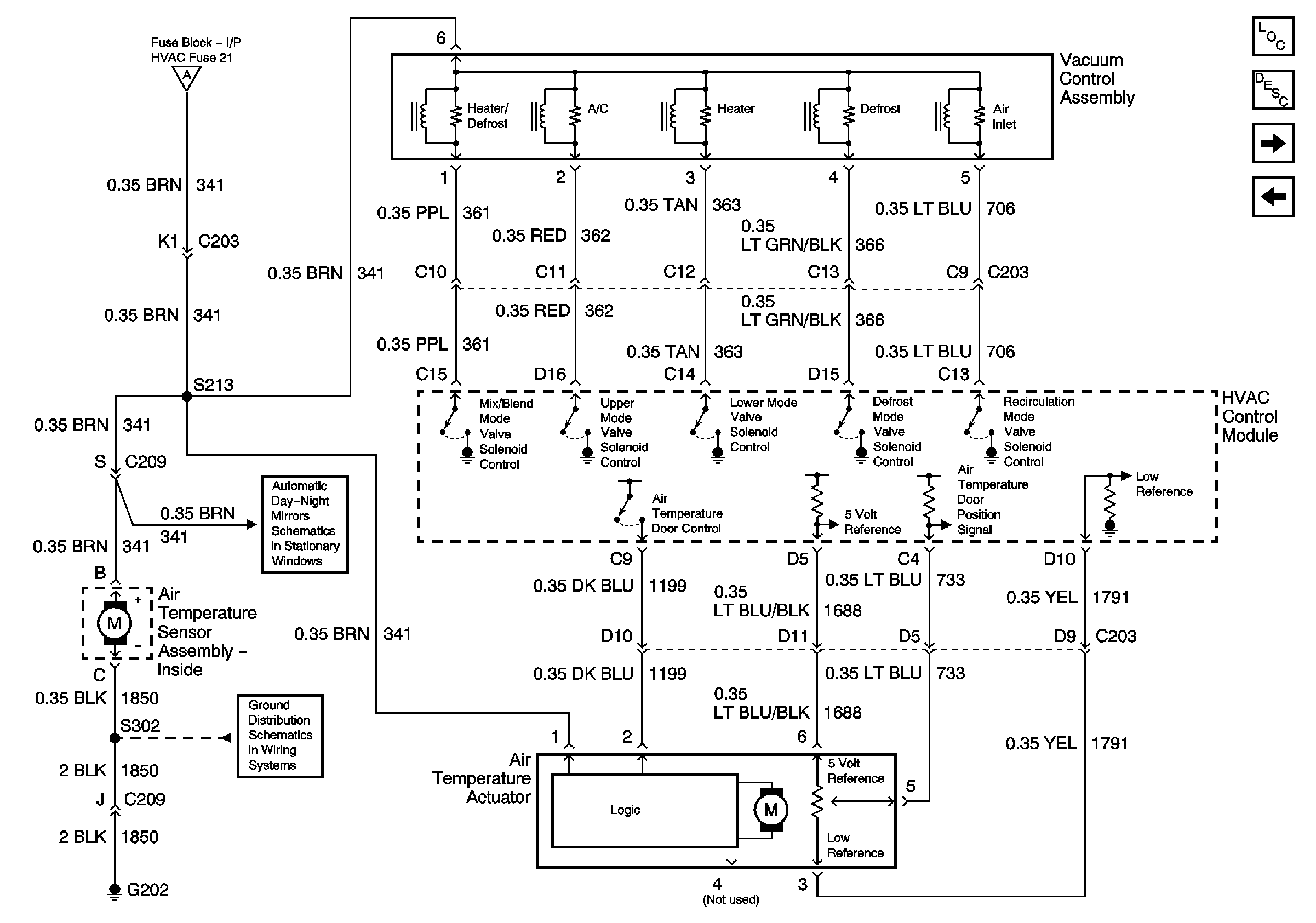
HVAC Control Module, Air Temperature Actuator, Vacuum Control Assembly, Air Temperature Sensor - Inside, and G202

HVAC Control Module, Air Temperature Actuator, Vacuum Control Assembly, Air Temperature Sensor - Inside, and G202


Object Number: 753066  Size: FS
Master Electrical Component List
Air Delivery Description and Operation
HVAC Control Module, Sunload Sensor, and Air Temperature Sensors
A/C Low and High Pressure Switches, A/C Compressor Clutch , D100, Ground, HVAC Module and PCM
Blower Motor, Blower Motor Control, HVAC Control Module, DLC, G203and G204
Automatic Day-Night Mirrors Schematics
G202 and G204