GM Service Manual Online
For 1990-2009 cars only
Makes
🢒
Chevrolet
🢒
2002
🢒
Blazer - 4WD - RHD
🢒 Power and Ground
Power and Ground
Power and Ground
Master Electrical Component List
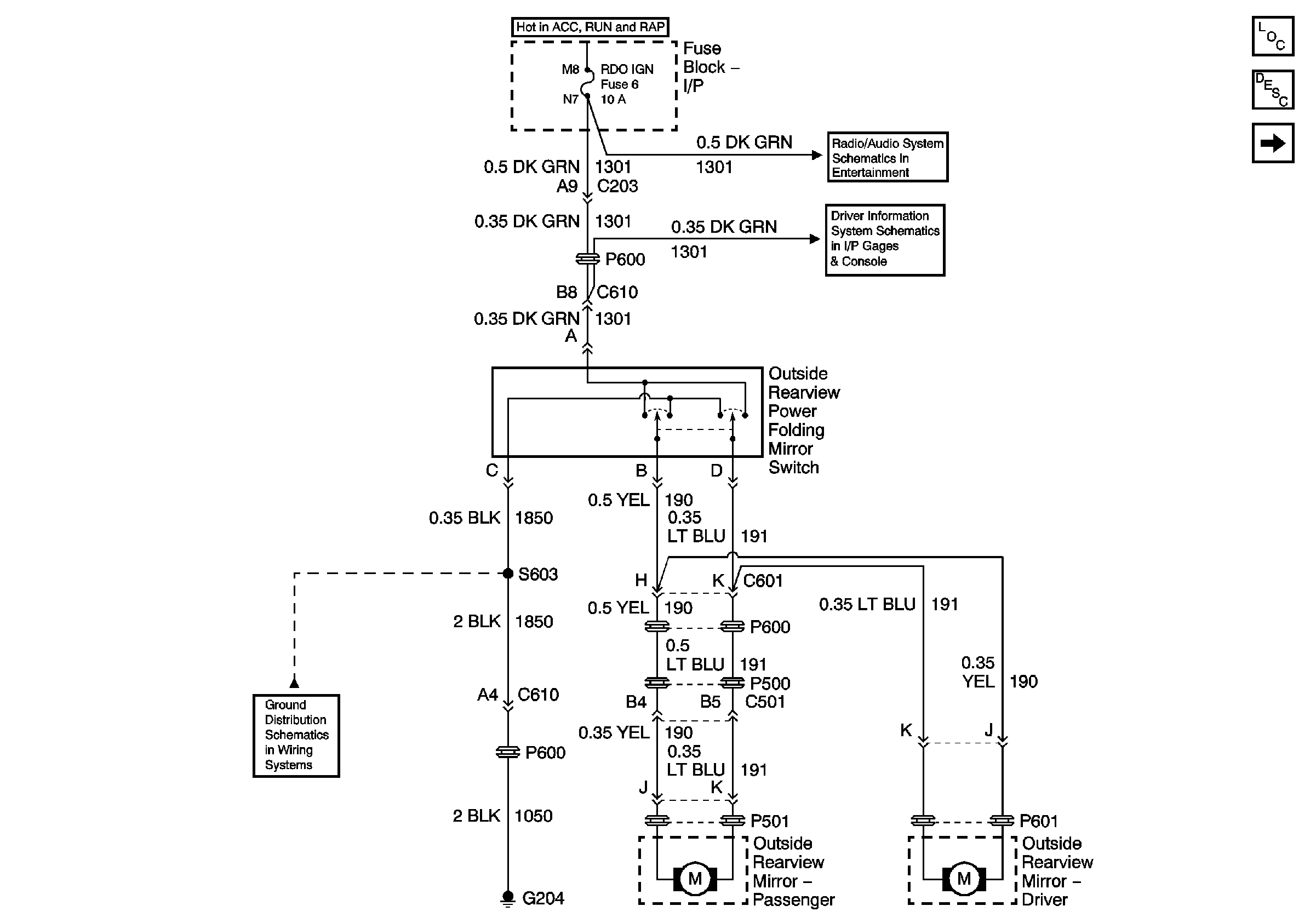
Outside Mirror Description and Operation Folding Mirrors
Heated Mirrors
Radio and Speakers
Driver Information Center Schematics
G202 and G204