GM Service Manual Online
For 1990-2009 cars only
Makes
🢒
Chevrolet
🢒
2001
🢒
Chevy C Cab/Chassis HD (GMT 400)
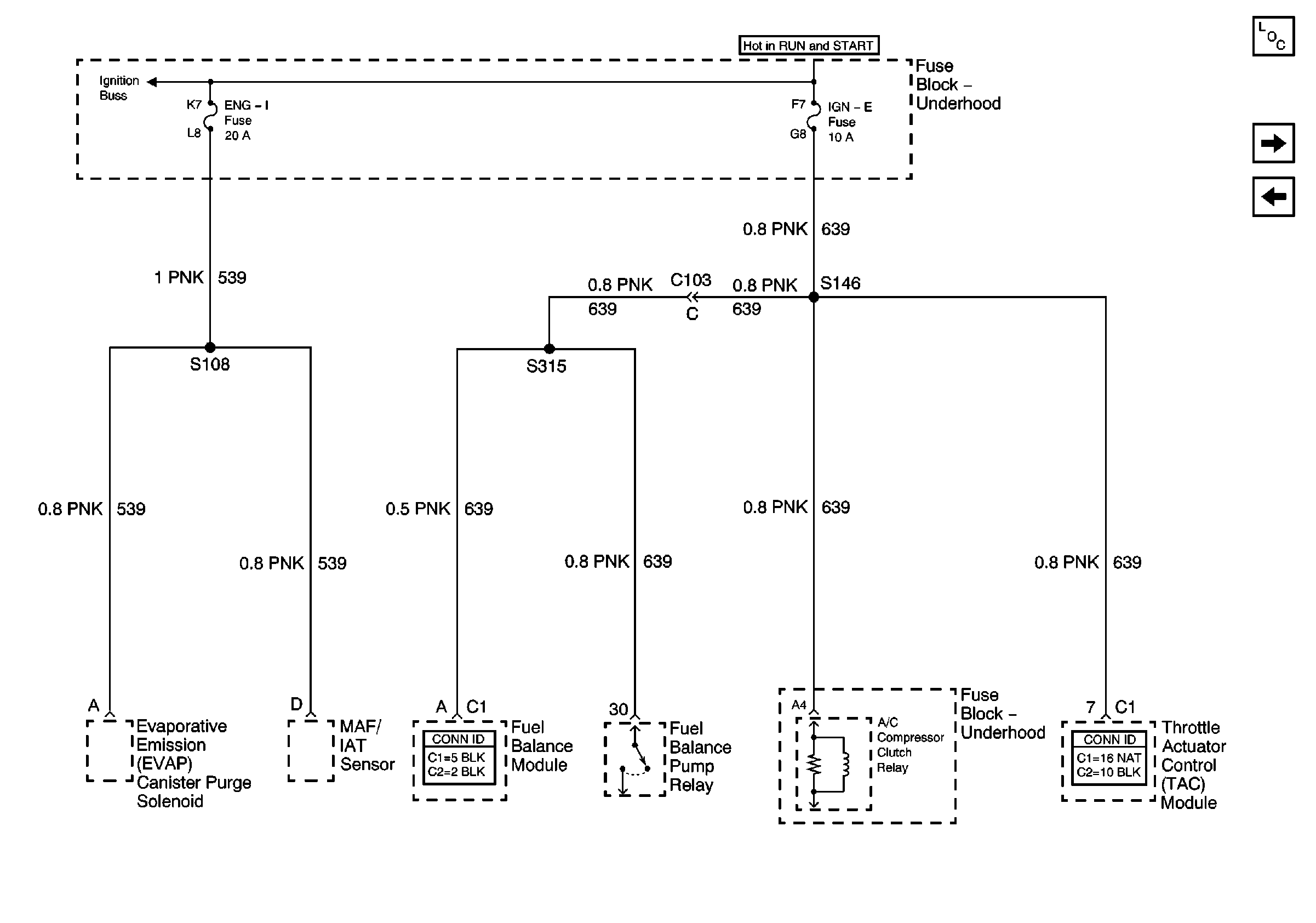
🢒 ENG I and IGN-E Fuse - L18
ENG I and IGN-E Fuse - L18
ENG I and IGN-E Fuse -- L18
IGN A Fuse and Ignition Switch
Master Electrical Component List
IGN-E Fuse - L65
PTO Fuse, and Pwr Accy Circuit Breaker