GM Service Manual Online
For 1990-2009 cars only
Makes
🢒
Chevrolet
🢒
2002
🢒
Chevy C Silverado - 2WD
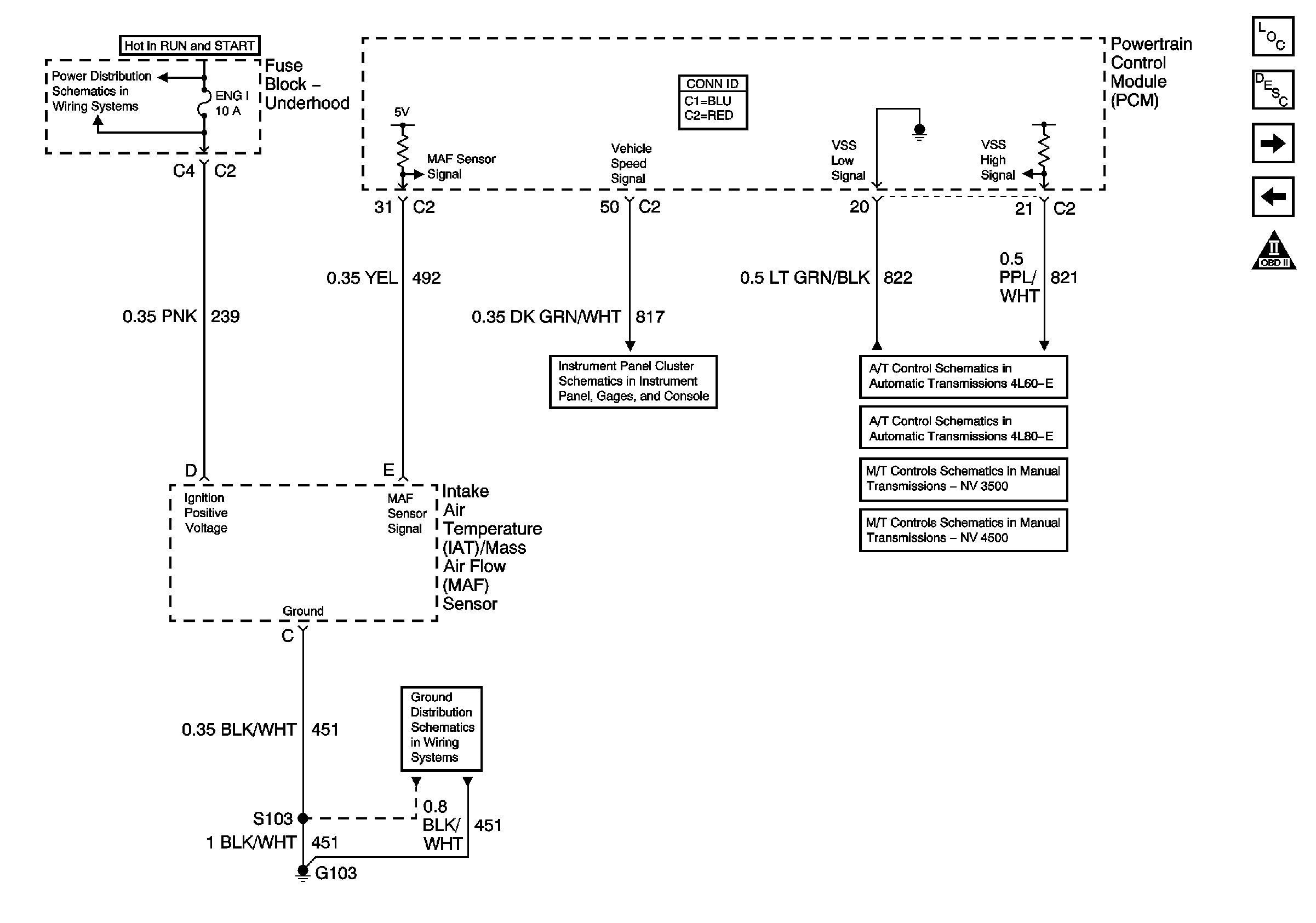
🢒 Engine Data Sensors - MAF and VSS
Engine Data Sensors - MAF and VSS
Engine Data Sensors - MAF and VSS
Master Electrical Component List
Powertrain Control Module Description
Engine Data Sensors - HO2S 4.8, 5.3L w/Case Grounded Sensors
Engine Data Sensors - Pressure and Temperature
OBD II Symbol Description Notice
02B, 02A, ENG 1, and IGN E Fuses - Gas Only
Gages
G103 and G105 - Gas
Vehicle Speed Signal and 4WD Low Signal
Vehicle Speed Signal and 4WD Low Signal
Manual Transmission Schematics
Manual Transmission Schematics