GM Service Manual Online
For 1990-2009 cars only
Makes
🢒
Chevrolet
🢒
2002
🢒
Chevy C Silverado - 2WD
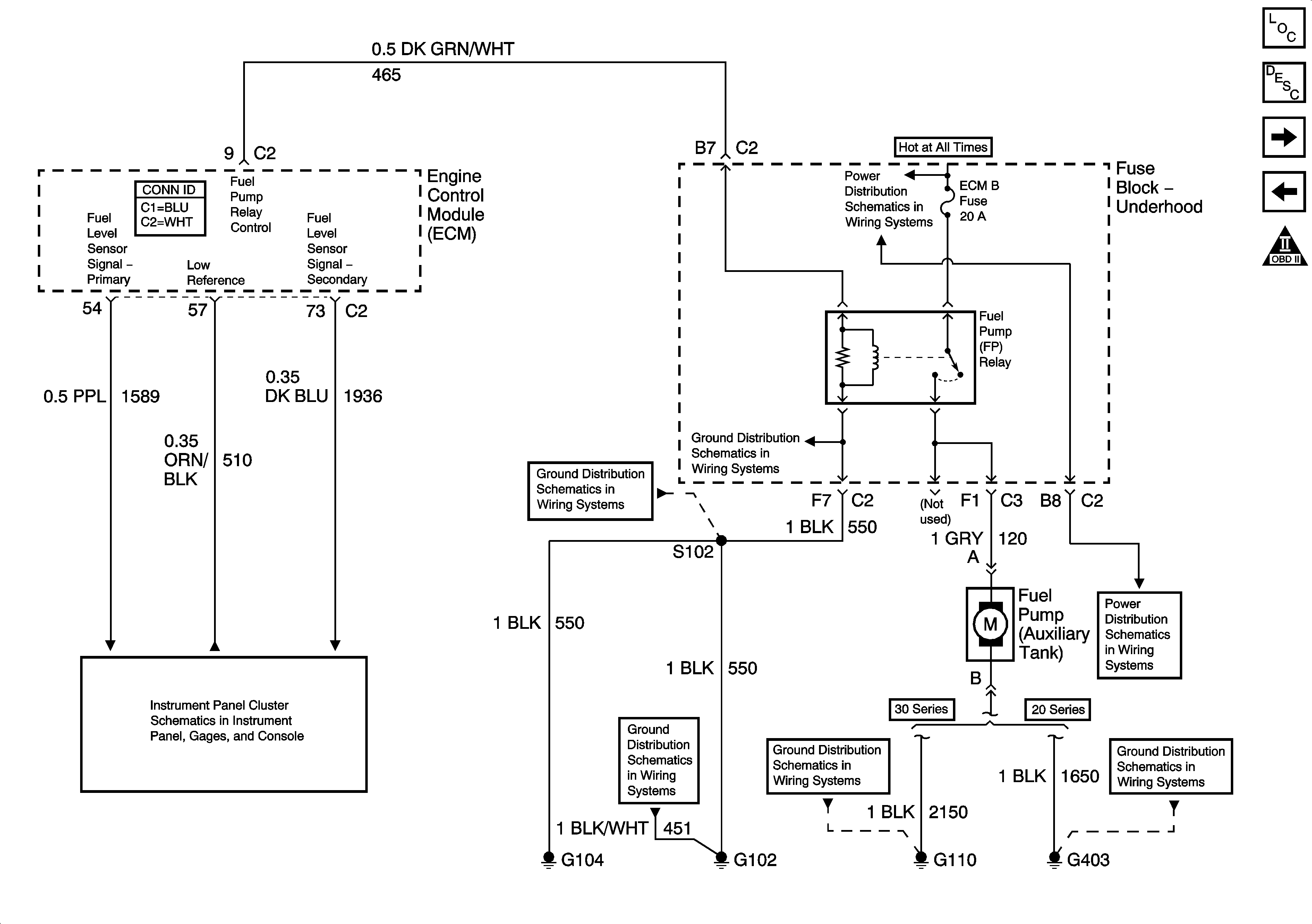
🢒 Fuel Controls - Fuel Pump Controls
Fuel Controls - Fuel Pump Controls
Fuel Controls - Fuel Pump Controls
Master Electrical Component List
Engine Control Module Description
Fuel Controls - Water In Fuel, Fuel Temperature, and Pressure
Engine Data Sensors - Glow Plug Controls - w/California Emissions Only
OBD II Symbol Description Notice
Fuel Gage and Fuel Pump and Sender Assembly
AIR, RTD, RADIO, RDO AMP, ECM B, FRT HVAC, and CIGAR Fuses
G104 - Gas
G104 - Gas
AIR, RTD, RADIO, RDO AMP, ECM B, FRT HVAC, and CIGAR Fuses
G100 and G110
G401