GM Service Manual Online
For 1990-2009 cars only
Makes
🢒
Chevrolet
🢒
2002
🢒
Chevy C Silverado - 2WD
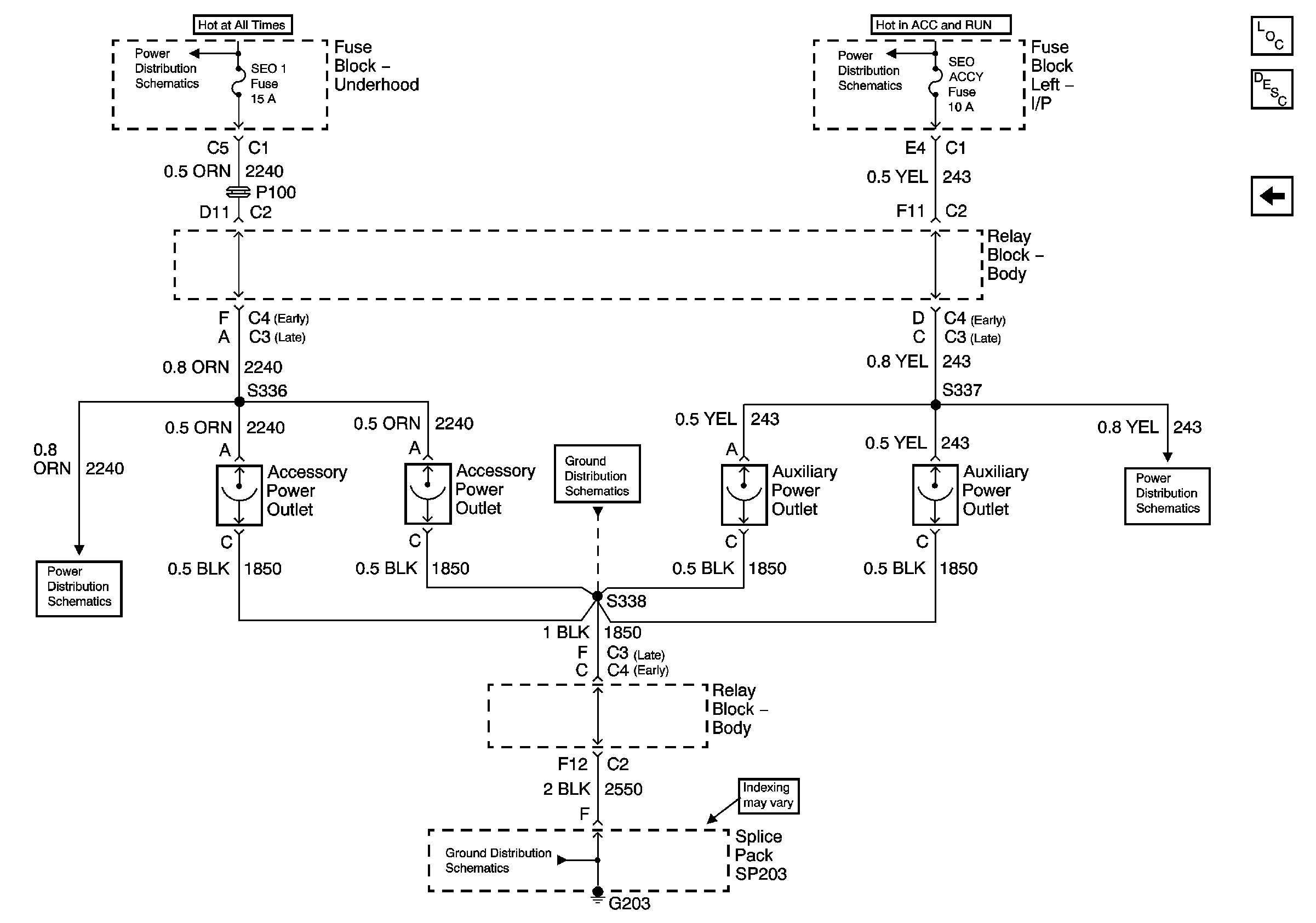
🢒 Sierral Professional Console Outlets
Sierral Professional Console Outlets
Sierra Professional Console Outlets
Master Electrical Component List
Luxury Only
SEO 1, SEO 2, RR HVAC, EXP LPS, ATC, and RR WPR
BRAKE, Cruise, HTR A/C, RR WPR, WS WPR, and SEO ACCY Fuses
SEO 1, SEO 2, RR HVAC, EXP LPS, ATC, and RR WPR
G203 - 3 of 3
BRAKE, Cruise, HTR A/C, RR WPR, WS WPR, and SEO ACCY Fuses
G203 - 1 of 3