GM Service Manual Online
For 1990-2009 cars only
Makes
🢒
Chevrolet
🢒
2002
🢒
Chevy C Silverado - 2WD
🢒 Luxury Only
Luxury Only
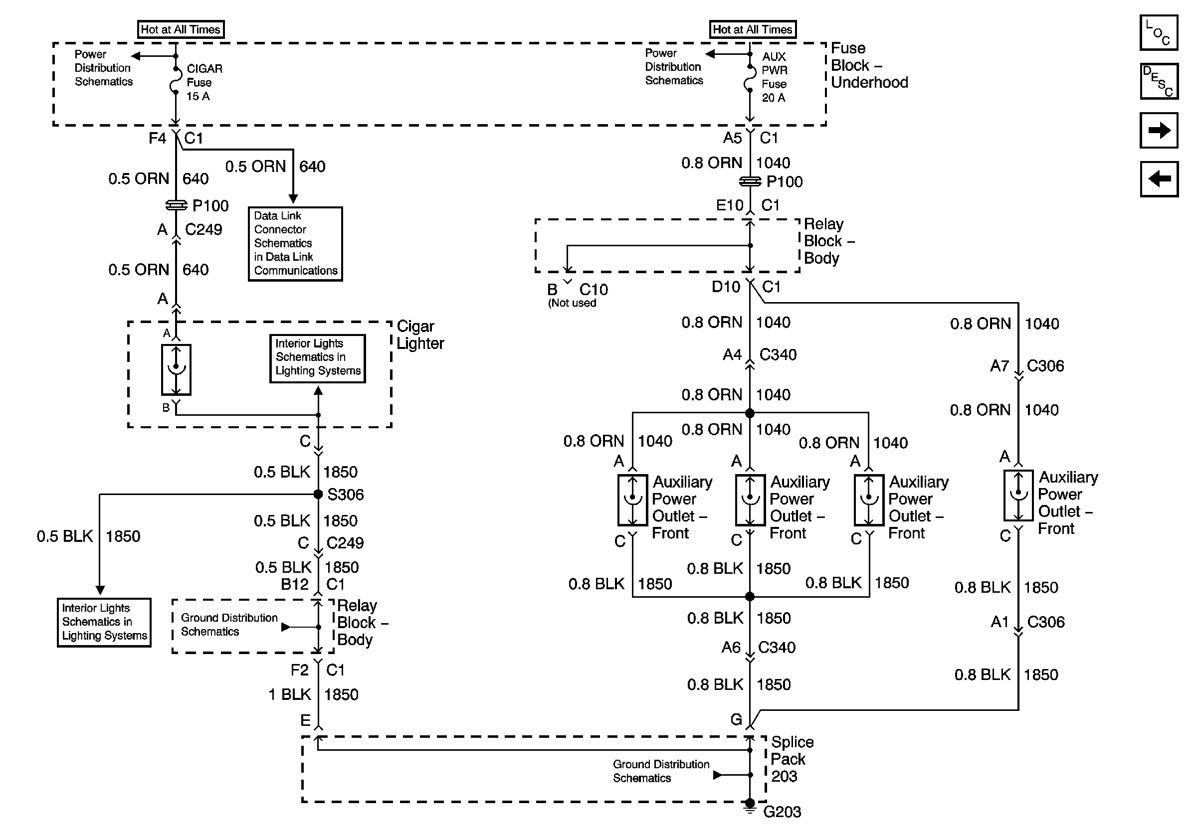
Cigar Lighter/Auxiliary Power Schematics - Sierra Denali only
Master Electrical Component List
Except Luxury
Sierral Professional Console Outlets
AIR, RTD, RADIO, RDO AMP, ECM B, FRT HVAC, and CIGAR Fuses
AUX PWR and HORN Fuses
Power, Ground and SP203
Parklamp Controls - 3 of 3
G203 - 2 of 3 - Uplevel and Crew Cab
G203 - 2 of 3 - Base Except Crew Cab
G203 - 1 of 3