GM Service Manual Online
For 1990-2009 cars only
Makes
🢒
Chevrolet
🢒
2004
🢒
Chevy C Silverado - 2WD
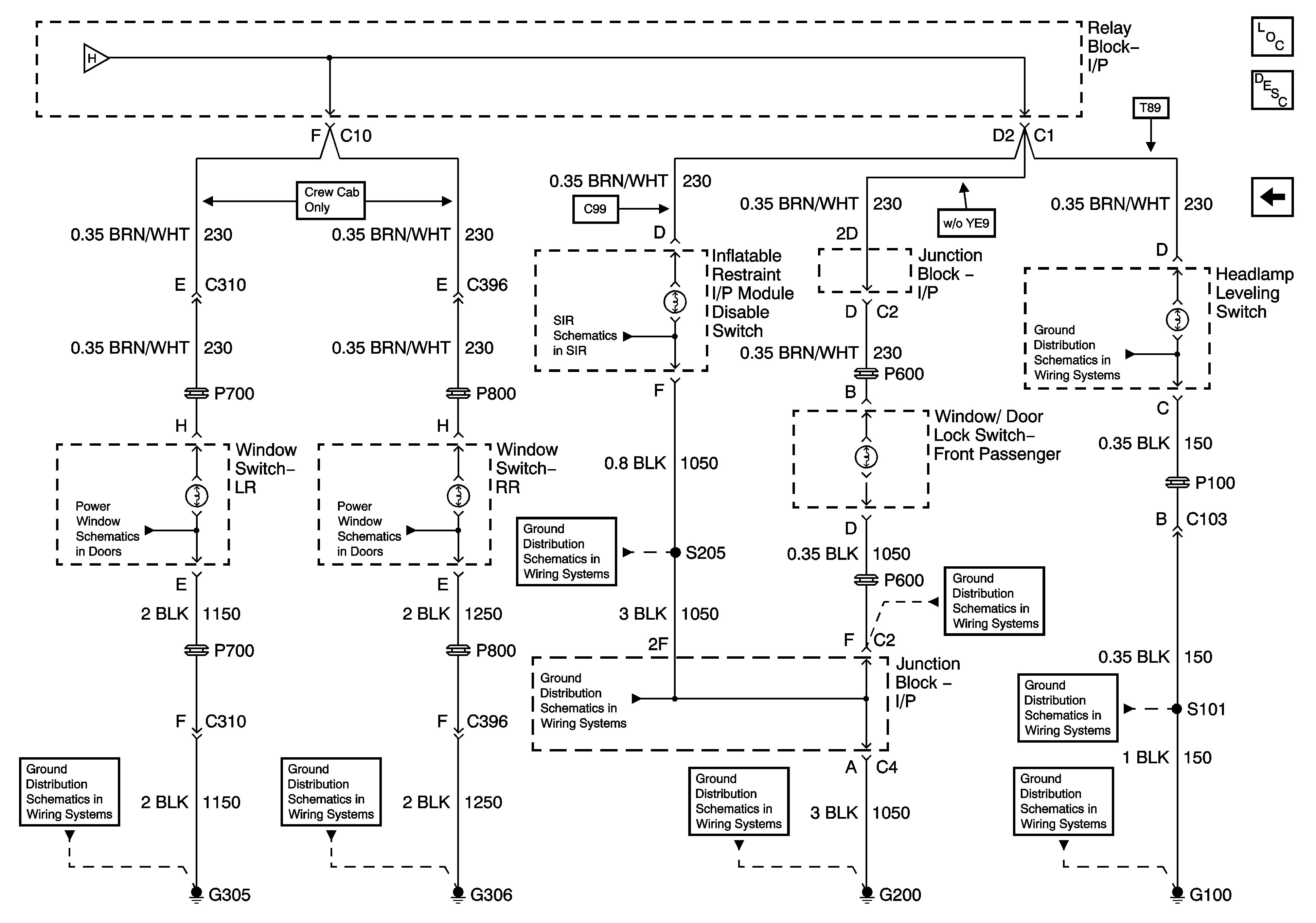
🢒 I/P Dimming Supply Voltage - 6 of 6
I/P Dimming Supply Voltage - 6 of 6
I/P Dimming Supply Voltage - 6 of 6
Master Electrical Component List
Interior Lighting Systems Description and Operation
I/P Dimming Supply Voltage - 5 of 6
I/P Dimming Supply Voltage - 5 of 6
Passenger Presence Schematics - 1 of 3
S101 - Export
Left Door
Right Doors
G200 - 2 of 3
G200 - 1 of 3
G200 - 1 of 3
S101 - Export
G304 and G305
G306, G310, and G390
G200 - 1 of 3
G100 and G101