GM Service Manual Online
For 1990-2009 cars only
Makes
🢒
Chevrolet
🢒
2004
🢒
Chevy C Silverado - 2WD
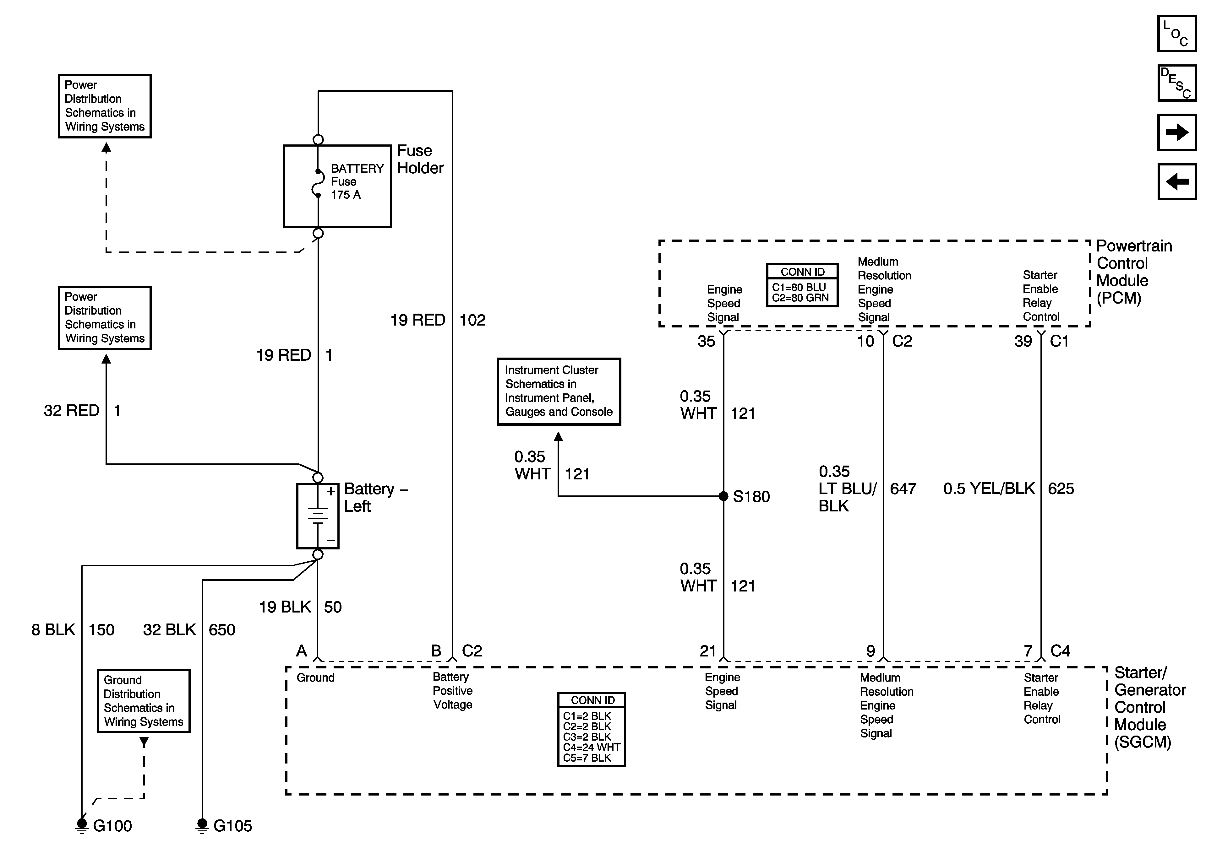
🢒 Engine Speed Signal and Accessory Battery Charging
Engine Speed Signal and Accessory Battery Charging
Engine Speed and Accessory Battery Charging
Master Electrical Component List
Generator Battery Carrier Description and Operation
Starting - 1 of 2
Energy Storage Control Module Power, Ground and Serial Data and Battery Temperature and Venting
Battery Supply - 1 of 2
Battery Supply - 1 of 2
Gages
G100 and G101