GM Service Manual Online
For 1990-2009 cars only
Makes
🢒
Chevrolet
🢒
1998
🢒
Chevy P42 Commercial Chassis
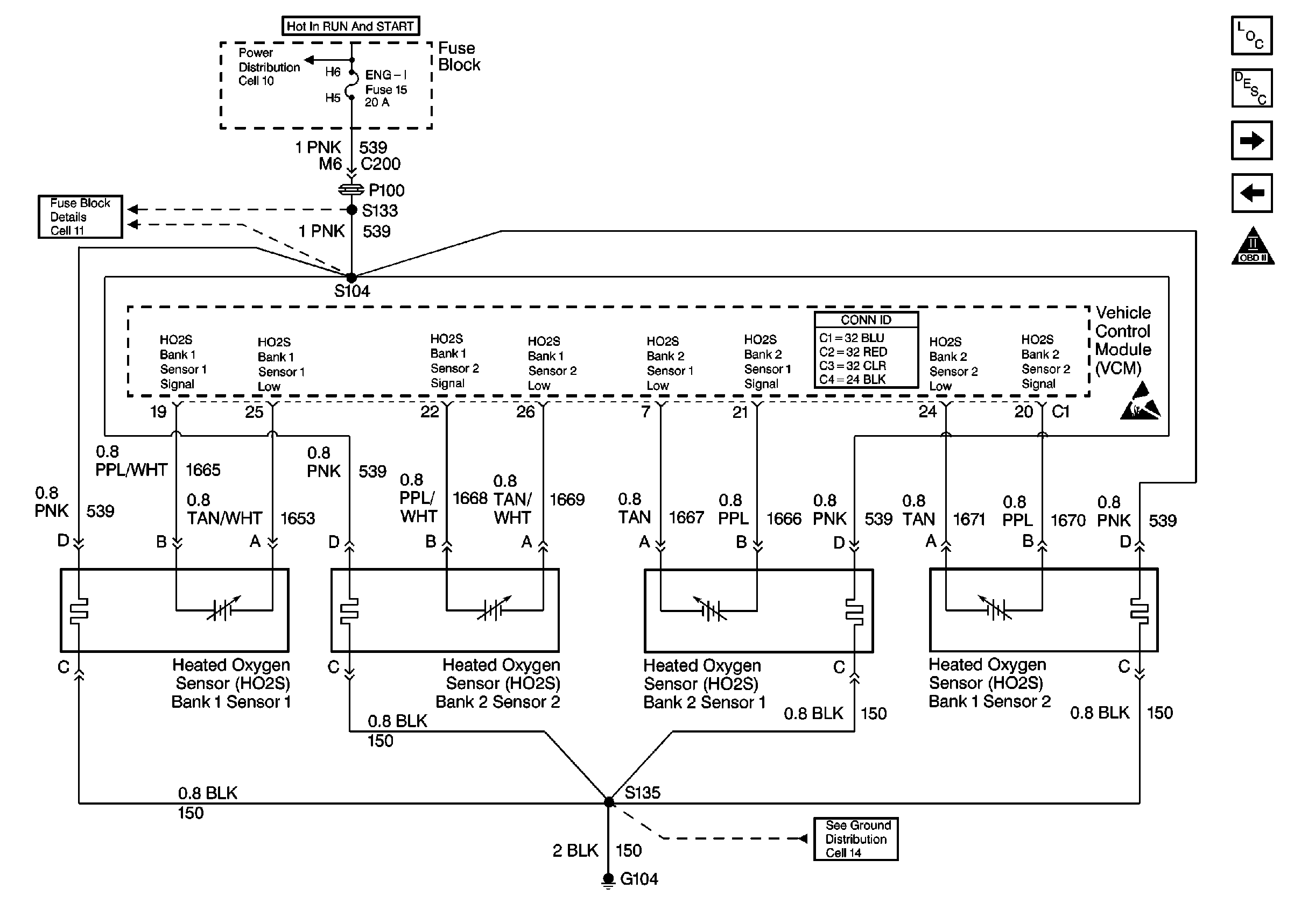
🢒 Cell 21: Engine Data Sensors 2- Heated Oxygen Sensors
Cell 21: Engine Data Sensors 2- Heated Oxygen Sensors
Cell 21: Engine Data Sensors 2-- Heated Oxygen Sensors
Engine Controls Components
Information Sensors/Switches Description
Cell 21: Engine Data Sensors 3- MAF and IAC Circuits
Cell 21: Engine Data Sensors 1- MAP, IAT, TP Sensor, and ECT
OBD II Symbol Description Notice
Cell 11: ENG-I fuse
Cell 10: Ignition Switch and Fuse Block
Handling ESD Sensitive Parts Notice
Cell 14: G104 [L29]