GM Service Manual Online
For 1990-2009 cars only
Makes
🢒
Chevrolet
🢒
2000
🢒
Corvette
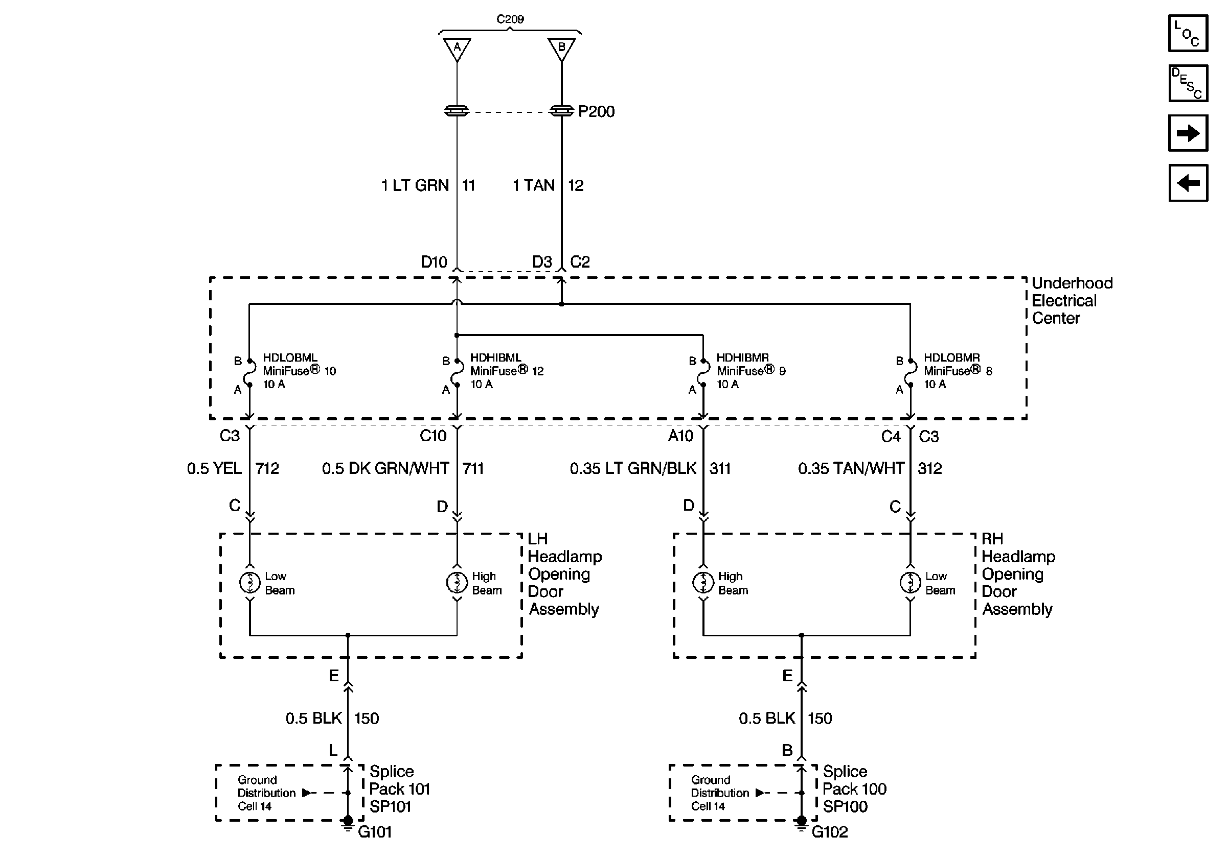
🢒 Cell 102: High and Low Beams
Cell 102: High and Low Beams
Cell 102: High and Low Beams
Lighting Systems Components
Cell 102: DRL Domestic and Export
Cell 102: Headlamp Switch and Ambient Light Sensor
Cell 102: Headlamp Switch and Ambient Light Sensor
Cell 14: SP101, SP100, G101, G102
Cell 14: SP101, SP100, G101, G102