GM Service Manual Online
For 1990-2009 cars only
Makes
🢒
Chevrolet
🢒
2002
🢒
Corvette
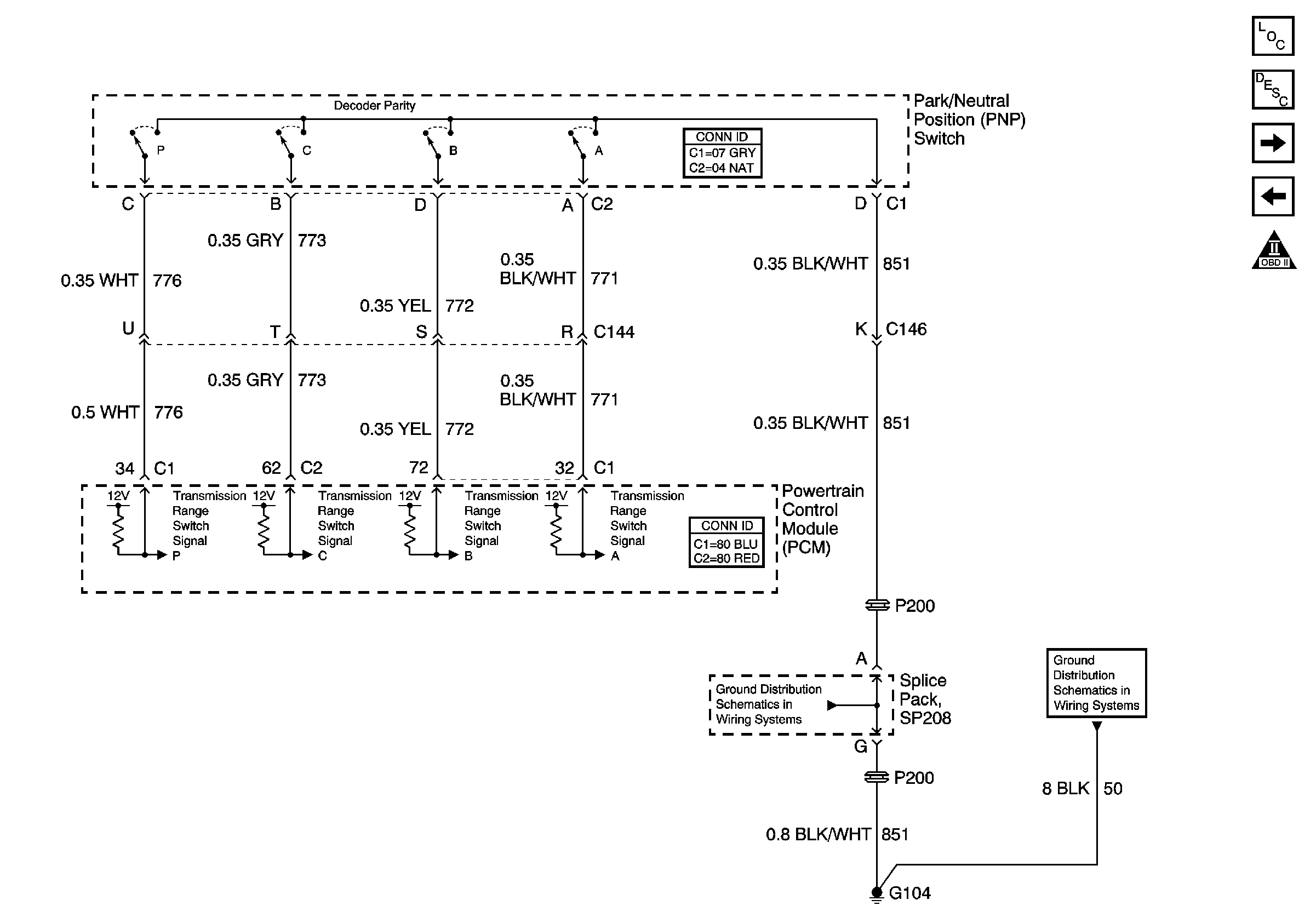
🢒 Transmission Controls - PNP Switch
Transmission Controls - PNP Switch
Transmission Controls -- PNP Switch
Master Electrical Component List
Powertrain Control Module Description
Transmission Controls - M/T and A/T
Controlled/Monitored Subsystem References
Engine Controls Schematic Icons
G104