GM Service Manual Online
For 1990-2009 cars only
Makes
🢒
Chevrolet
🢒
2002
🢒
Corvette
🢒 Transmission Controls - M/T and A/T
Transmission Controls - M/T and A/T
Transmission Controls -- M/T and A/T
Master Electrical Component List
Powertrain Control Module Description
Transmission Controls - PNP Switch
Engine Controls Schematic Icons
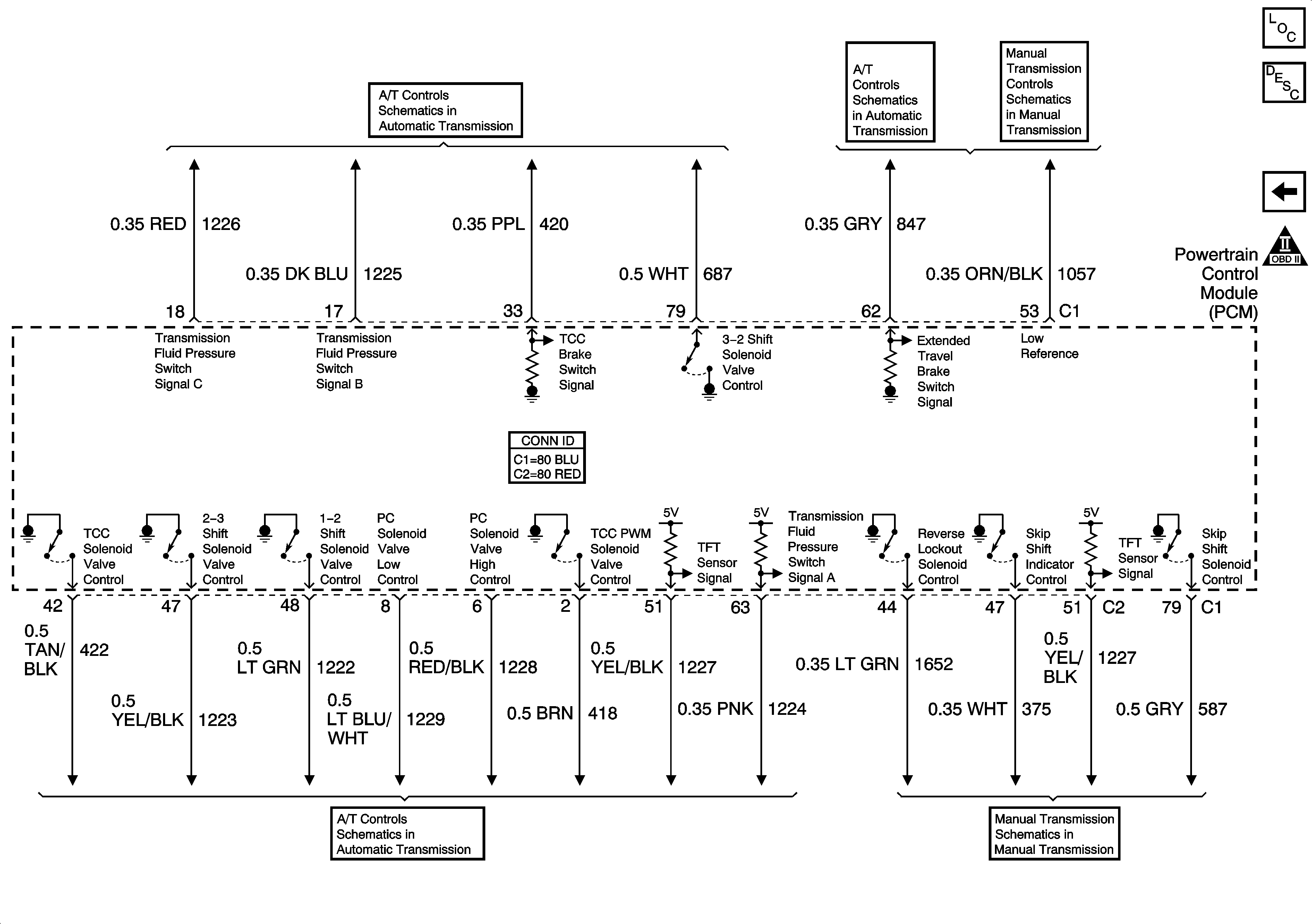
Transmission Valve Controls
Torque Convertor Clutch (TCC) Control Switch
Manual Transmission Schematics (MM6)
Automatic Transmission Fluid Pressure (TFP) Manual Valve Position Switch and Pressure Control Solenoid (PC SOL) Valve
Manual Transmission Schematics (MM6)