GM Service Manual Online
For 1990-2009 cars only
Makes
🢒
Chevrolet
🢒
2000
🢒
Express
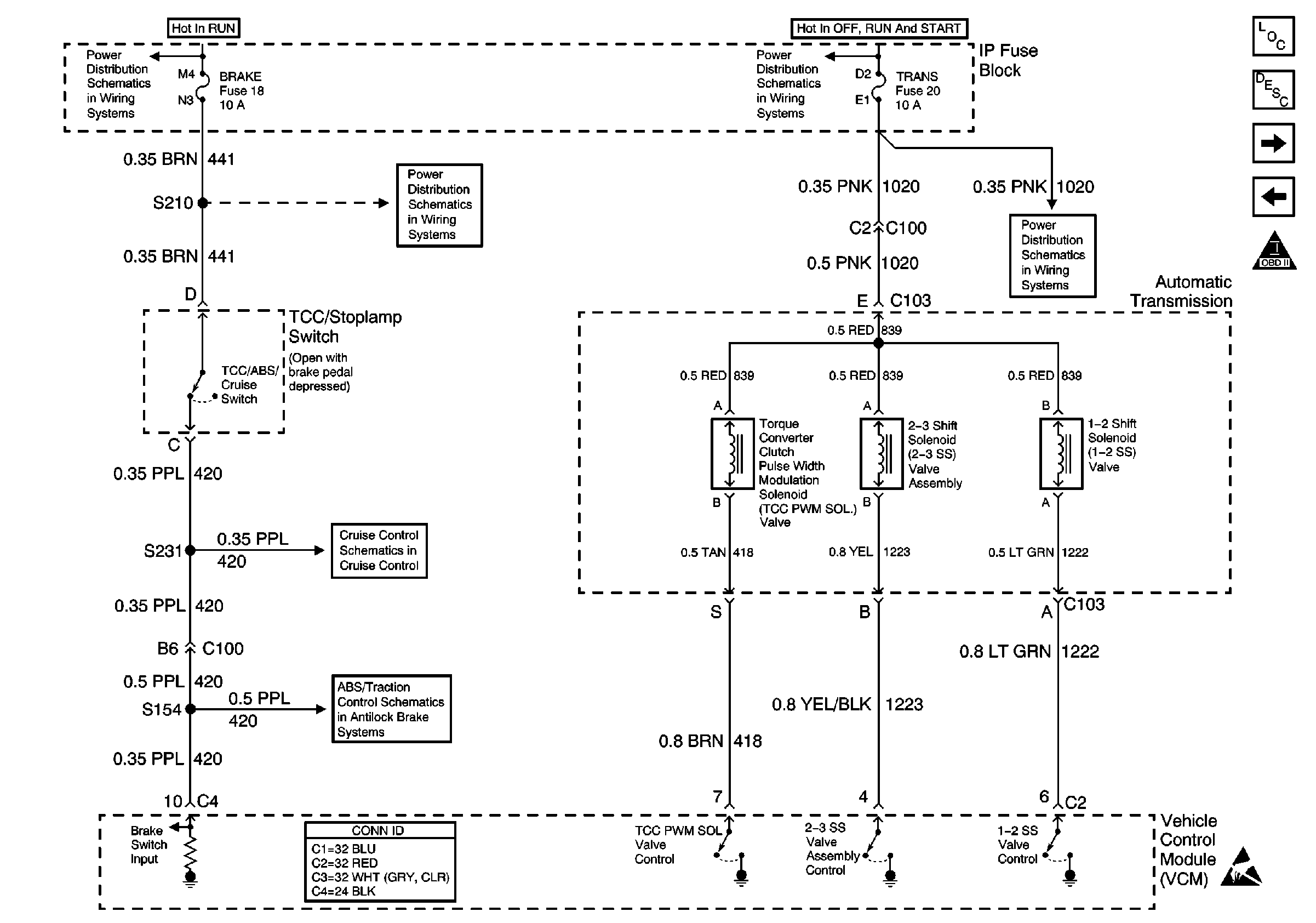
🢒 4L80-E Transmission Solenoid Controls
4L80-E Transmission Solenoid Controls
4L80-E Transmission Solenoid Controls
Engine Controls Components
Vehicle Control Module Description
4L80-E Transmission Switch Controls
Secondary AIR Controls
OBD II Symbol Description Notice
IGN A, IGN B Fuses, and Ignition Switch
IGN A, IGN B Fuses, and Ignition Switch
CRUISE, HTR A/C, and BRAKE Fuses
RADIO 1, WIPER, TRANS, and CRANK Fuses
Cruise Control System-Gasoline Engines
ABS System Schematics (IP, VCM, EBCM, and VSS)
Handling ESD Sensitive Parts Notice