GM Service Manual Online
For 1990-2009 cars only
Makes
🢒
Chevrolet
🢒
2000
🢒
Impala
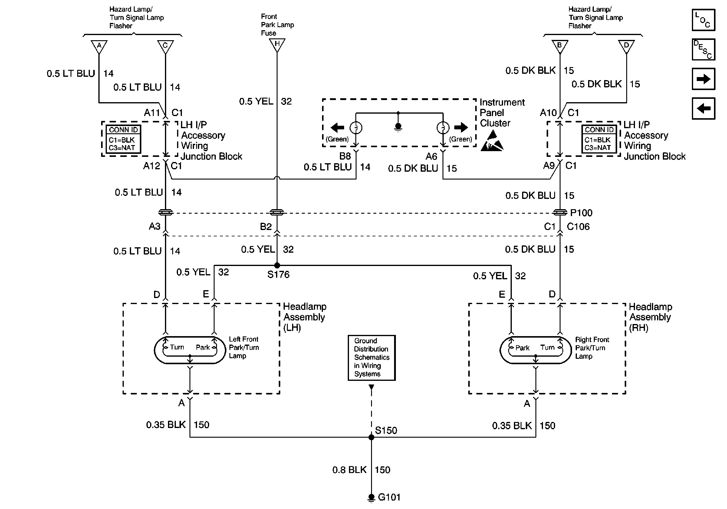
🢒 Front Park, Turn/Hazard Lamps - 4 Door
Front Park, Turn/Hazard Lamps - 4 Door
Front Park, Turn/Hazard Lamps -- 4 Door
Stationary Windows Components
Exterior Lights Circuit Description
Rear Lamps - 4 Door
Turn/Hazard Lamps Control - 4 Door
Turn/Hazard Lamps Control - 4 Door
Turn/Hazard Lamps Control - 4 Door
Park Lamps Control
G101 (1 of 2)
Turn/Hazard Lamps Control - 4 Door
Turn/Hazard Lamps Control - 4 Door