GM Service Manual Online
For 1990-2009 cars only
Makes
🢒
Chevrolet
🢒
2002
🢒
Impala
🢒 Load Management
Load Management
Load Management
Master Electrical Component List
Load Shed System Description and Operation
Charging Control and Indicator
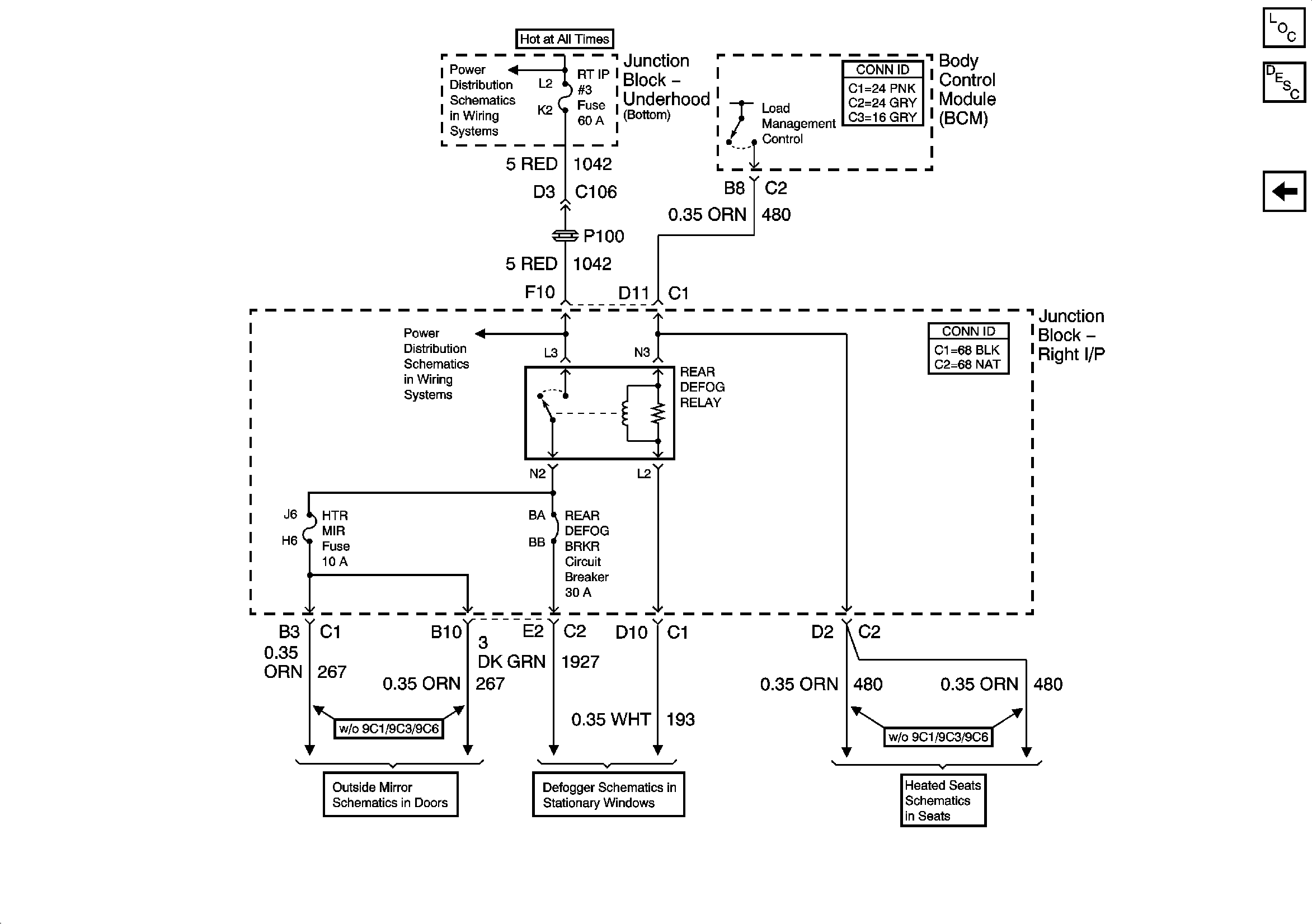
HTD MIR, RADIO, and RT IP#3 Fuses, REAR DEFOG Circuit Breaker, and REAR DEFOG Relay
Driver Seat (Impala)
Heated Mirrors
Defogger Schematics