GM Service Manual Online
For 1990-2009 cars only
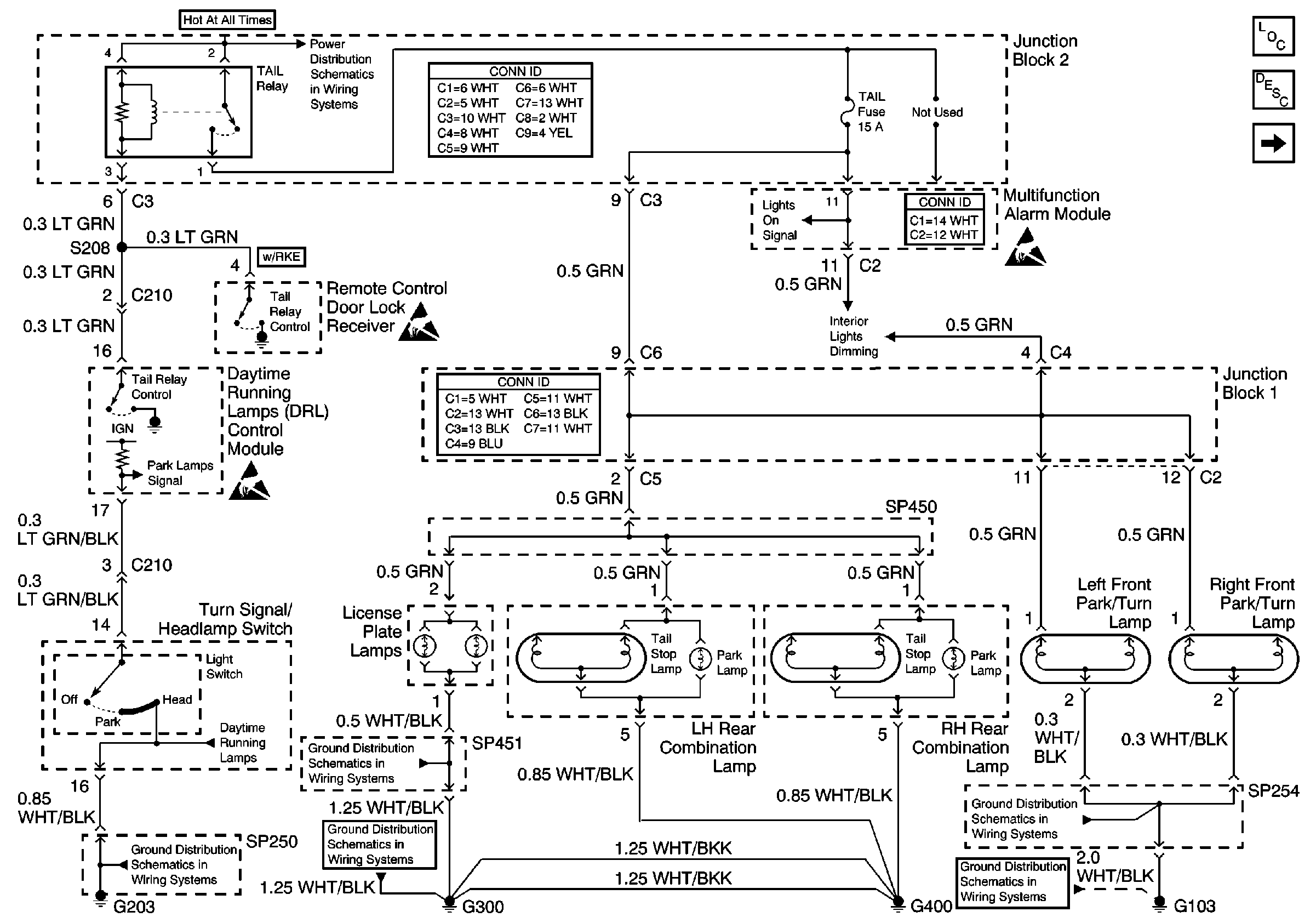
Figure 1:

DRL Control Module, Remote Control Door Lock Reciever, Tail, and Light


Object Number: 626245  Size: FS
Lighting Systems Component Views
Exterior Lights Circuit Description
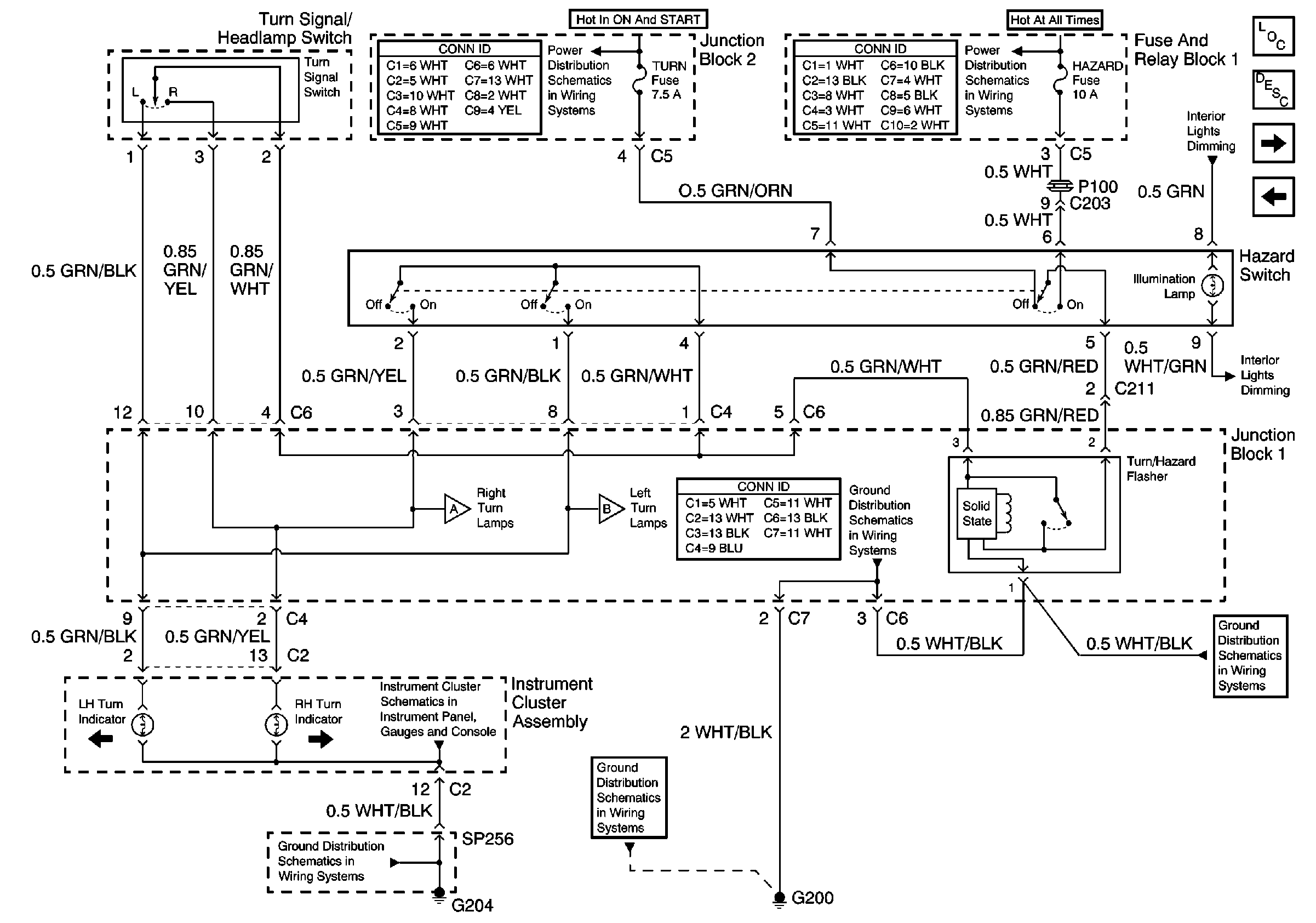
Hazard Switch, Turn/Hazard Flasher, and Turn Signal Switch
Handling ESD Sensitive Parts Notice
Handling ESD Sensitive Parts Notice
Handling ESD Sensitive Parts Notice
Cell 10: ABS, Alt, AMI, Def, D/L, ECU-B, HTR, ODB, Power, and Stop Fuses
Cell 14: G200, G203, SP250 and SP650
Cell 14: G300, G400, G301, and SP451
Cell 14: G300, G400, G301, and SP451
Cell 14: Battery, G100, G101, G102, G103, and G104
Cell 14: SP254 and SP261
Cell 102: Light Switch, Dimmer Switch DRL Control Module
Cell 117: DRL Control Module, IP Lamp Dimmer, and Turn Signal/Combination Switch
Figure 2:

Hazard Switch, Turn/Hazard Flasher, and Turn Signal Switch


Object Number: 626246  Size: FS
Lighting Systems Component Views
Exterior Lights Circuit Description
Lamps
DRL Control Module, Remote Control Door Lock Receiver, Tail, and Light
Cell 10: Alt-S, AM2, Dome, EFI, Hazard, Horn, and Main Fuses
Cell 10: Alt-S, AM2, Dome, EFI, Hazard, Horn, and Main Fuses
Cell 14: G200, G203, SP250 and SP650
Cell 14: G204 and SP256
Cell 14: G204 and SP256
Cell 14: G204 and SP256
Cell 117: Ashtray, Cigar Lighter, and Manual Selector Illumination Lamps
Cell 117: Ashtray, Cigar Lighter, and Manual Selector Illumination Lamps
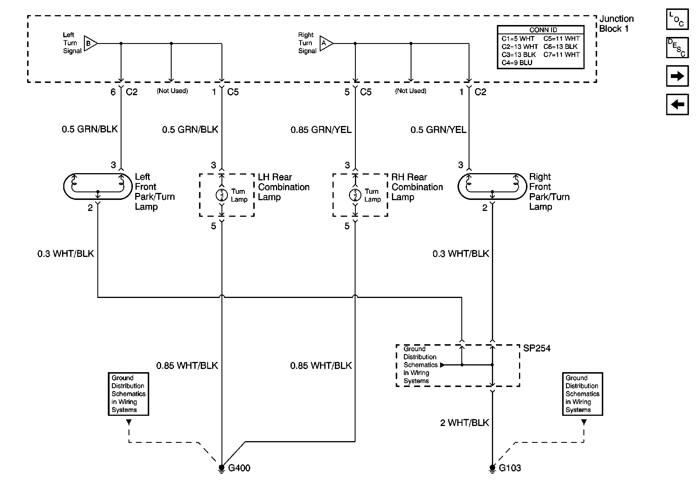
Cell 81: Turn, High Beam, Defogger, Brake, and Seat Belt Indicator
Figure 3:

Lamps


Object Number: 626249  Size: FS
Lighting Systems Component Views
Exterior Lights Circuit Description
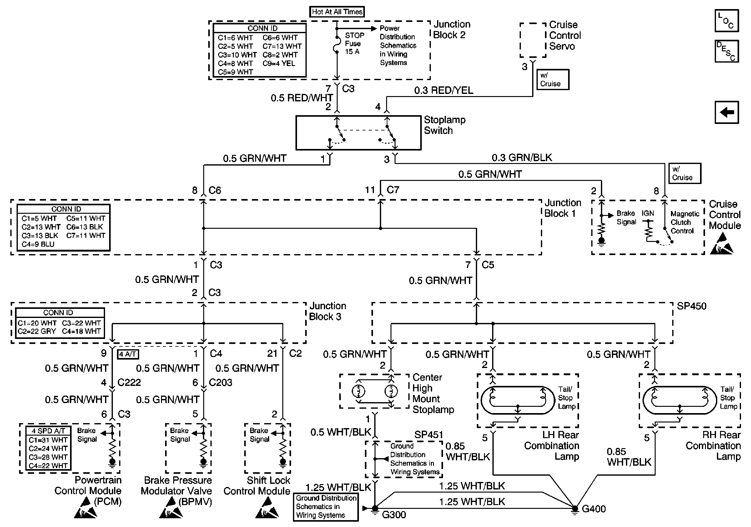
Cruise Control Module and Stoplamp Switch
Hazard Switch, Turn/Hazard Flasher, and Turn Signal Switch
Cell 14: G300, G400, G301, and SP451
Cell 14: SP254 and SP261
Cell 14: Battery, G100, G101, G102, G103, and G104
Figure 4:

Cruise Control Module and Stoplamp Switch


Object Number: 626252  Size: FS
Lighting Systems Component Views
Exterior Lights Circuit Description
Lamps
Handling ESD Sensitive Parts Notice
Handling ESD Sensitive Parts Notice
Handling ESD Sensitive Parts Notice
Handling ESD Sensitive Parts Notice
Cell 14: G300, G400, G301, and SP451
Cell 14: G300, G400, G301, and SP451
Cell 10: ABS, Alt, AMI, Def, D/L, ECU-B, HTR, ODB, Power, and Stop Fuses