GM Service Manual Online
For 1990-2009 cars only
Makes
🢒
Chevrolet
🢒
2000
🢒
Prizm
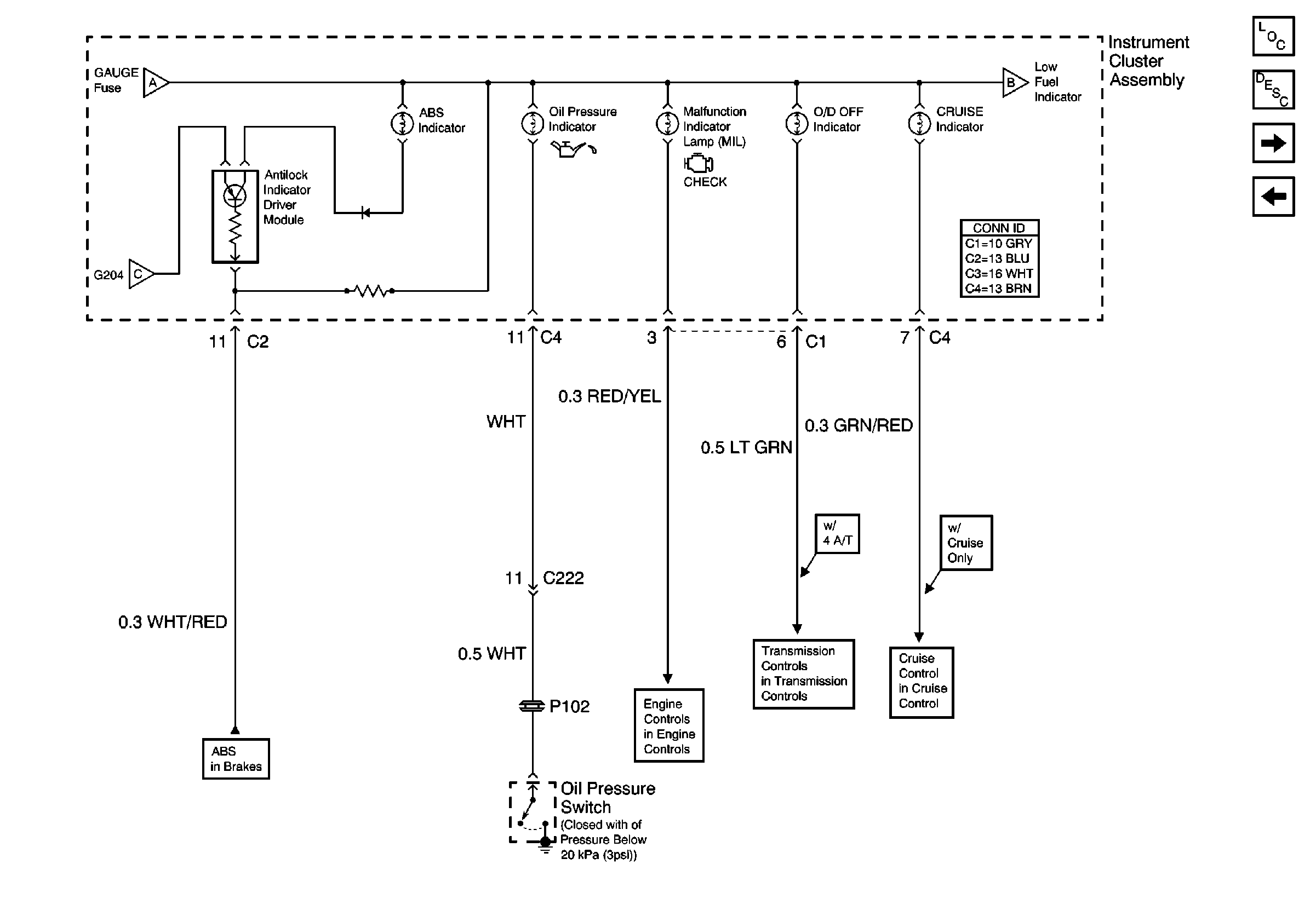
🢒 ABS, Oil Pressure, MIL, O/D OFF, and Cruise Indicators
ABS, Oil Pressure, MIL, O/D OFF, and Cruise Indicators
ABS, Oil Pressure, MIL, O/D OFF, and Cruise Indicators
Instrument Panel, Gages, and Console Component Views
Instrument Cluster Circuit Description
Temperature Gauge, Speedometer, and Low Fuel Indicator
Turn, High Beam, Defogger, Brake, and Seat Belt Indicator
Cell 44: ABS Indicator Control, ABS Lamp Driver Relay, ABS Warning Indicator, and BPMV
Cell 20: MIL and DLC
Cell 39: EFI Relay and PCM
Cell 34: Cruise Control Servo, PNP Switch, CPP Interrupt Switch, and Stoplamp Switch