GM Service Manual Online
For 1990-2009 cars only
Makes
🢒
Chevrolet
🢒
2000
🢒
S10 Pickup - 2WD
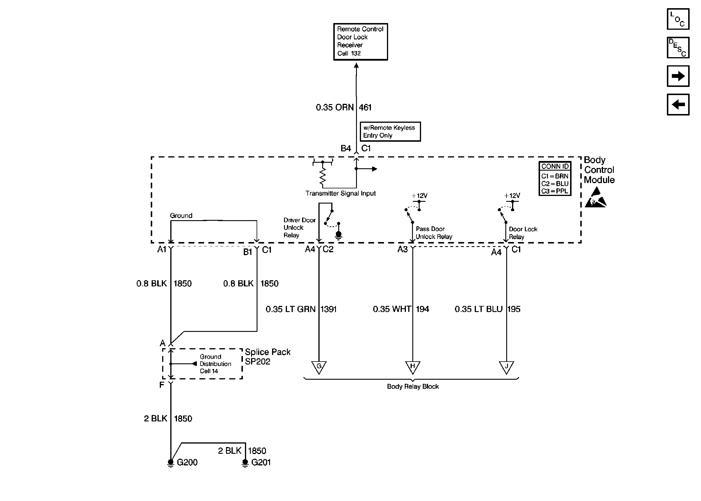
🢒 Cell 130: BCM Inputs and Outputs
Cell 130: BCM Inputs and Outputs
Cell 130: BCM Inputs and Outputs
Cell 132
Body Control System Connector End Views
Handling ESD Sensitive Parts Notice
Power Door Systems Components
Power Door Locks Circuit Description
Cell 130: Relay Control
Cell 130: Liftgate/Endgate Lock Cylinder Switch Inputs
Cell 130: Relay Control
Cell 130: Relay Control
Cell 130: Relay Control
Cell 14: G200, G201 and G207 (Pickup)