GM Service Manual Online
For 1990-2009 cars only
Makes
🢒
Chevrolet
🢒
2000
🢒
S10 Pickup - 2WD
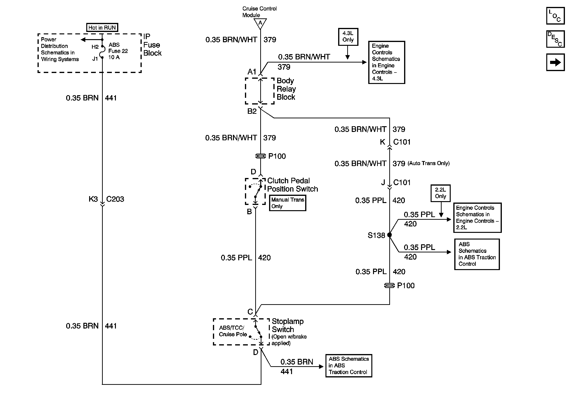
🢒 Clutch Pedal Position Switch and Stoplamp Switch
Clutch Pedal Position Switch and Stoplamp Switch
Clutch Pedal Position Switch and Stoplamp Switch
Cruise Control Components
Cruise Control System Circuit Description
Cruise Control Module and PCM/VCM
RR WPR, FRT WPR and ABS Fuses
Cruise Control Module and PCM/VCM
Brake Switch Input
IAC, EVAP Valve Controls, and Brake Switch Input w/ A/T
Power and Ground (325 ABS)
Power and Ground (325 ABS)