GM Service Manual Online
For 1990-2009 cars only
Makes
🢒
Chevrolet
🢒
1999
🢒
S10 - Electric
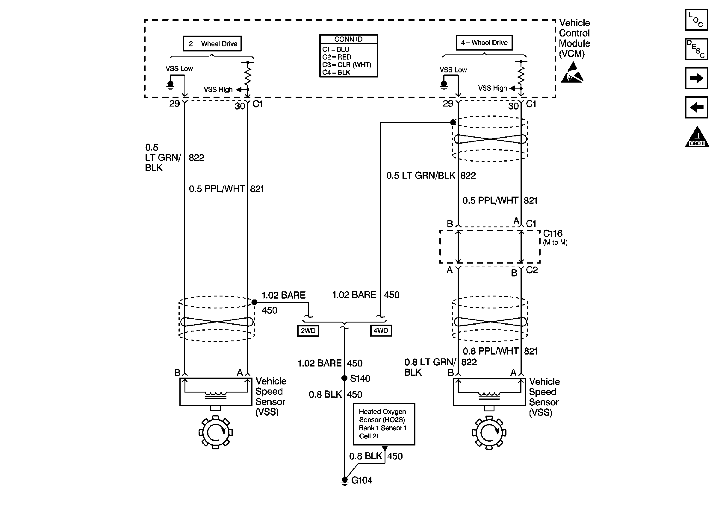
🢒 Cell 21: Vehicle Speed Sensor
Cell 21: Vehicle Speed Sensor
Cell 21: Vehicle Speed Sensor
VCM Connector End Views
Handling ESD Sensitive Parts Notice
Engine Controls Components
Vehicle Control Module Description
Cell 21: EGR and EVAP Valves
Cell 21: AIR Pump Control
OBD II Symbol Description Notice
Cell 21: Heated Oxygen Sensors