GM Service Manual Online
For 1990-2009 cars only
Makes
🢒
Chevrolet
🢒
1999
🢒
Tracker - 2WD
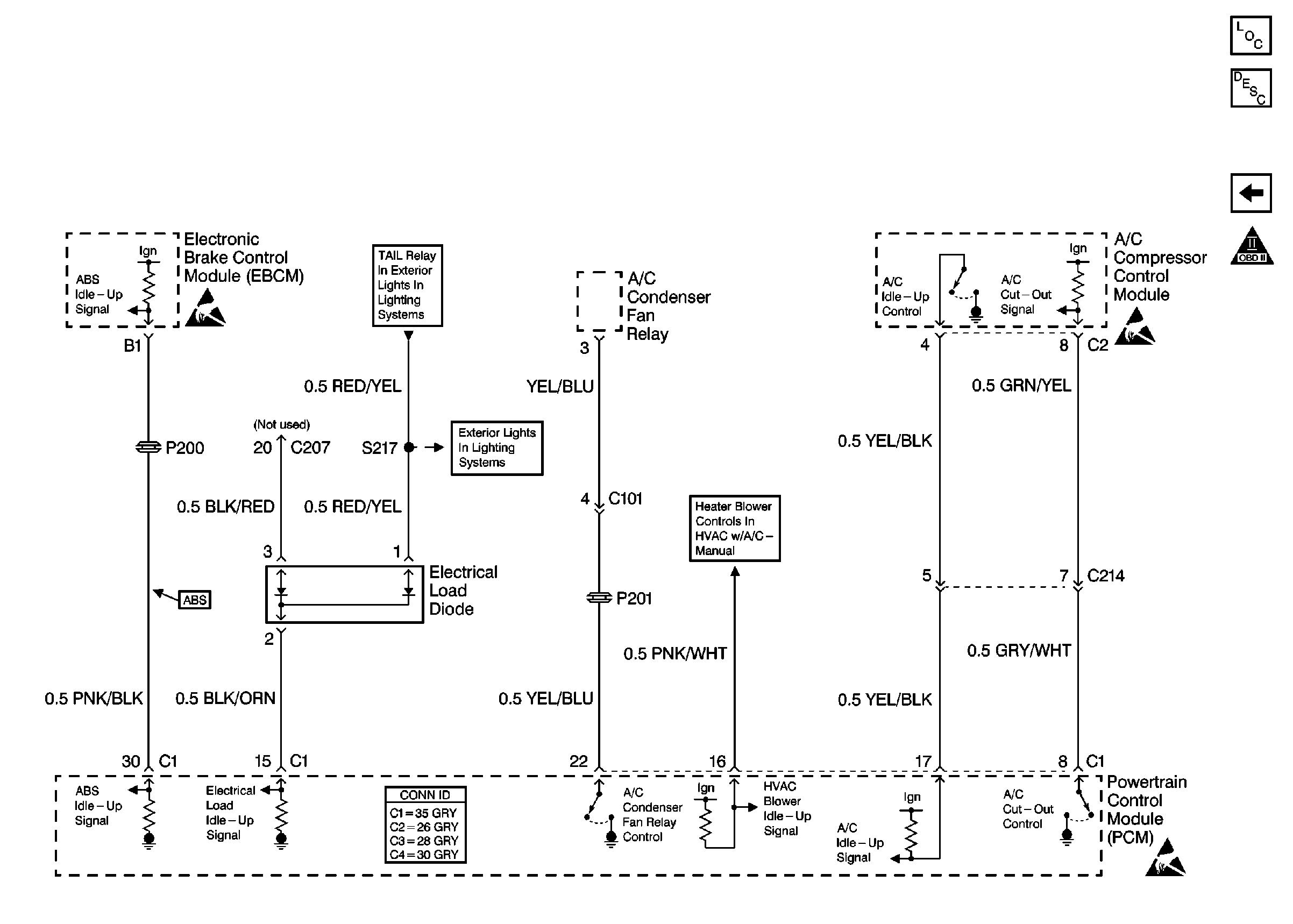
🢒 A/C Controls and Idle-Up Signals
A/C Controls and Idle-Up Signals
A/C Controls and Idle-Up Signals
Engine Controls Components
Four Wheel Drive Inputs/Outputs
Handling ESD Sensitive Parts Notice
Handling ESD Sensitive Parts Notice
Handling ESD Sensitive Parts Notice
Ground, A/C and Pressure Switches
Front Park Lamps
Front Park Lamps
Handling ESD Sensitive Parts Notice
ABS Schematics