GM Service Manual Online
For 1990-2009 cars only
Makes
🢒
Chevrolet
🢒
2001
🢒
Tracker - 2WD
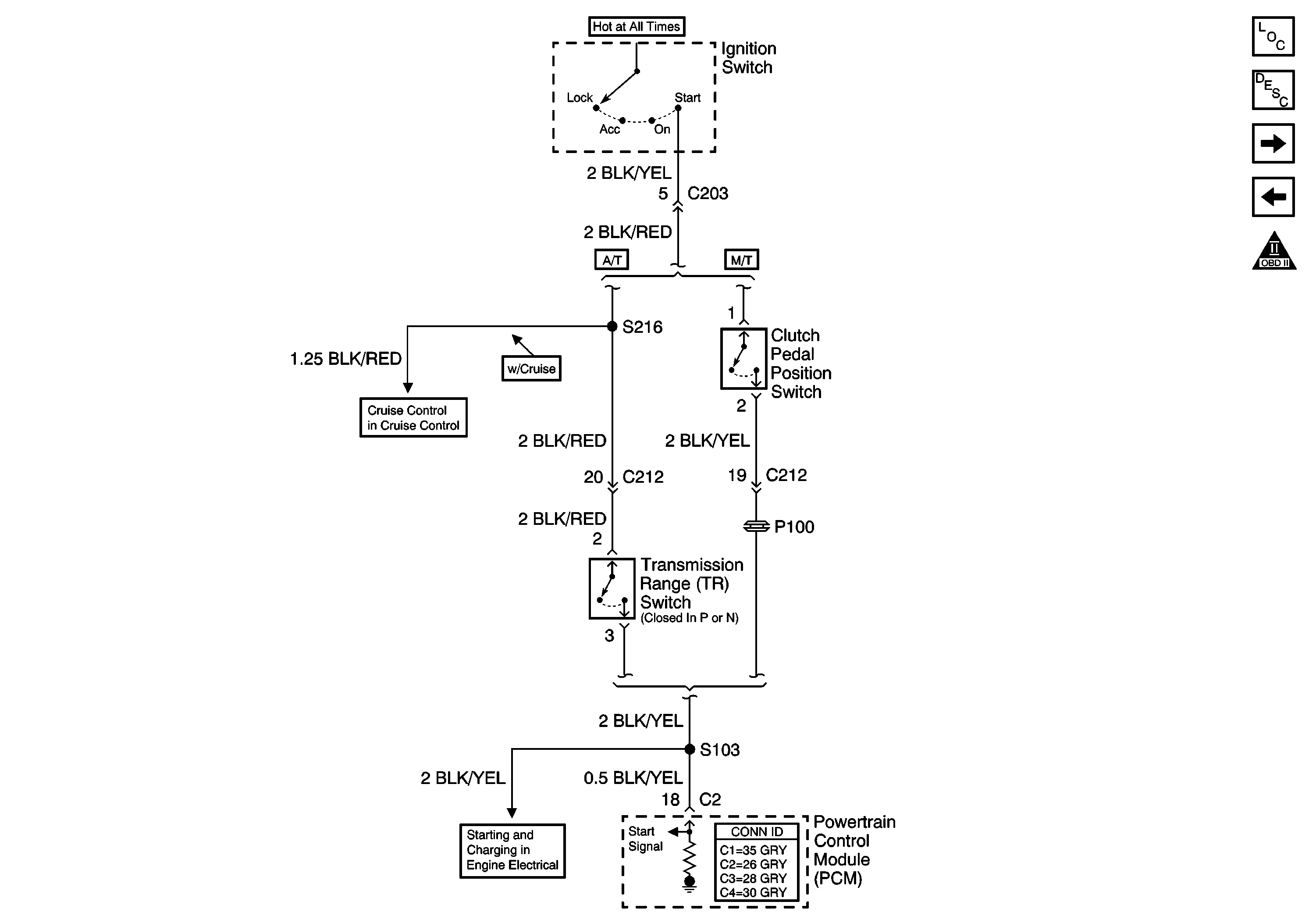
🢒 CPP Switch, (TR) Switch
CPP Switch, (TR) Switch
CPP Switch, (TR) Switch
Master Electrical Component List
Four Wheel Drive Switches, Front Drive Axle Actuator Pump
Heated Oxygen Sensors
OBD II Symbol Description Notice
Starting System
Cruise Control Release Switch and Transmission Range Switch