GM Service Manual Online
For 1990-2009 cars only

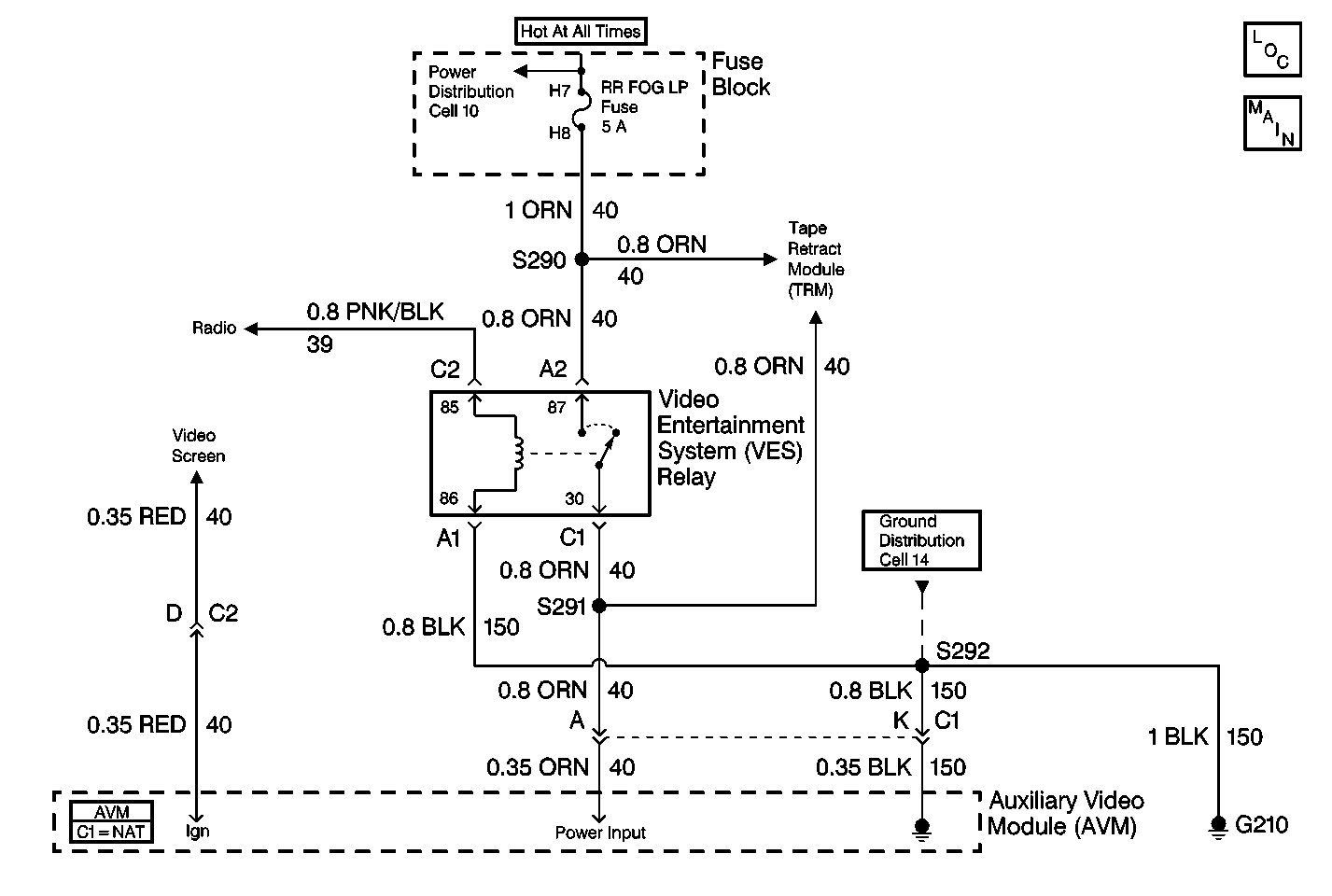
Object Number: 417120  Size: MF
Power Distribution Schematics
Entertainment Connector End Views
Ground Distribution Schematics
Entertainment Components
Video System Schematics

Circuit Description

The Auxiliary Video Module (AVM) controls the operation of the Video Entertainment System (VES). The AVM turns on the VES when the video screen is placed in the down position. When the VES relay is energized, the AVM receives voltage through CKT 40. The AVM receives ground through CKT 150. The AVM determines when the video screen is in the down position by means of a screen position switch located in the video screen. When the VES relay is energized, the AVM sends a voltage signal to the screen position switch. When the video screen is moved from the up (stored) to the down position, the screen position switch closes and sends a voltage signal back to the AVM. Then, the AVM turns on the VES.

Diagnostic Aids

    • Check for the following conditions:
       - An open in CKT 40 between S291 and the AVM
       - An open in CKT 150 between S292 and the AVM
       - An open in CKT 40 between the AVM and the video screen
       - A faulty video screen
       - A faulty AVM
    • An intermittent failure may be very difficult to detect and to diagnose accurately. Faulty electrical connections or wiring causes most intermittent problems. When an intermittent condition is suspected, check the suspected circuits for the following conditions:
       - Poor mating of connector halves or backed out terminals
       - Improperly formed or damaged terminals
       - Wire chafing
       - Poor wire to terminal connections
       - Dirty or corroded terminals
       - Damage to connector bodies
       - Wire broken inside the insulation

Test Description

The number(s) below refer to the step number(s) on the diagnostic table.

  1. Tests if the VES relay is operating correctly.

  2. Tests for an open in CKT 40 (voltage supply to the AVM).

  3. Tests for an open in CKT 150 (ground circuit to the AVM).

  4. Tests voltage output to the video display screen position switch.

  5. Tests the operation of the video display screen position switch.

  6. Verifies repairs made to the VES.

Step

Action

Value(s)

Yes

No

DEFINITION: The video display screen does not turn on when placing the screen in the down position. No video audio is available. However, the Video Cassette Player (VCP) can be turned on.

1

  1. Turn the ignition switch on.
  2. Attempt to turn on the Video Cassette Player (VCP).

Does the VCP turn on?

--

Go to Step 3

Go to Step 2

2

Refer to the Video Entertainment System Inoperative for further diagnosis and repair of the VES.

Is the action complete?

--

Go to Step 11

--

3

  1. Ensure that the ignition switch remains in the ON position.
  2. Using a test light, backprobe between the AVM harness connector C1 terminal A and ground.

Does the test light illuminate?

--

Go to Step 5

Go to Step 4

4

Repair the poor connection or the open in CKT 40 between S291 and the Auxiliary Video Module (AVM) harness connector C1 terminal A.

Is the repair complete?

--

Go to Step 11

--

5

  1. Ensure that the ignition switch remains in the ON position.
  2. Using a test light, backprobe between the AVM harness connector C1 terminals A and K.

Does the test light illuminate?

--

Go to Step 7

Go to Step 6

6

Repair the poor connection or the open in CKT 150 between the AVM harness connector C1 terminal K and ground.

Is the repair complete?

--

Go to Step 11

--

7

  1. Ensure that the ignition switch remains in the on position.
  2. Using a J 39200 digital multimeter (DMM), measure the voltage by backprobing between the AVM harness connector C2 terminal D and ground.

Does the voltage measure in the specified range?

B+ (10-14 V)

Go to Step 9

Go to Step 8

8

  1. Test for a poor connection at the AVM harness connector C2 terminals C and D and repair as necessary.
  2. If the connection is OK, then replace the Auxiliary Video Module (AVM). Refer to Audio/Video Interface Module Replacement .

Is the repair complete?

--

Go to Step 11

--

9

  1. Ensure that the ignition switch remains in the on position.
  2. Pull down the video display screen.
  3. Using a J 39200 digital multimeter (DMM) measure the voltage by backprobing between the AVM harness connector C2 terminal C and ground.

Does the voltage measure in the specified range?

B+ (10-14 V)

Go to Step 8

Go to Step 10

10

  1. Test for a poor connection at the AVM harness connector C2 terminal C and repair as necessary.
  2. If the connection is OK, then replace the video screen. Refer to Video Display Replacement .

Is the repair complete?

--

Go to Step 11

--

11

  1. Turn the ignition switch off.
  2. Reconnect the connectors or the components that were previously removed.
  3. Verify that the Video Entertainment System (VES) operates properly.

Does the VES operate normally?

--

System OK

Go to Video System System Check