GM Service Manual Online
For 1990-2009 cars only

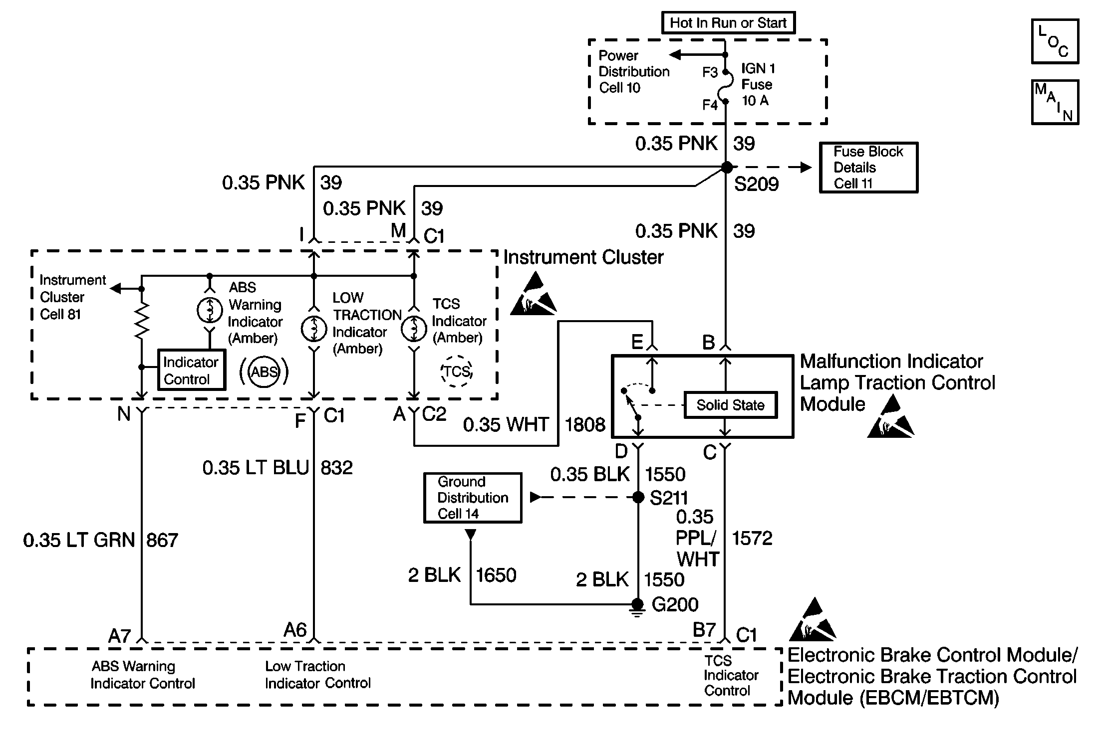
Object Number: 155197  Size: MF
ABS Components
Antilock Brake System Schematics
Power Distribution Schematics
Fuse Block Schematics
Instrument Cluster: Analog Schematics
Handling ESD Sensitive Parts Notice
Handling ESD Sensitive Parts Notice
Ground Distribution Schematics
Handling ESD Sensitive Parts Notice

Circuit Description

DTC C1311 inspects the state of the following components in order to identify a situation in which the driver could not be alerted to a system malfunction or the availability of the ABS or TCS:

    • The ABS warning indicator
    • The ABS/TCS active indicator (Low Traction)
    • The TCS Indicator

Separate lamp driver modules turn the ABS and TCS warning indicators on, unless the EBCM/EBTCM provides a ground to turn them off. Because of the circuitry in the lamp driver modules, the EBCM/EBTCM only detects external wiring malfunctions. The EBCM/EBTCM provides a ground to turn on the ABS/TCS active indicator circuit.

Conditions for Setting the DTC

DTC C1311 can set anytime. Shorts to voltage on the ABS or TCS warning indicators are detected anytime after the bulb check is completed for more than 2 seconds. The engine must be running for the code to set. The ABS/TCS active indicator (Low Traction) will set DTC C1311 if shorted to voltage during the 3 second bulb check. Shorts to ground or an open circuit are detected anytime after the bulb check is complete for more than 2 seconds.

Action Taken When the DTC Sets

    • A malfunction DTC stores.
    • The ABS does not disable.
    • The TCS does not disable.

Conditions for Clearing the DTC

    • The condition responsible for setting the DTC no longer exists and the scan tool Clear DTC function is used.
    • 100 drive cycles pass with no DTC detected.

Diagnostic Aids

Use the enhanced diagnostic function of the Scan Tool in order to measure the frequency of the malfunction. Refer to the Scan Tool manual or Scan Tool Diagnostics located in this section for the procedure.

Thoroughly inspect any circuitry that may cause the intermittent complaint for the following conditions:

    • Rubbed-through wire insulation
    • A broken wire inside the insulation
    • Backed out terminals
    • Improper mating
    • Broken locks
    • Improperly formed or damaged terminals
    • Poor terminal-to-wiring connections
    • Physical damage to the wiring harness

Important: Zero the J 39200 test leads before making any resistance measurements.

Step

Action

Value(s)

Yes

No

1

Was the Diagnostic System Check performed?

--

Go to Step 2

Go to Diagnostic System Check

2

  1. Turn the ignition switch to the OFF position.
  2. Install a Scan Tool .
  3. Turn the ignition switch to the RUN position, engine OFF.
  4. Select Special Functions on the Scan Tool .
  5. Select Lamp Test on the Scan Tool .
  6. Use the Scan Tool in order to attempt to turn on and then flash the ABS warning indicator.

Can the ABS warning indicator be both turned on and flashed?

--

Go to Step 3

Go to Step  5

3

  1. Select Special Functions on the Scan Tool .
  2. Select Lamp Test on the Scan Tool .
  3. Use the Scan Tool in order to attempt to turn on and then flash the TCS warning indicator.

Can the TCS warning indicator be both turned on and flashed?

--

Go to Step  4

Go to Step  17

4

  1. Select Special Functions on the Scan Tool .
  2. Select Lamp Test on the Scan Tool
  3. Use the Scan Tool in order to attempt to turn on and then off the ABS/TCS active indicator.

Can the ABS/TCS active indicator (LOW TRACTION) be turned on and off?

--

Go to Step 51

Go to Step 33

5

  1. Turn the ignition switch to the OFF position.
  2. Turn the ignition switch to the RUN position, engine OFF.

Does the ABS warning indicator turn on and stay on?

--

Go to Step  6

Go to Step 11

6

  1. Turn the ignition switch to the OFF position.
  2. Turn the ignition switch to the RUN position, engine OFF.
  3. Use the Scan Tool in order to check for other DTCs.

Are there any other DTCs present?

--

Go to the appropriate DTC table

Go to Step 7

7

  1. Turn the ignition switch to the OFF position.
  2. Disconnect the 24-way EBCM/EBTCM connector C1.
  3. Connect a fused jumper wire (such as a J 36169-A ) with a 3A fuse between the 24-way EBCM/EBTCM harness connector C1 terminal A7 and ground.
  4. Turn the ignition switch to the RUN position, engine OFF.

Is the ABS warning indicator on?

--

Go to Step 8

Go to Step 10

8

  1. Turn the ignition switch to the OFF position.
  2. Remove the jumper wire.
  3. Disconnect the instrument panel cluster connector C1.
  4. Use a J 39200 in order to measure the resistance between the 24-way EBCM/EBTCM harness connector C1 terminal A7 and the instrument panel cluster harness connector C1 terminal N.

Is the resistance within the specified range?

0-2ohms

Go to Step 9

Go to Step 15

9

  1. Turn the ignition switch to the RUN position, engine OFF.
  2. Use the J 39200 in order to measure the voltage between the 24-way EBCM/EBTCM harness connector C1 terminal A7 and ground.

Is the voltage within the specified range?

0-2V

Go to Instrument Cluster System Check

Go to Step 16

10

  1. Turn the ignition switch to the OFF position.
  2. Inspect the following terminals:
  3. • The 24-way EBCM/EBTCM connector C1 terminal A7
    • The remaining terminals of the 24-way EBCM/EBTCM connector C1
  4. Inspect the above terminals for the following conditions:
  5. • Damage
    • Poor terminal contact
    • Terminal corrosion

Are there signs of poor terminal contact, corrosion, or damaged terminals?

--

Go to Step 29

Go to Step 23

11

  1. Perform an instrument panel cluster bulb check.
  2. Observe the remaining instrument panel cluster warning indicators.

Do the remaining instrument cluster warning indicators operate properly?

--

Go to Step 12

Go to Step 41

12

  1. Turn the ignition switch to the OFF position.
  2. Disconnect the 24-way EBCM/EBTCM connector C1.
  3. Turn the ignition switch to the RUN position, engine OFF.

Does the ABS warning indicator turn on?

--

Go to Step 10

Go to Step 13

13

  1. Turn the ignition switch to the OFF position.
  2. Disconnect the instrument panel cluster connector C1.
  3. Use the J 39200 in order to measure the resistance between the 24-way EBCM/EBTCM harness connector C1 terminal A7 and ground.

Is continuity to ground present during this test?

--

Go to Step 14

Go to Instrument Cluster System Check

14

Repair the short to ground in CKT 867.

Is the repair complete?

--

Go to Diagnostic System Check

--

15

Repair the open or high resistance in CKT 867.

Is the repair complete?

--

Go to Diagnostic System Check

--

16

Repair the short to voltage in CKT 867.

Is the repair complete?

--

Go to Diagnostic System Check

--

17

  1. Turn the ignition switch to the OFF position.
  2. Turn the ignition switch to the RUN position, engine OFF.

Does the TCS warning indicator turn on and stay on?

--

Go to Step 18

Go to Step 24

18

  1. Turn the ignition switch to the OFF position.
  2. Turn the ignition switch to the RUN position, engine OFF.
  3. Use the Scan Tool in order to check for other DTCs.

Are there any other DTCs present?

--

Go to the appropriate DTC table

Go to Step 19

19

  1. Turn the ignition switch to the OFF position.
  2. Disconnect the 24-way EBCM/EBTCM connector C1.
  3. Connect a fused jumper wire (such as a J 36169-A ) with a 3A fuse between the 24-way EBCM/EBTCM harness connector C1 terminal B7 and ground.
  4. Turn the ignition switch to the RUN position, engine OFF.

Is the TCS warning indicator on?

--

Go to Step 20

Go to Step 22

20

  1. Turn the ignition switch to the OFF position.
  2. Remove the jumper wire.
  3. Disconnect the Malfunction Indicator Lamp Traction Control Module harness connector.
  4. Use a J 39200 in order to measure the resistance between the 24-way EBCM/EBTCM harness connector C1 terminal B7 and the Malfunction Indicator Lamp Traction Control Module harness connector terminal C.

Is the resistance within the specified range?

0-2ohms

Go to Step 21

Go to Step 30

21

  1. Turn the ignition switch to the RUN position, engine OFF.
  2. Use a J 39200 in order to measure the voltage between the 24-way EBCM/EBTCM harness connector C1 terminal B7 and ground.

Is the voltage within the specified range?

0-2V

Go to Step 32

Go to Step 31

22

  1. Turn the ignition switch to the OFF position.
  2. Inspect the following terminals:
  3. • The 24-way EBCM/EBTCM connector C1 terminal B7
    • The remaining terminals of the 24-way EBCM/EBTCM connector C1
  4. Inspect the above terminals for the following conditions:
  5. • Damage
    • Poor terminal contact
    • Terminal corrosion

Are there signs of poor terminal contact, corrosion, or damaged terminals?

--

Go to Step 29

Go to Step 23

23

  1. Reconnect the 24-way EBCM/EBTCM harness connector C1.
  2. Reconnect the instrument panel cluster harness connector C1 or the Malfunction Indicator Lamp Traction Control Module if they are disconnected.
  3. Install a Scan Tool
  4. Turn the ignition switch to the RUN position, engine OFF.
  5. Use the Scan Tool in order to read the DTCs.

Does DTC C1311 reset?

--

Go to Step 50

Go to Diagnostic System Check

24

  1. Perform an instrument panel cluster bulb check.
  2. Observe the remaining instrument panel cluster warning indicators.

Do the remaining instrument panel cluster warning indicators operate properly?

--

Go to Step 25

Go to Step 41

25

  1. Turn the ignition switch to the OFF position.
  2. Disconnect the 24-way EBCM/EBTCM connector C1.
  3. Turn the ignition switch to the RUN position, engine OFF.

Does the TCS warning indicator turn on?

--

Go to Step 22

Go to Step 26

26

  1. Turn the ignition switch to the OFF position.
  2. Disconnect the Malfunction Indicator Lamp Traction Control Module harness connector.
  3. Use the J 39200 in order to measure the resistance between the 24-way EBCM/EBTCM harness connector C1 terminal B7 and ground.

Is continuity present during this test?

--

Go to Step 28

Go to Step 27

27

  1. Turn the ignition switch to the RUN position, engine OFF.
  2. Use the J 39200 in order to measure the voltage between the Malfunction Indicator Lamp Traction Control Module harness connector terminal B and the ground.

Is the voltage equal to or greater than the specified voltage?

10V

Go to Step 32

Go to Step 44

28

Repair the short to ground in CKT 1572.

Is the repair complete?

--

Go to Diagnostic System Check

--

29

Repair the 24-way EBCM/EBTCM connector C1. Go to Troubleshooting Procedures Cell 4 in Electrical Diagnosis.

Is the repair complete?

--

Go to Step 23

--

30

Repair the open or high resistance in CKT 1572.

Is the repair complete?

--

Go to Diagnostic System Check

--

31

Repair the short to voltage in CKT 1572.

Is the repair complete?

--

Go to Diagnostic System Check

--

32

Replace the Malfunction Indicator Lamp Traction Control Module. Refer to Lamp Driver Module Replacement .

Is the repair complete?

--

Go to Diagnostic System Check

--

33

  1. Turn the ignition switch to the OFF position.
  2. Remove the Scan Tool
  3. Turn the ignition switch to the RUN position, engine OFF.

Does the ABS/TCS active indicator turn on and stay on?

--

Go to Step 34

Go to Step 37

34

  1. Turn the ignition switch to the OFF position.
  2. Disconnect the 24-way EBCM/EBTCM connector C1.
  3. Turn the ignition switch to the RUN position, engine OFF.

Does the ABS/TCS active indicator turn on?

--

Go to Step 46

Go to Step 35

35

  1. Turn the ignition switch to the OFF position.
  2. Inspect the following terminals:
  3. • The 24-way EBCM/EBTCM connector C1 terminal  A6
    • The remaining terminals of the 24-way EBCM/EBTCM connector C1
  4. Inspect the above terminals for the following conditions:
  5. • Damage
    • Poor terminal contact
    • Terminal corrosion

Are there signs of poor terminal contact, corrosion, or damaged terminal(s)?

--

Go to Step 47

Go to Step 36

36

  1. Reconnect the 24-way EBCM/EBTCM harness connector C1.
  2. Reconnect the instrument panel cluster harness connector C1 if the instrument panel cluster harness connector is disconnected.
  3. Install a Scan Tool
  4. Turn the ignition switch to the RUN position, engine OFF.
  5. Use the Scan Tool in order to read the DTCs.

Does DTC C1311 reset?

--

Go to Step 50

Go to Diagnostic System Check

37

  1. Turn the ignition switch to the OFF position.
  2. Turn the ignition switch to the RUN position, engine OFF.
  3. Observe the TCS indicator.

Does the TCS indicator turn on and then off?

--

Go to Step 38

Go to Step 41

38

  1. Turn the ignition switch to the OFF position.
  2. Disconnect the 24-way EBCM/EBTCM connector C1.
  3. Connect a fused jumper wire (such as a J 36169-A ) with a 3A fuse between the 24-way EBCM/EBTCM harness connector C1 terminal A6 and ground.
  4. Turn the ignition switch to the RUN position, engine OFF.

Does the ABS/TCS active indicator turn on?

--

Go to Step 35

Go to Step 39

39

  1. Turn the ignition switch to the OFF position.
  2. Remove the jumper wire.
  3. Disconnect the instrument panel cluster harness connector C1.
  4. Use the J 39200 in order to measure the resistance between the 24-way EBCM/EBTCM harness connector C1 terminal A6 and the instrument panel cluster harness connector C1 terminal F.

Is the resistance within the specified range?

0-2ohms

Go to Step 40

Go to Step 48

40

  1. Turn the ignition switch to the RUN position, engine OFF.
  2. Use the J 39200 in order to measure the voltage between the 24-way EBCM/EBTCM harness connector C1 terminal A6 and ground.

Is the voltage within specifications?

0-2V

Go to Instrument Cluster System Check

Go to Step 49

41

  1. Turn the ignition switch to the OFF position.
  2. Remove the IGN 1 Fuse (10A).
  3. Inspect the IGN 1 Fuse (10A).

Is the IGN 1 Fuse (10A) open?

--

Go to Step 42

Go to Step 44

42

Use a J 39200 in order to measure the resistance between the fuse block terminal F4 and ground.

Is the resistance within specifications?

0-2ohms

Go to Step 43

Go to Step 45

43

Repair the short to ground in CKT 39.

Is the repair complete?

--

Go to Step 45

--

44

Repair the open or high resistance in CKT 39.

Is the repair complete?

--

Go to Diagnostic System Check

--

45

Replace the fuse block IGN 1 Fuse (10 A).

Is the repair complete?

--

Go to Diagnostic System Check

--

46

Repair the short to ground in CKT 832.

Is the repair complete?

--

Go to Diagnostic System Check

--

47

Repair the 24-way EBCM/EBTCM connector C1.

Is the repair complete?

--

Go to Step 36

--

48

Repair the open or high resistance in CKT 832.

Is the repair complete?

--

Go to Diagnostic System Check

--

49

Repair the short to voltage in CKT 832.

Is the repair complete?

--

Go to Diagnostic System Check

--

50

Replace the EBCM/EBTCM. Refer to Electronic Brake and Traction Control Module Replacement .

Is the repair complete?

--

Go to Diagnostic System Check

--

51

  1. Turn the ignition switch to the OFF position.
  2. Turn the ignition switch to the RUN position, engine OFF.
  3. Use the Scan Tool in order to read the DTCs.

Does DTC C1311 reset?

--

Go to Step 50

Go to Step 52

52

The malfunction is intermittent or not present at this time.

Is a concern still present?

--

Go to Diagnostic Aids

Go to Diagnostic System Check