GM Service Manual Online
For 1990-2009 cars only
Makes
🢒
Chevrolet
🢒
2001
🢒
Venture Ext.
🢒 Export Taillamps
Export Taillamps
Export Taillamps
Export Headlamp Position Lamps/License Lamps
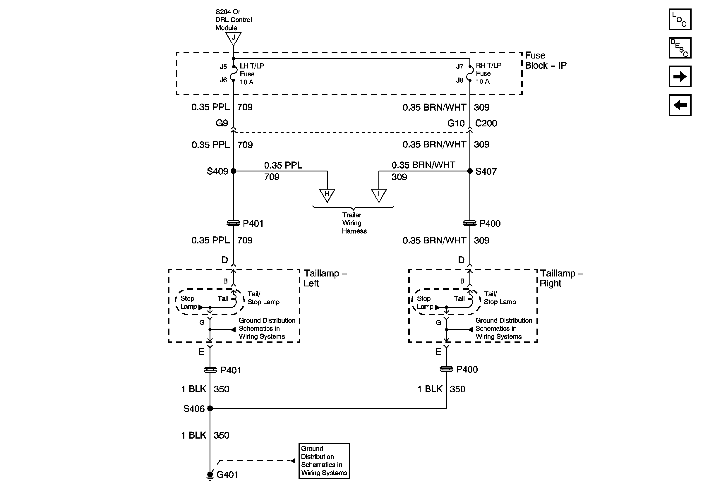
Export Trailer Wiring, Power and Ground
Export Trailer Wiring, Power and Ground
G401 and G402
Master Electrical Component List
Exterior Lighting Systems Description and Operation
Export Stoplamps and CHMSL
Export Headlamp Position Lamps/License Lamps