GM Service Manual Online
For 1990-2009 cars only
Makes
🢒
Chevrolet
🢒
2001
🢒
Venture Ext.
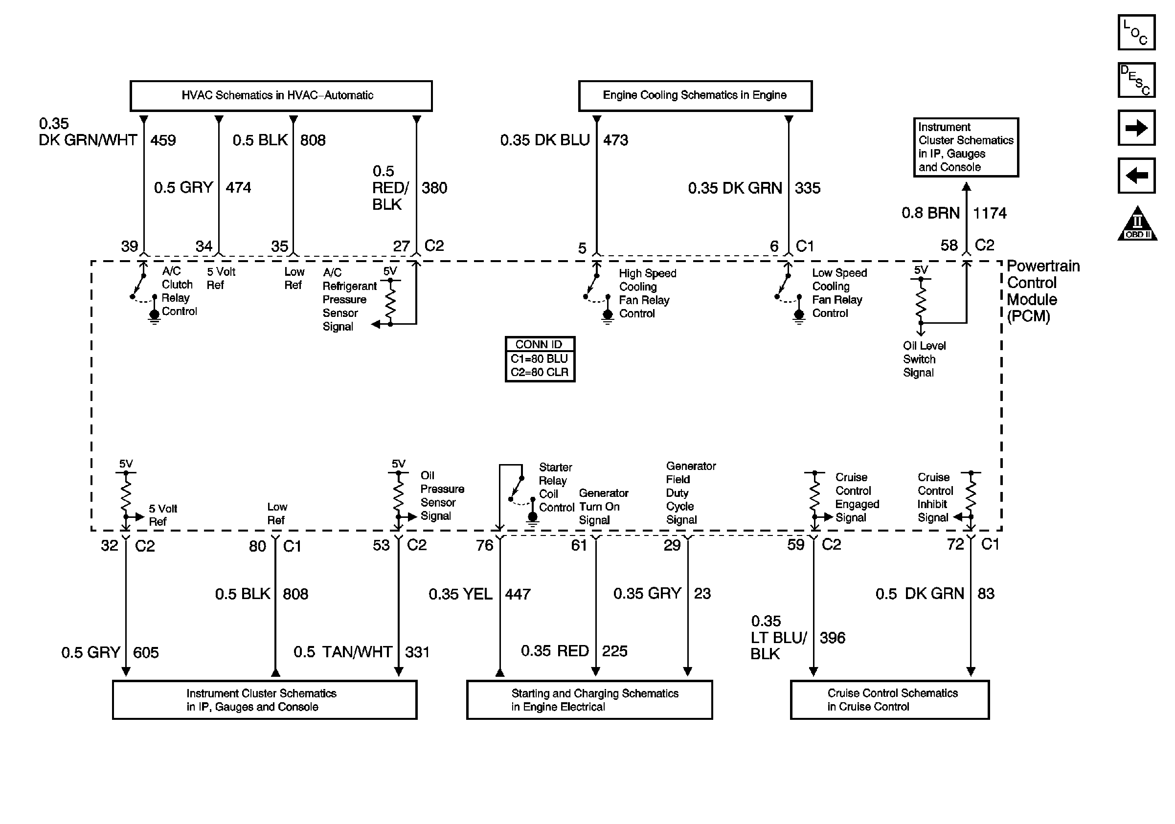
🢒 PCM Inputs/Outputs (1 of 2)
PCM Inputs/Outputs (1 of 2)
PCM Inputs/Outputs (1 of 2)
Master Electrical Component List
Compressor Controls
Engine Cooling Schematic
DIC Switch (w/U50)
PCM Signals - Boost, Engine Oil, and Volt Indicators
Generator Controls
CCM and PCM Controls
PCM Inputs/Outputs (2 of 2)
VSS Signals