GM Service Manual Online
For 1990-2009 cars only
Makes
🢒
Generic
🢒
2002
🢒
Unit Repair
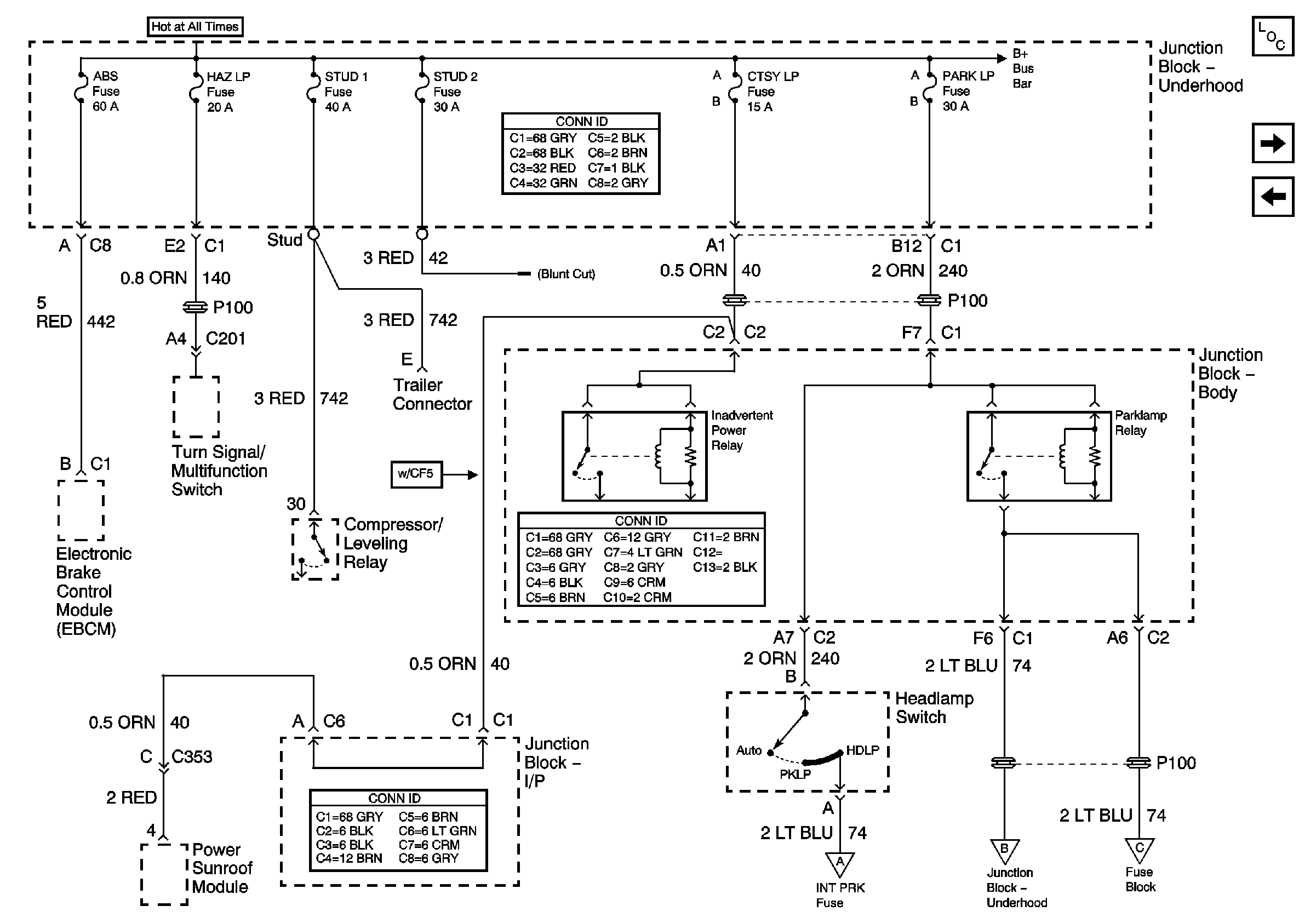
🢒 ABS, HAZ LP, STUD 1, STUD 2, CTSY LP, and PARK LP Fuses
ABS, HAZ LP, STUD 1, STUD 2, CTSY LP, and PARK LP Fuses
ABS, HAZ LP, STUD 1, STUD 2, CTSY LP, and PARK LP Fuses
Master Electrical Component List
FR PRK, TRL PRK, LR PRK, RR PRK Fuses, and FOG LAMP Relay
HTD MIR, RR DEFOG Fuses, and RR DEFOG Relay
B+ Bus Bar
INT PRK Fuse - 1 of 2
FR PRK, TRL PRK, LR PRK, RR PRK Fuses, and FOG LAMP Relay
INT PRK Fuse - 1 of 2