GM Service Manual Online
For 1990-2009 cars only
Makes
🢒
Oldsmobile
🢒
2000
🢒
Intrigue
🢒 BCM, and Fused Distribution
BCM, and Fused Distribution
BCM, and Fused Distribution
Battery, MaxiFuses, Fusible Links and Crank Relay
Ignition 1 MaxiFuse and Ignition Switch
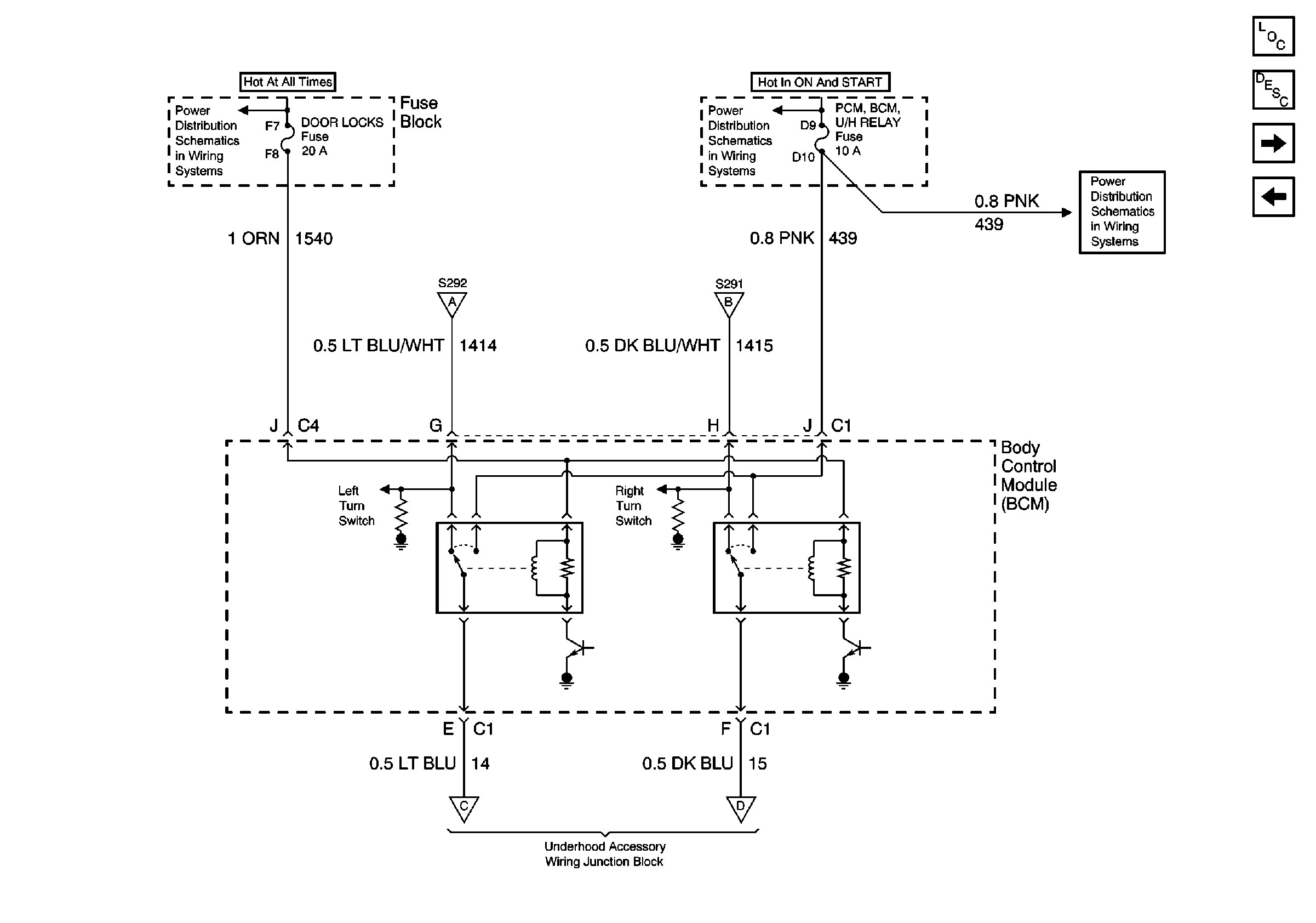
Turn Signal/Corn Lps, Air Bag, Cluster
Turn Signal Switch, Hazard Warning Switch, LH and RH Turn Signal Lamps and Instrument Cluster
Turn Signal Switch, Hazard Warning Switch, LH and RH Turn Signal Lamps and Instrument Cluster
Side Marker, Cornering and Park/Turn Lamps
Side Marker, Cornering and Park/Turn Lamps
Lighting Systems Components
Exterior Lights Circuit Description
Side Marker, Cornering and Park/Turn Lamps
Headlamp Switch, BCM, Park Lamp and Headlamp Relay