GM Service Manual Online
For 1990-2009 cars only
Makes
🢒
Oldsmobile
🢒
2001
🢒
Intrigue
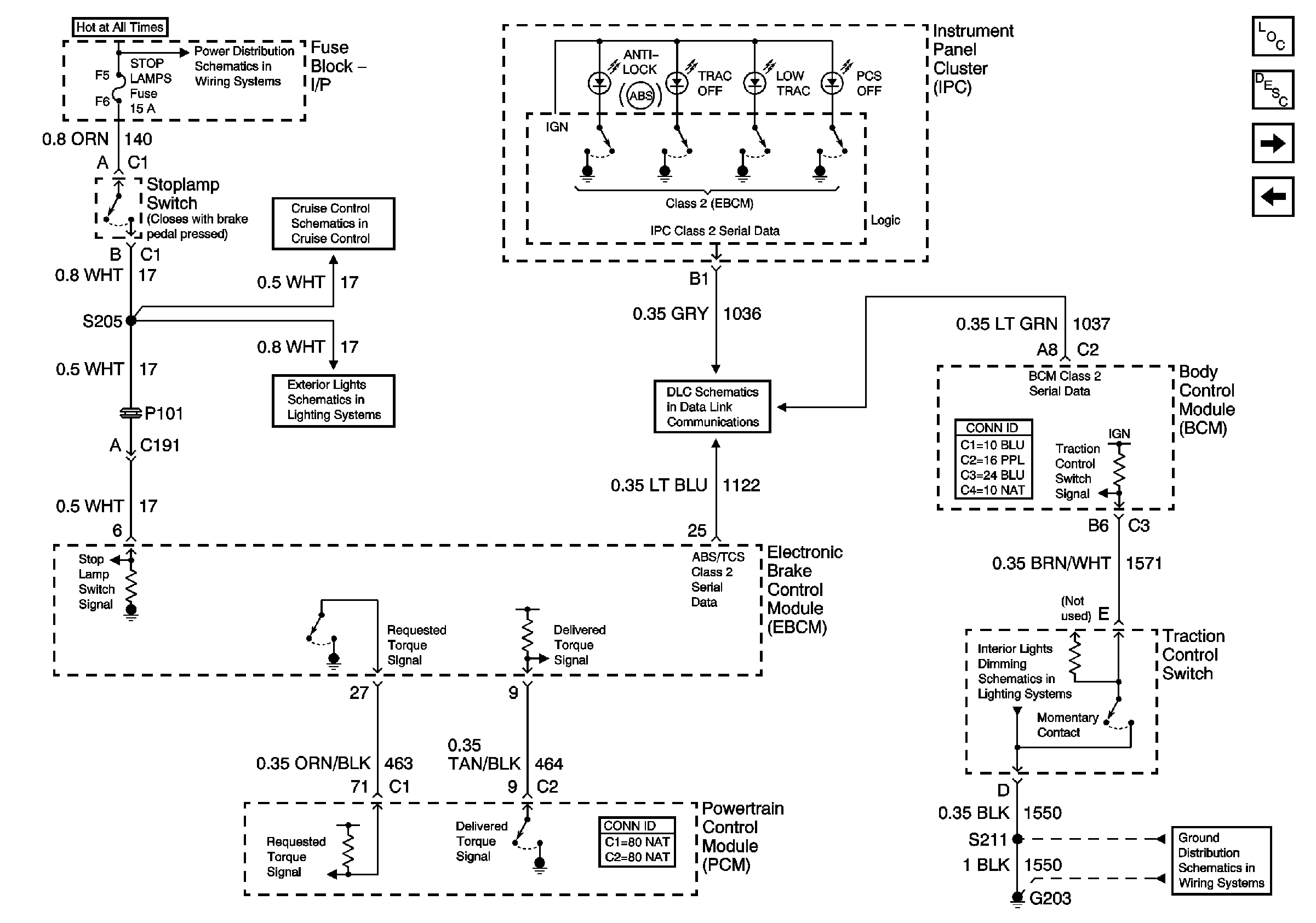
🢒 ABS Indicator, Torque Signals, and Traction Control Switch
ABS Indicator, Torque Signals, and Traction Control Switch
ABS Indicator, Torque Signals, and Traction Control Switch
Master Electrical Component List original
ABS Description and Operation
Yaw and Lateral, Brake Pressure, and Steering Angle Sensors
Power, Ground, and BPMV
HIGH BLOWER, HAZARD, STOP LAMPS, DOOR LOCKS, POWER MIRRORS Fuses
Power, and Control Signals
Center High Mounted Stop Lamp
01 W-Car Olds: Data LInk Communications (Data LInk Connector)
Ground G203