GM Service Manual Online
For 1990-2009 cars only
Makes
🢒
Oldsmobile
🢒
2001
🢒
Intrigue
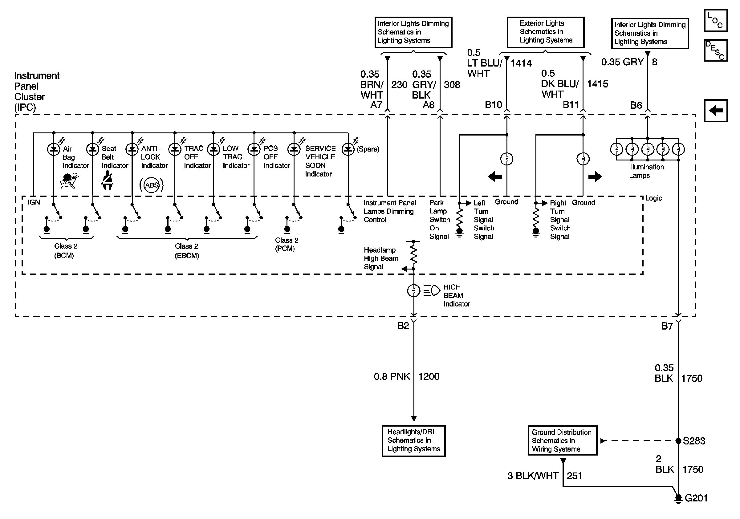
🢒 Illumination Lamps, and Indicators,
Illumination Lamps, and Indicators,
Illumination Lamps, and Indicators,
Master Electrical Component List original
Indicator/Warning Message Description and Operation
Gages, Fuel Level Sensor and DLC
Fused Distribution and Grounds
Front Turn Signal Lamps, Turn Signal Switch, Turn Signal Indicators and Hazard Warning Switch
I/P Lamp Dimmer Switch
01 W-Car Olds: Data LInk Communications (Data LInk Connector)
Headlamps, Headlamp Switch and High Beam Indicator
Ground G201