GM Service Manual Online
For 1990-2009 cars only
Makes
🢒
Oldsmobile
🢒
2001
🢒
Intrigue
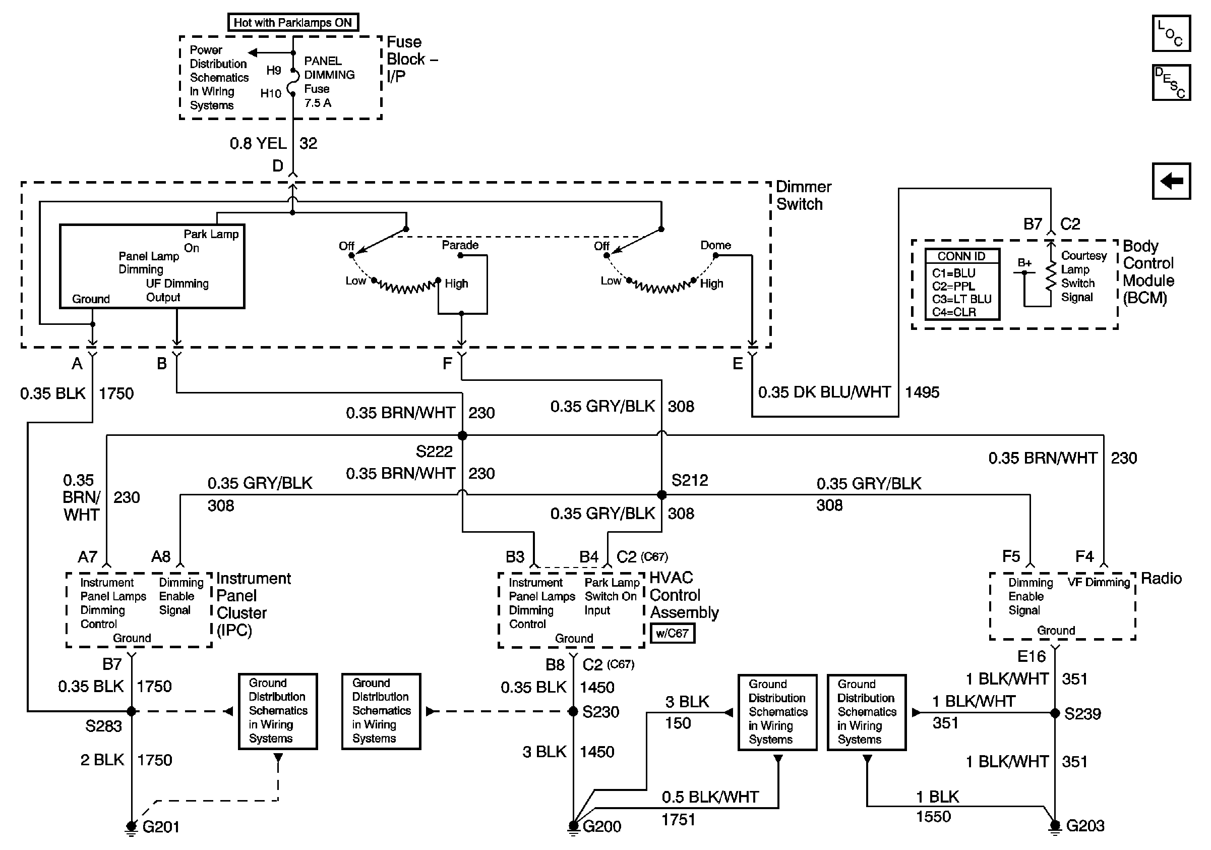
🢒 I/P Lamp Dimmer Switch
I/P Lamp Dimmer Switch
I/P Lamp Dimmer Switch
Master Electrical Component List original
Interior Lighting Systems Description and Operation
Steering Wheel Controls, Window and Door Lock Switches
Park Lamps, Front Park Lamps, Tail Lamps/Lic Lamps, Panel Dimming Fuses, Headlamp Switch, Headlamp and Parklamp Relays
Ground G201
Ground G200
Ground G200
Ground G203