GM Service Manual Online
For 1990-2009 cars only
Figure 1:

Power, Ground and Serial Data


Object Number: 626510  Size: FS
Master Electrical Component List
Body Control System Description and Operation
Control Functions
Fuse Block-Underhood Fuse: 47 Fuse Block-Center Console Fuses: INKEY, KEY SOL, IGN 0, FRT BLWR, IGN 3 and HVAC
Fuse Block-Underhood Fuse: 19 Fuse Block-Center Console Fuses: IGN 1 MDL, SIR, INTEMM and BCM-ACCY
Fuse Block-Underhood Fuse: 19 Fuse Block-Center Console Fuses: IGN 1 MDL, SIR, INTEMM and BCM-ACCY
Fuse Block-Underhood Fuse: 45 Fuse Block-Center Console Fuses: BCM D, GATE REL, RR AUX, PWR MIR, ELC BATT AND THE PWR STS Circuit Breaker
Data Link Communications Schematics - GMT250
Fuse Block-Underhood Fuse: 45 Fuse Block-Center Console Fuses: BCM D, GATE REL, RR AUX, PWR MIR, ELC BATT AND THE PWR STS Circuit Breaker
Fuse Block-Underhood Fuse: 48 Fuse Block-Center Console Fuses: BCM LHZD FL HUD RADIO RD AMP and IP MDL
Fuse Block-Underhood Fuse: 47 Fuse Block-Center Console Fuses: INKEY, KEY SOL, IGN 0, FRT BLWR, IGN 3 and HVAC
Retained Accessory Power (RAP) - GMT250
Rear Defogger Schematic - GMT250
Ground G201
Ground G200 (2 of 2)
Ground G301
Ground G201
Ground G301
Ground G200 (2 of 2)
Ground G200 (2 of 2)
Figure 2:

Theft, Keyless, HVAC, I/P, Horn and Brakes References


Object Number: 626511  Size: FS
Master Electrical Component List
Body Control System Description and Operation
Door Lock Controls
Power and Grounds
Content Theft Deterrent (CTD) Components
01 B-VAN KEYLESS ENTRY SCHEM
PCM Sensors (Fuel Level Sensor, Engine Oil Level Indicator Switch, Engine Oil Pressure Indicator Switch, Engine Coolant Temperature Sensor)
Compressor Controls
Horn Schematic
Content Theft Deterrent (CTD) Components
cell76pg1fig
Indicators and Traction Control Switch
Brake Warning System
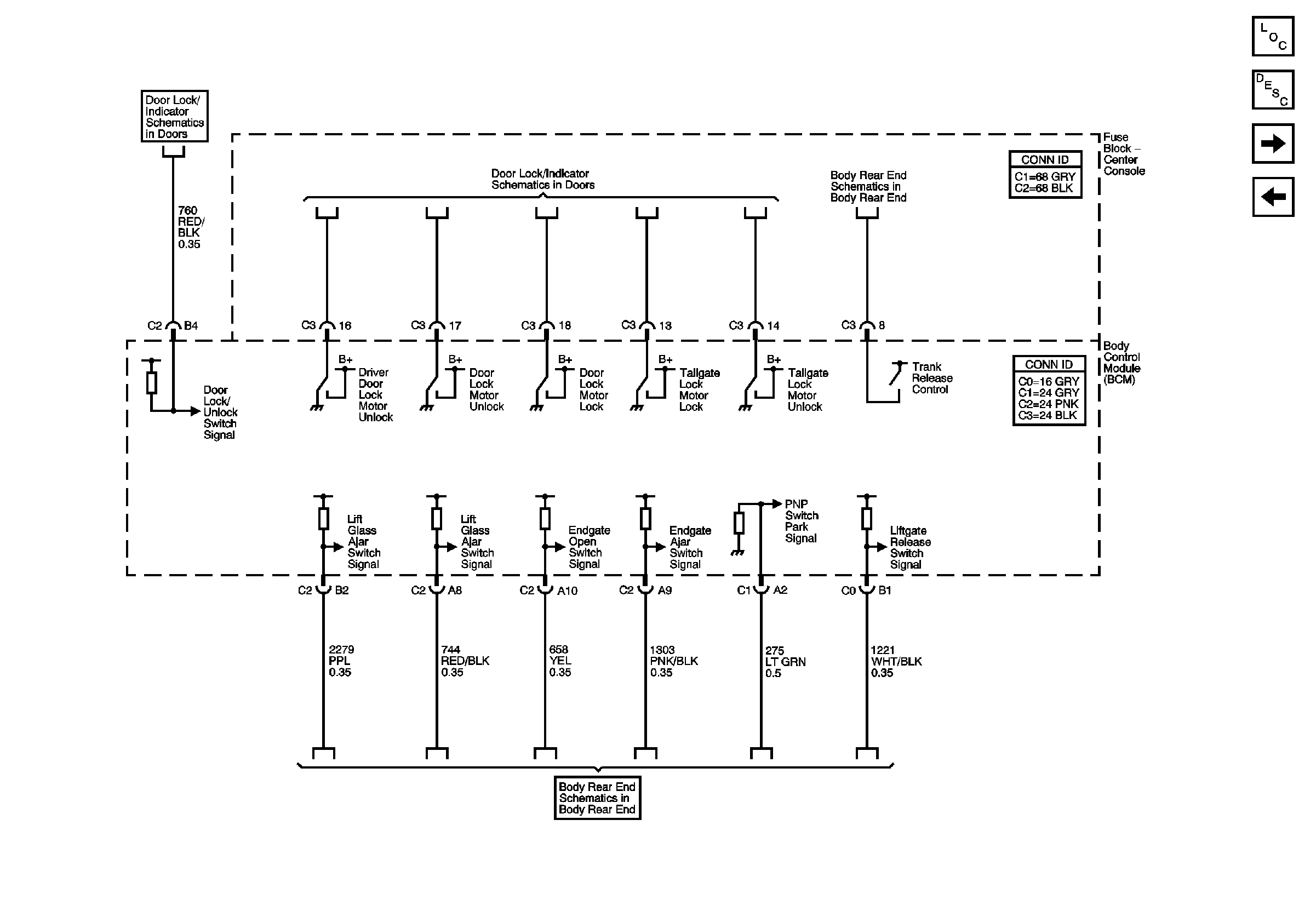
Figure 3:

Door and Liftgate References


Object Number: 629216  Size: FS
Master Electrical Component List
Body Control System Description and Operation
Head Lamp Controls
Control Functions
Front Door Lock Switches and Cylinders
Door Lock Actuators
BODY REAR END SCHEMATIC
BODY REAR END SCHEMATIC
Figure 4:

Lighting References


Object Number: 629219  Size: FS
Master Electrical Component List
Body Control System Description and Operation
Door Lock Controls
Headlamps, Headlamp Dimmer Switch, DRL Relay, and HDLP Relays
Headlamp Switch, BCM, Ambient Light Sensor
Foglamps
Parklamp Relay, Headlamp Switch,
BCM, IP Courtesy Lamps, IP Compartment Lamp
Headlamp Switch, BCM, Door Switches, Steering Wheel Controls, Radio Rear Seat Audio
Parklamp Relay, Headlamp Switch,
BCM, IP Courtesy Lamps, IP Compartment Lamp
Door Ajar Switches
Headlamp Switch, BCM, Door Switches, Steering Wheel Controls, Radio Rear Seat Audio