GM Service Manual Online
For 1990-2009 cars only
Makes
🢒
Pontiac
🢒
1985
🢒
Demonstrator
🢒 Controlled/Monitored Subsystem References
Controlled/Monitored Subsystem References
Controlled/Monitored Subsystem References
Master Electrical Component List
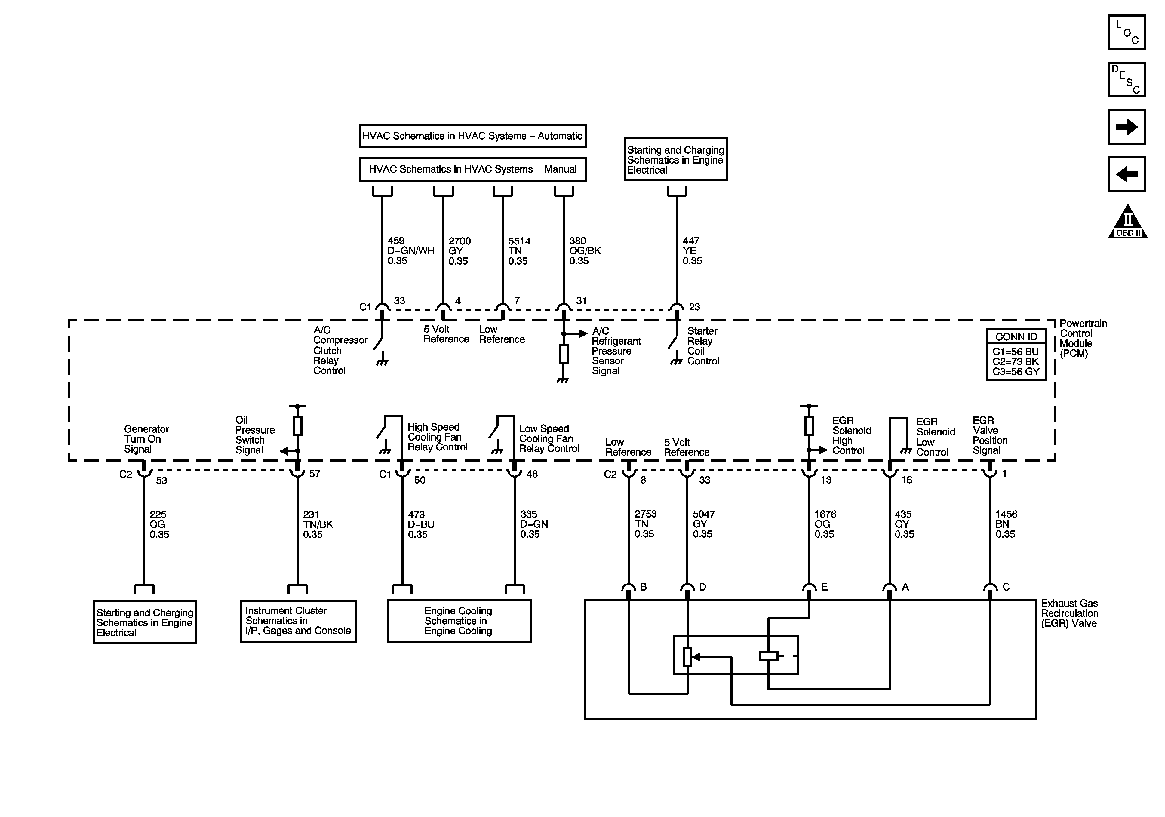
Powertrain Control Module Description
Automatic Transmission Control References
Fuel Injectors, FTP Sensor, and EVAP Solenoids
Engine Controls Schematic Icons
Power, Ground, A/C Compressor Clutch, and Blower Motor Controls
Power, Ground, A/C Compressor, Clutch, and Blower Motor Controls
Starting
Charging
Indicators
Engine Cooling Fans