GM Service Manual Online
For 1990-2009 cars only
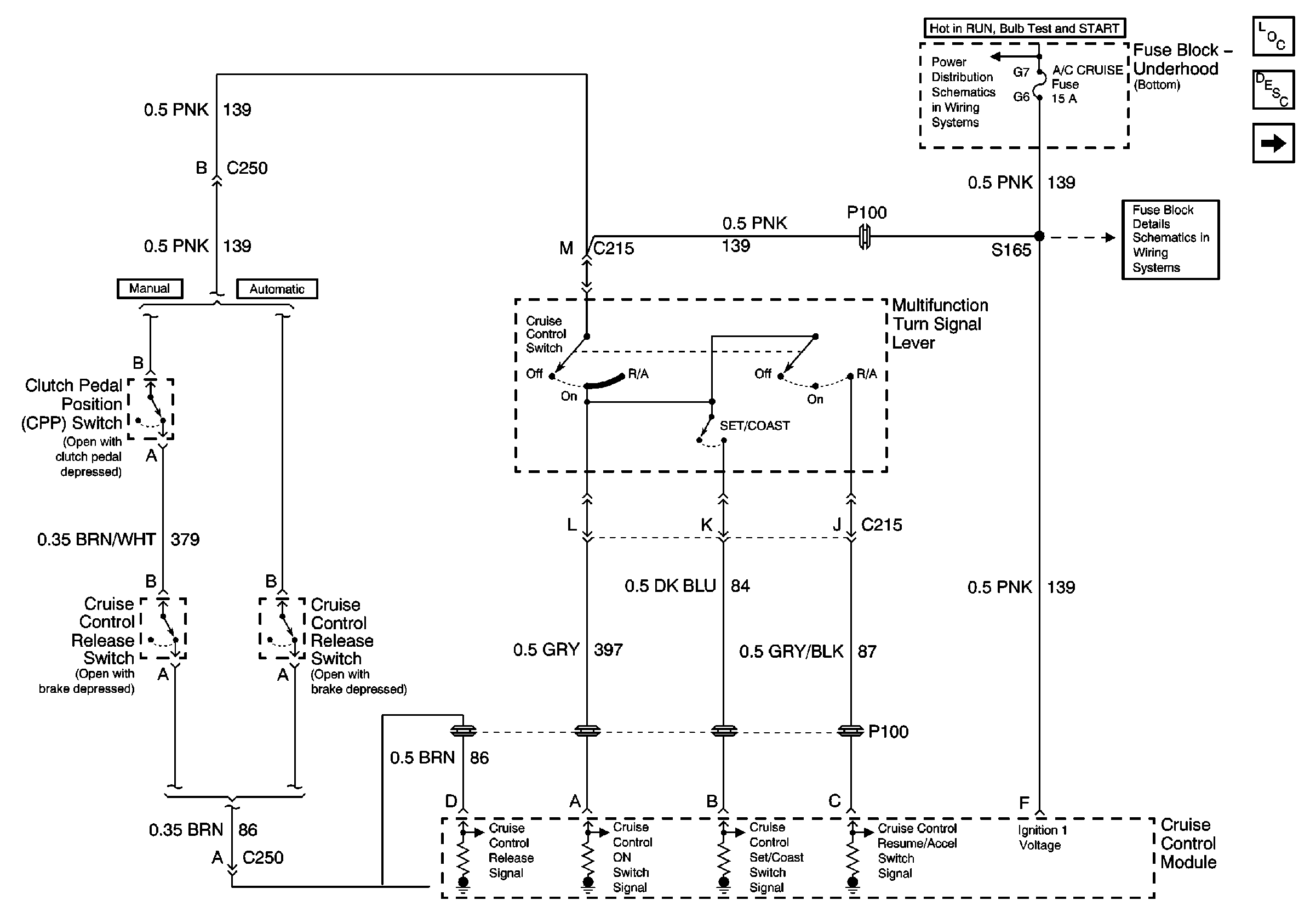
Figure 1:

Cruise Control Module and Cruise Release Switches (5.7 LS1)


Object Number: 727378  Size: FS
Master Electrical Component List
Cruise Control Description and Operation WO/ETC
V6 VIN K
A/C CRUISE and ETC Fuses
A/C CRUISE and ETC Fuses
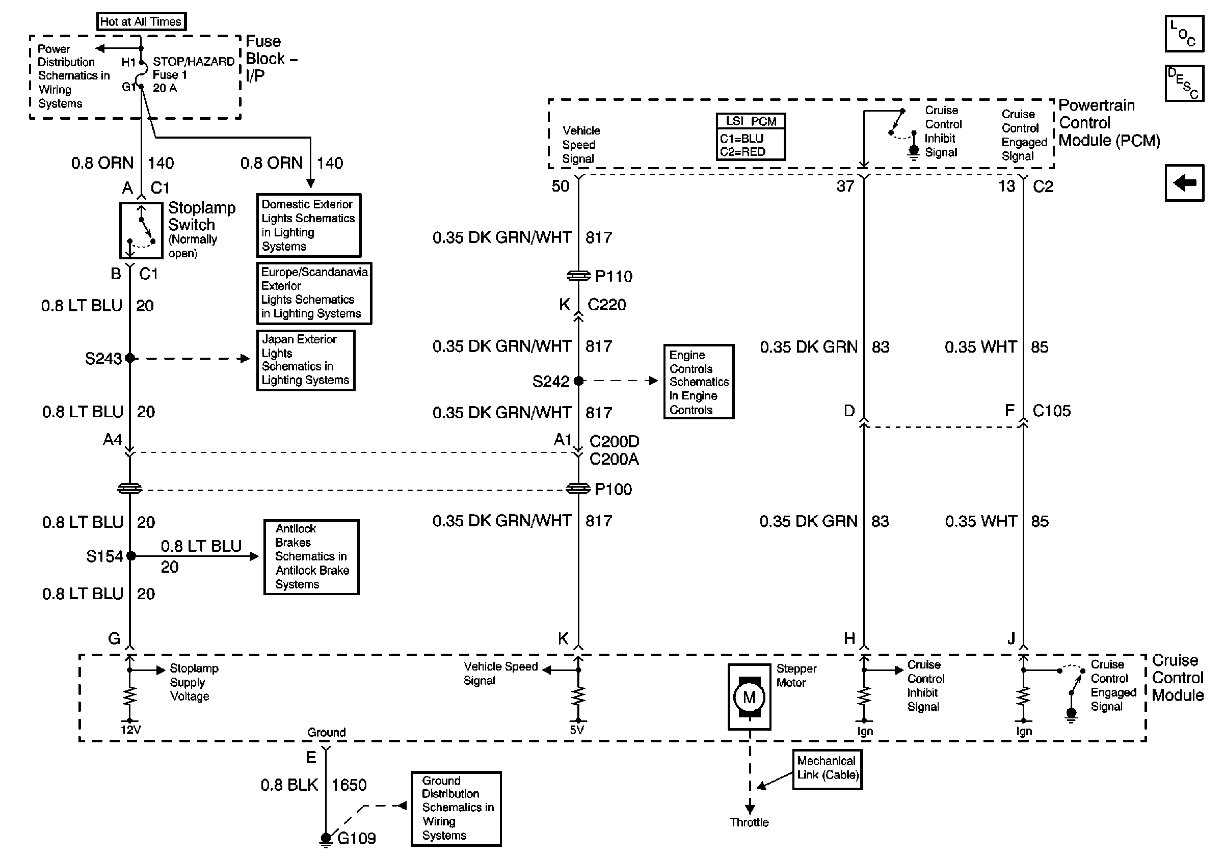
Figure 2:

Cruise Control Module and Powertrain Control Module (5.7 LS1)


Object Number: 727380  Size: FS
Master Electrical Component List
Cruise Control Description and Operation W/ETC
Cruise Control Module and Cruise Release Switches (5.7 LS1)
BCM, Cruise Control Module, EBCM, IPC, Radio, and VSS
G100, G101, G102, G109, G111, G202
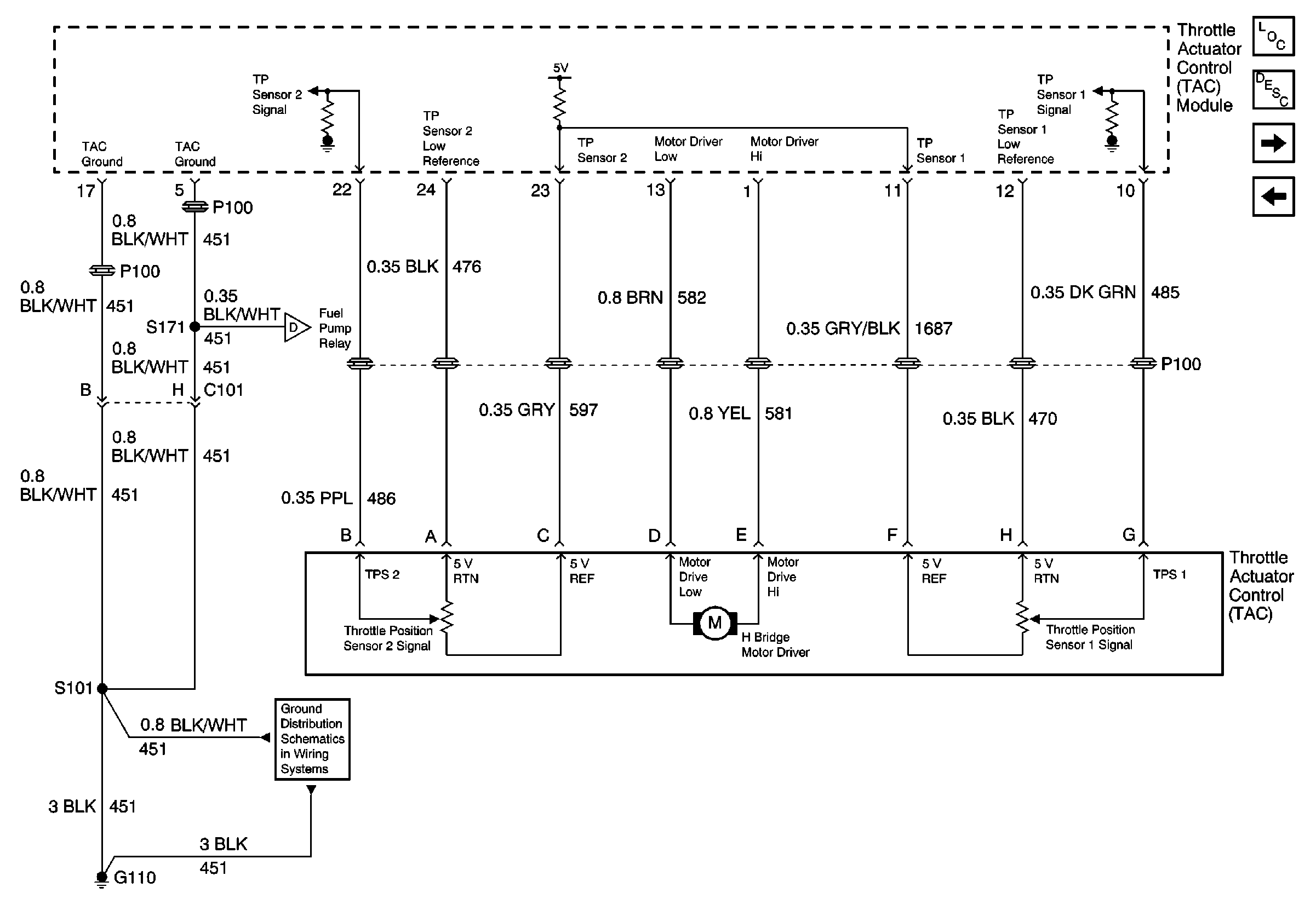
Figure 3:

TAC Module, Brake Switch, Cruise (3.8 LS6)


Object Number: 727381  Size: FS
Master Electrical Component List
Cruise Control Description and Operation W/ETC
TAC Module, TAC (3.8 LS6)
VSS, Cruise, Generator, Engine Oil Level
Chevrolet: Center High Mounted Stop Lamp
ABS BAT SOL, ABS BAT-2, HORN, H/L DOOR-HORN, LH HDLP DR, RH HDLP DR, and TCS BAT Fuses
A/C CRUISE and ETC Fuses
A/C HVAC Control
Figure 4:

TAC Module, TAC (3.8 LS6)


Object Number: 727384  Size: FS
Master Electrical Component List
Cruise Control Description and Operation W/ETC
Second Gear Start, Cruise Control Switches
TAC Module, Brake Switch, Cruise (3.8 LS6)
Fuel Pump Controls
G110 V6 VIN K