GM Service Manual Online
For 1990-2009 cars only
Makes
🢒
Pontiac
🢒
2001
🢒
Firebird
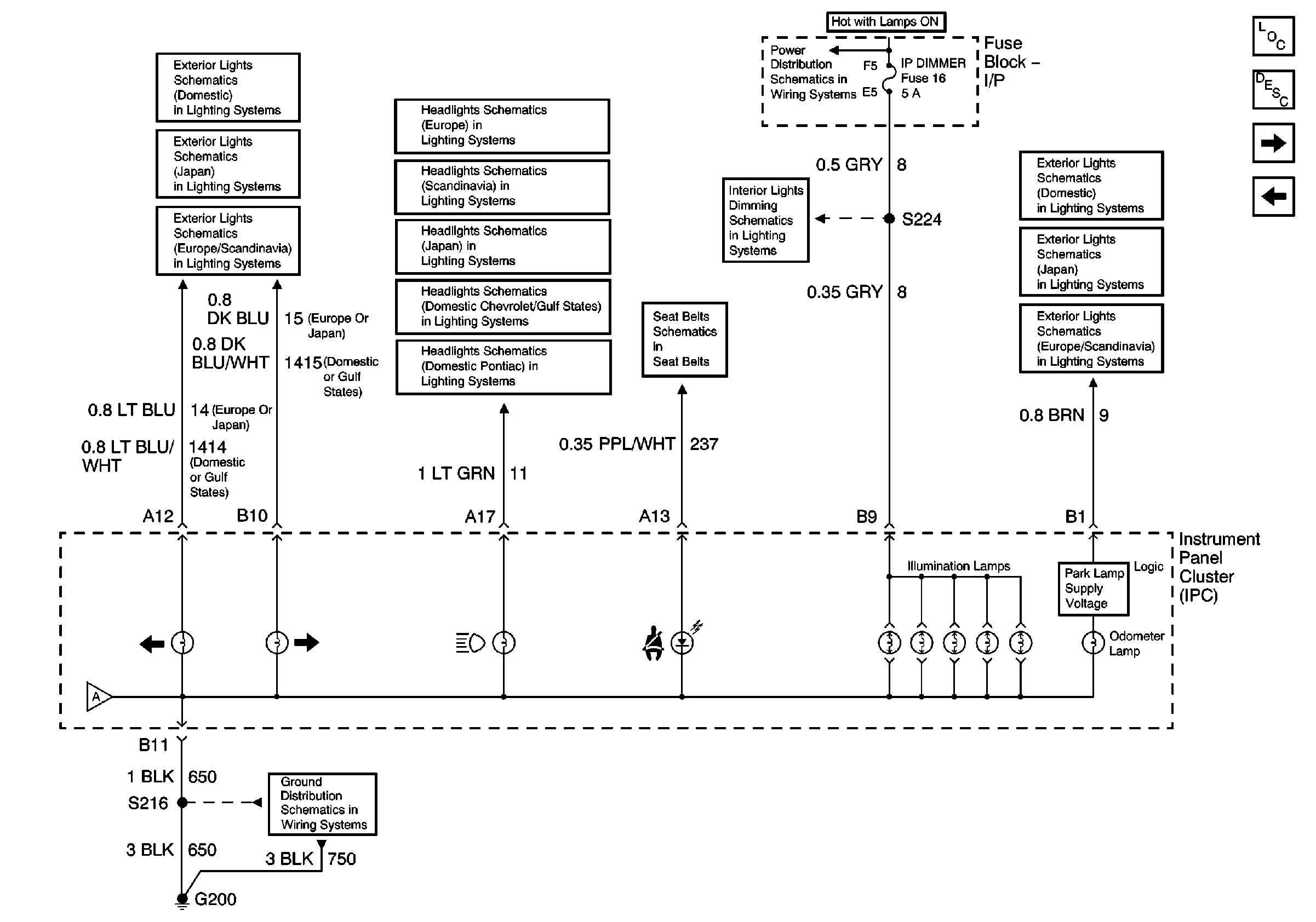
🢒 Instrument Cluster Illumination and Indicators
Instrument Cluster Illumination and Indicators
Instrument Cluster Illumination and Indicators
Master Electrical Component List
Indicator/Warning Message Description and Operation
Instrument Cluster Indicators
Instrument Cluster Gauges
Chevrolet (Europe)
Chevrolet
Chevrolet (Japan)
DRL Module, High and Lowbeam Headlights
DRL Module, Headlamp Opening Door Assembly
Seat Belt Schematic
Interior Illumination Lamps (1 of 2)
Instrument Cluster Gauges
G200 Splice S216