GM Service Manual Online
For 1990-2009 cars only
Makes
🢒
Pontiac
🢒
2002
🢒
Firebird
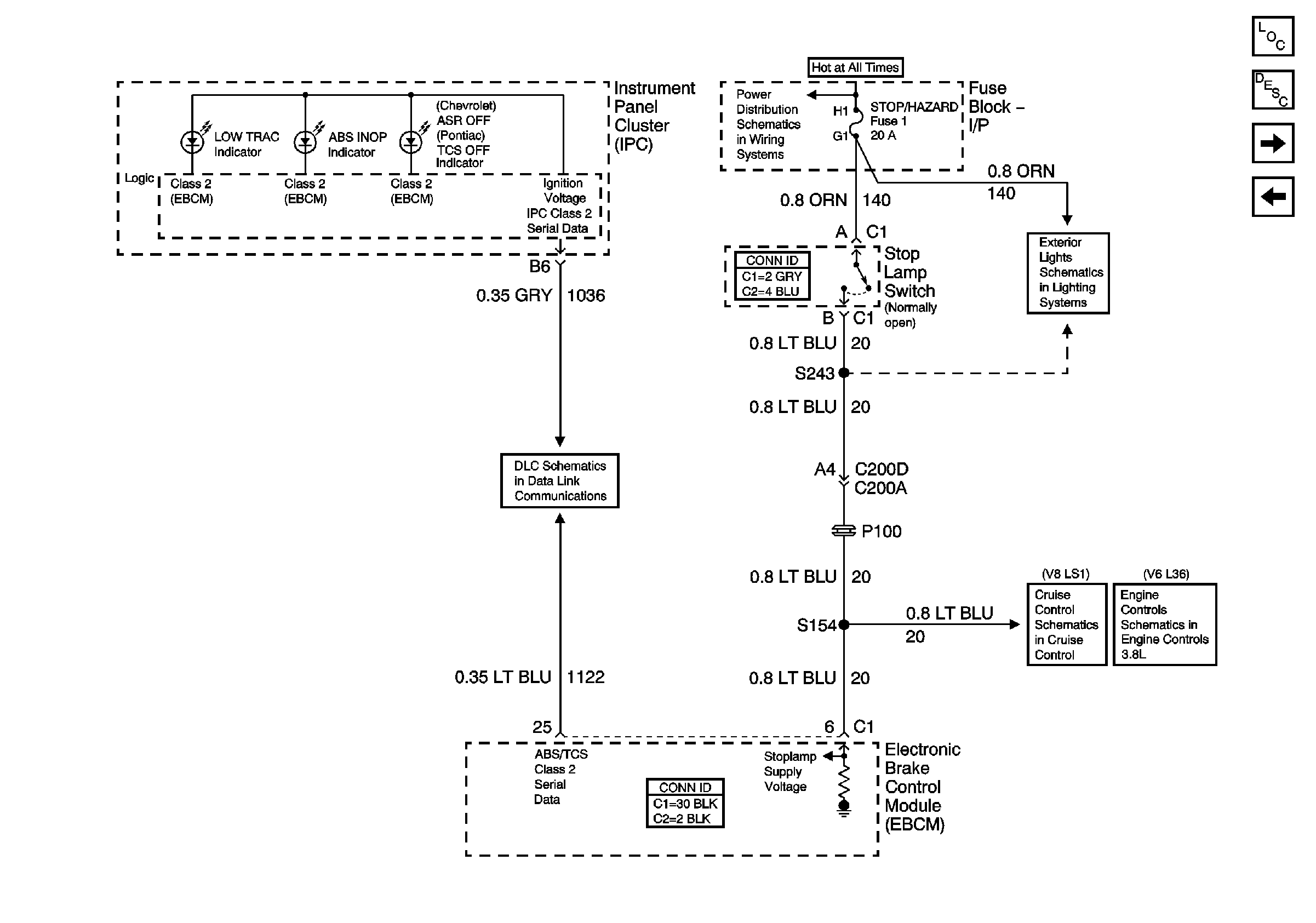
🢒 Stop Lamp Switch, Data Link and IPC
Stop Lamp Switch, Data Link and IPC
Stop Lamp Switch, Indicators and DLC
Master Electrical Component List
ABS Description and Operation
Traction Control Switch V8 LS1
Power and Ground
I/P-2,TAIL LPS, STOP/HAZARD,PWR ACCY and CIG/ACCY Fuses
Class 2 Serial Data Communication
Stoplamps Chevrolet Domestic and Gulf
Release/Inhibit Signals V8 LS1
Engine Data Sensors-Electronic Throttle Controls