GM Service Manual Online
For 1990-2009 cars only
Makes
🢒
Pontiac
🢒
2002
🢒
Firebird
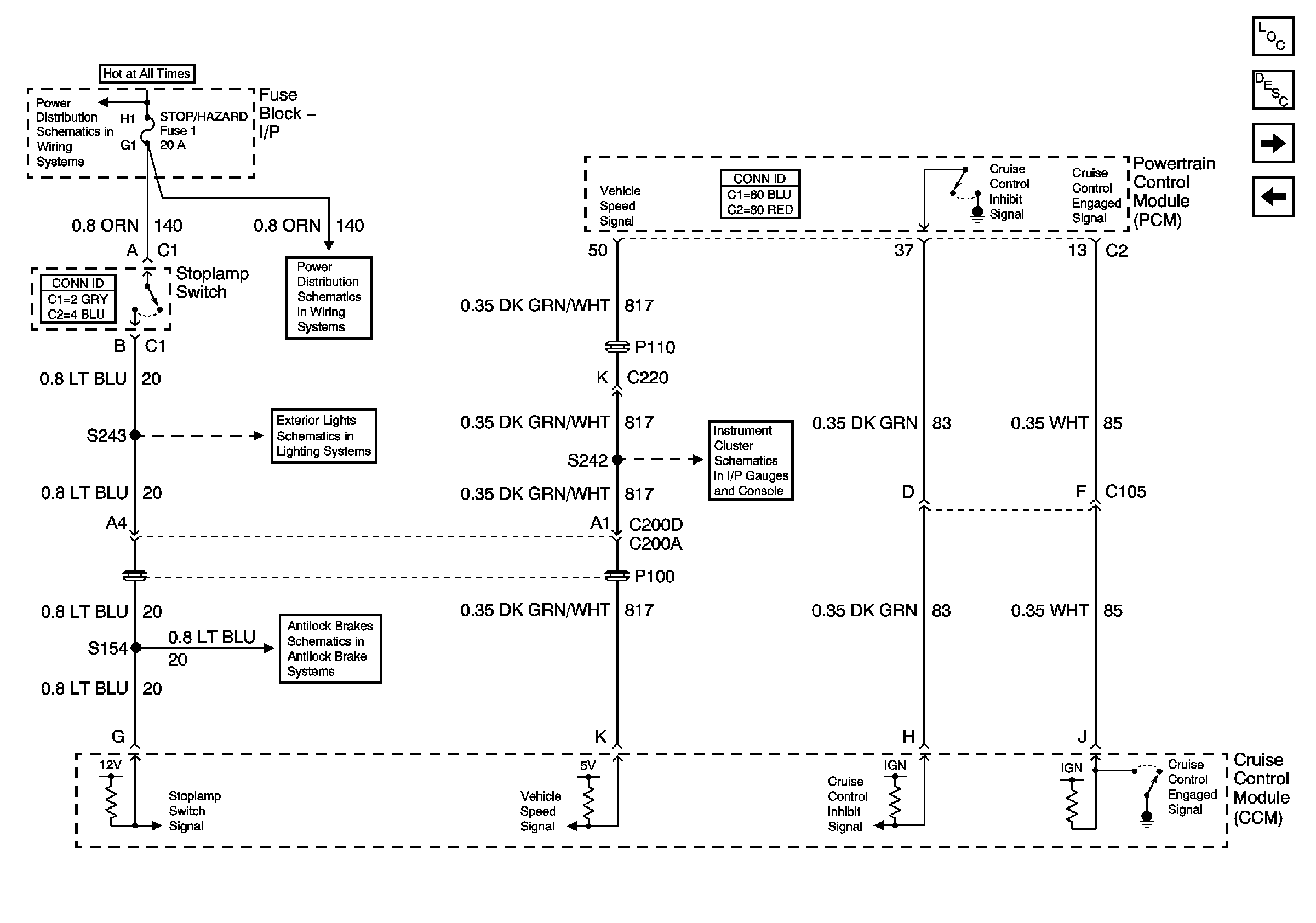
🢒 Release/Inhibit Signals V8 LS1
Release/Inhibit Signals V8 LS1
Release/Inhibit Signals -- V8 LS1
Master Electrical Component List
Cruise Control Description and Operation W/ETC
Controls and Signals V6 L36
Controls V8 LS1
Power, Ground, SerialData, Speedometer,Tachometer and Voltmeter
I/P-2,TAIL LPS, STOP/HAZARD,PWR ACCY and CIG/ACCY Fuses
I/P-2,TAIL LPS, STOP/HAZARD,PWR ACCY and CIG/ACCY Fuses
Stoplamps Chevrolet Japan
Stop Lamp Switch, Data Link and IPC