GM Service Manual Online
For 1990-2009 cars only
Makes
🢒
Pontiac
🢒
2002
🢒
Firebird
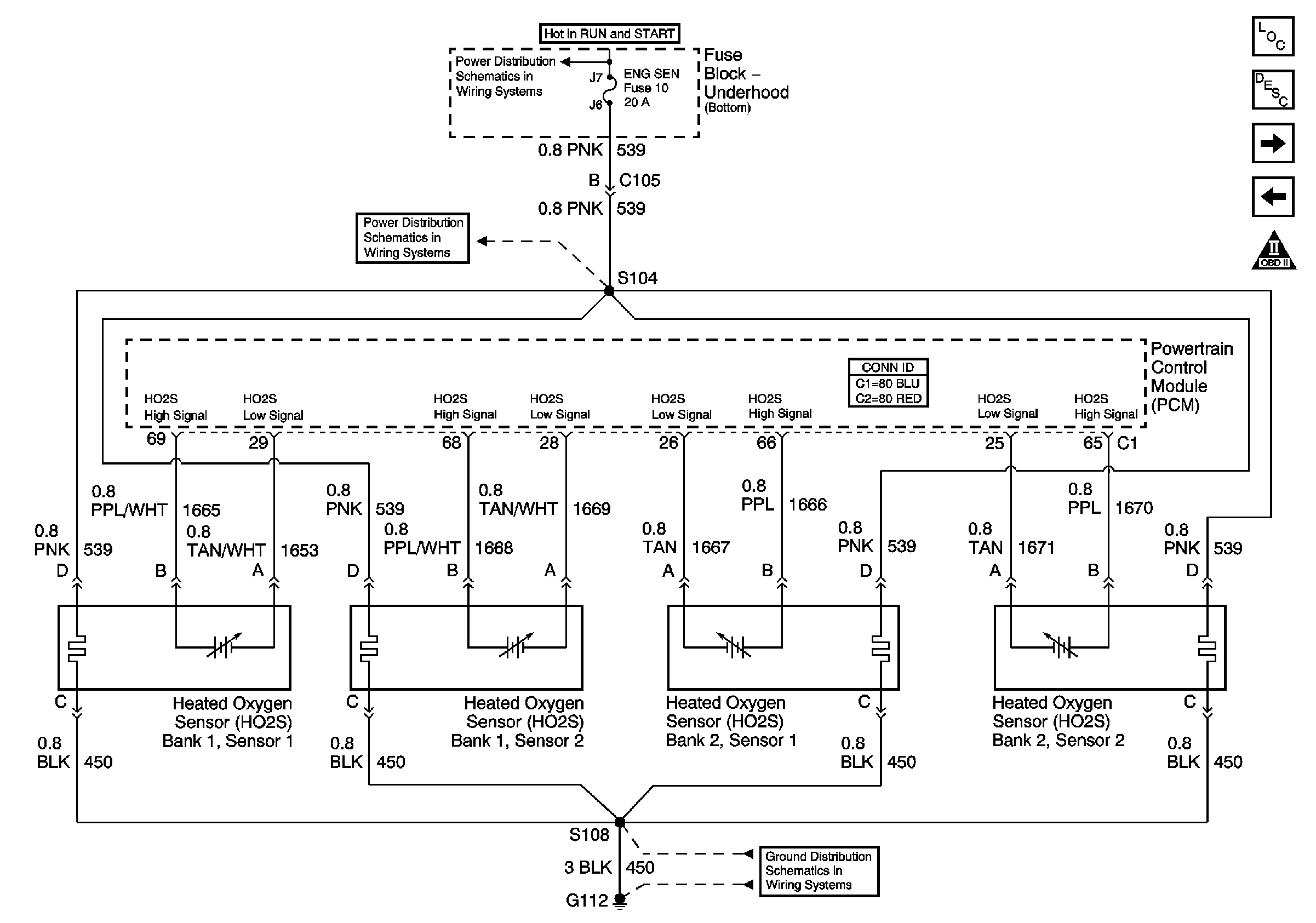
🢒 Engine Data Sensors-HO2S
Engine Data Sensors-HO2S
Engine Data Sensors H02S
Master Electrical Component List
Powertrain Control Module Description
Ignition Controls-Ignition System 1,3,5,7
Engine Data Sensors MAF and VSS
OBD II Symbol Description Notice
ENG SEN Fuse
ENG SEN Fuse
G112 V8 LS1