GM Service Manual Online
For 1990-2009 cars only
Makes
🢒
Pontiac
🢒
2002
🢒
Firebird
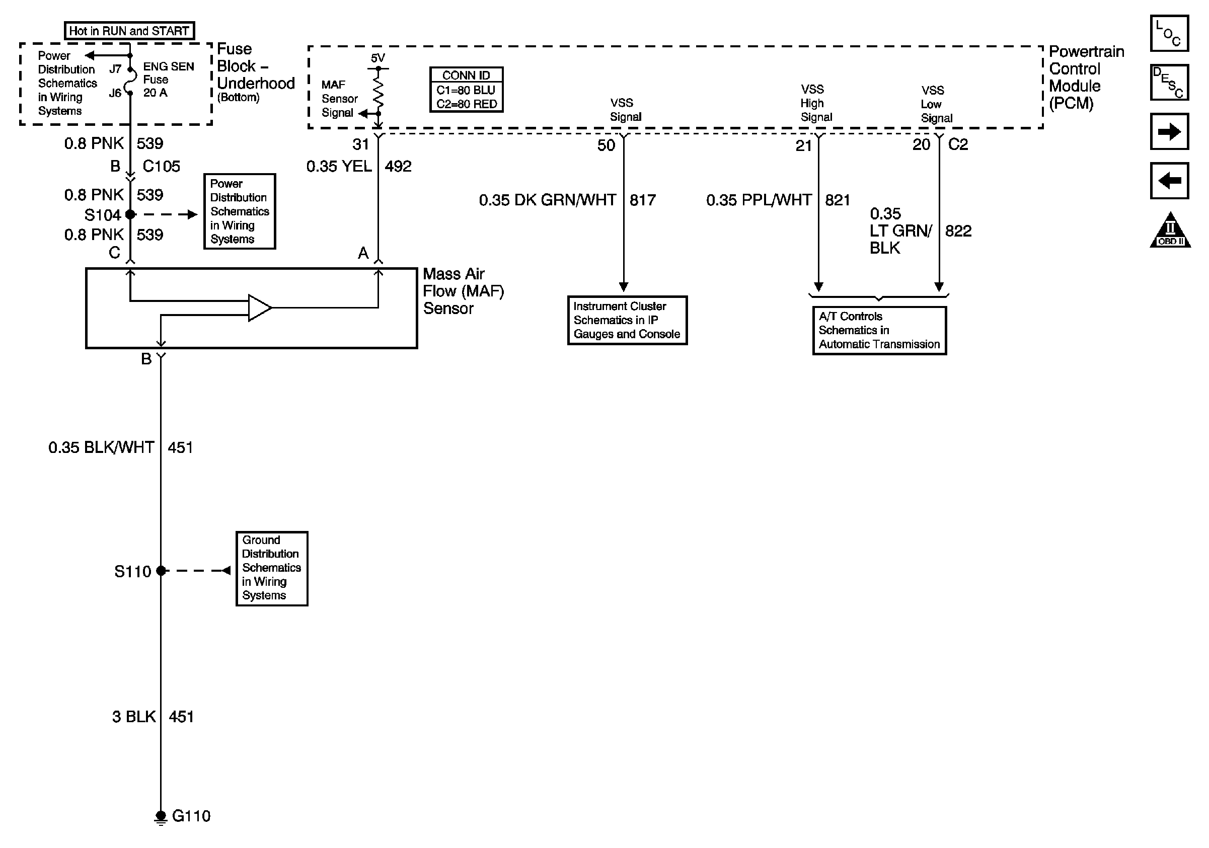
🢒 Engine Data Sensors MAF and VSS
Engine Data Sensors MAF and VSS
Engine Data Sensors MAF and VSS
Master Electrical Component List
Evaporative Emission Control System Description
Engine Data Sensors-HO2S
Engine Data Sensors-Pressure and Temperature
OBD II Symbol Description Notice
ENG SEN Fuse
ENG SEN Fuse
Power, Ground, SerialData, Speedometer,Tachometer and Voltmeter
VSS, TFT and PNP V8 LS1
ENG CTRL Fuse