GM Service Manual Online
For 1990-2009 cars only
Makes
🢒
Pontiac
🢒
2002
🢒
Firebird
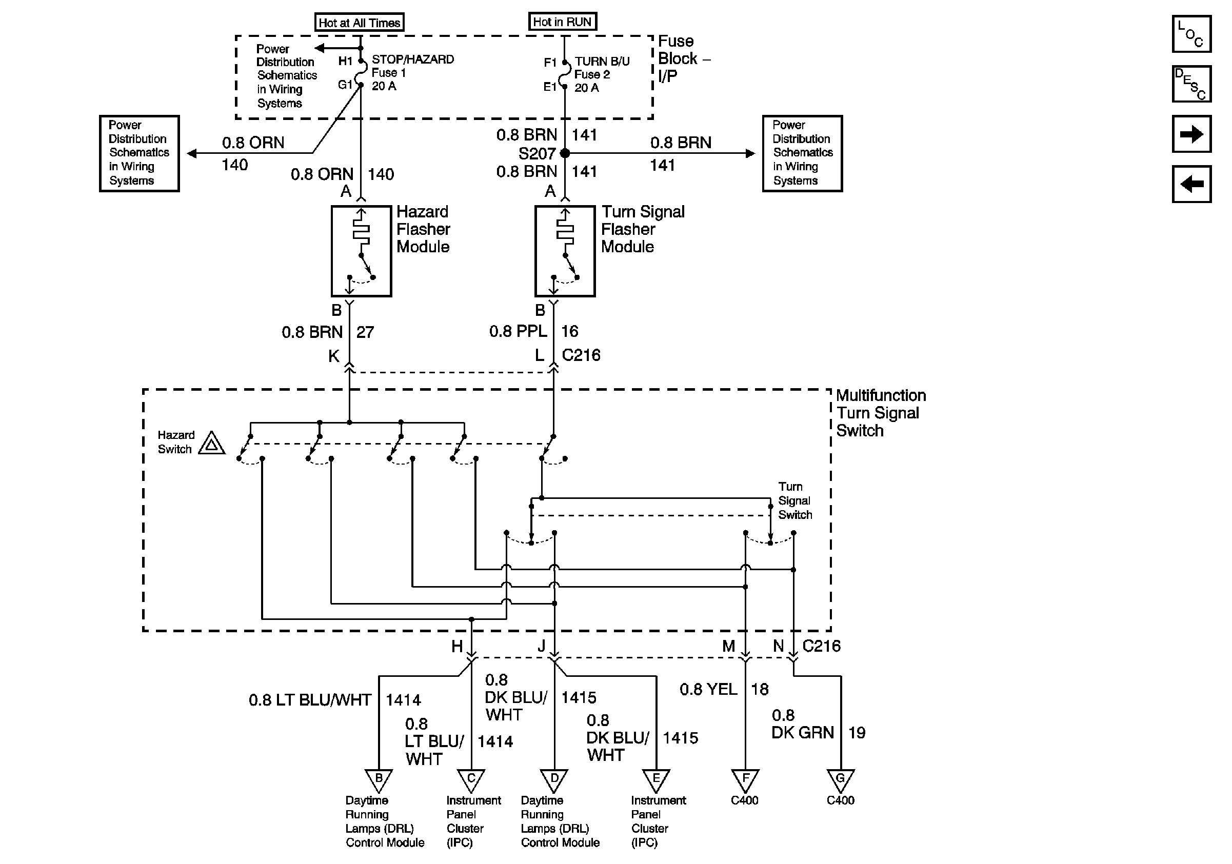
🢒 Turn Signal Control Chevrolet Domestic and Gulf
Turn Signal Control Chevrolet Domestic and Gulf
Turn Signal Controls - Chevrolet - Domestic and Gulf
Master Electrical Component List
Exterior Lighting Systems Description and Operation
Turn Signal Lamps Chevrolet Domestic and Gulf
Rear Parklamps Chevrolet Domestic and Gulf
I/P-2,TAIL LPS, STOP/HAZARD,PWR ACCY and CIG/ACCY Fuses
I/P-2,TAIL LPS, STOP/HAZARD,PWR ACCY and CIG/ACCY Fuses
HVAC and TURN B/U Fuses
Turn Signal Lamps Chevrolet Domestic and Gulf
Turn Signal Lamps Chevrolet Domestic and Gulf
Turn Signal Lamps Chevrolet Domestic and Gulf
Turn Signal Lamps Chevrolet Domestic and Gulf
Turn Signal Lamps Chevrolet Domestic and Gulf
Turn Signal Lamps Chevrolet Domestic and Gulf