GM Service Manual Online
For 1990-2009 cars only
Makes
🢒
Pontiac
🢒
2002
🢒
Firebird
🢒 Folding Top Relay Control
Folding Top Relay Control
Folding Top Relay Control
Master Electrical Component List
Power Folding Top Description and Operation
Folding Top Control
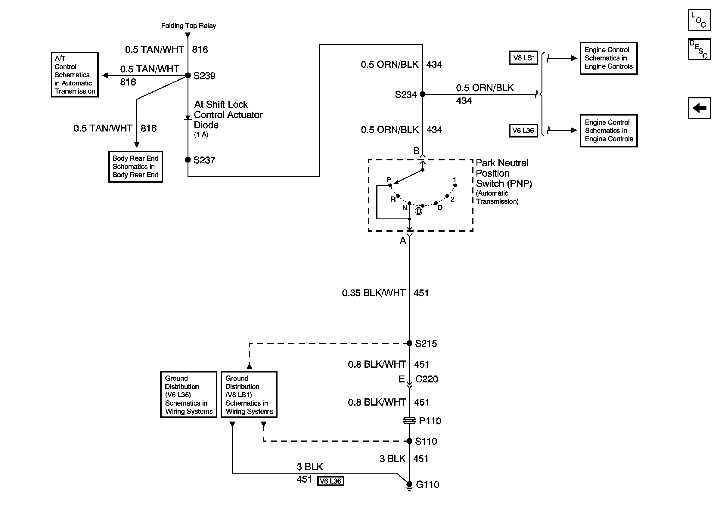
Shift Lock Control Schematic
Rear Compartment Lid Release Relay Enable
Folding Top Control
G110 V6 L36
G110 V8 LS1
Transmission Controls-M/T and A/T
Transmission Controls-M/T and A/T