GM Service Manual Online
For 1990-2009 cars only
Makes
🢒
Pontiac
🢒
2002
🢒
Firebird
🢒 Turn Signal Controls Pontiac
Turn Signal Controls Pontiac
Turn Signal Controls - Pontiac
Master Electrical Component List
Exterior Lighting Systems Description and Operation
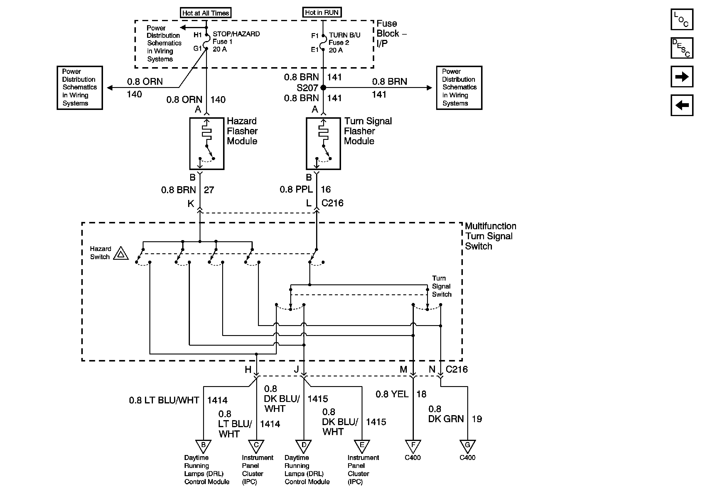
Turn Signal Lamps Pontiac
Rear Park Lamps Pontiac
I/P-2,TAIL LPS, STOP/HAZARD,PWR ACCY and CIG/ACCY Fuses
I/P-2,TAIL LPS, STOP/HAZARD,PWR ACCY and CIG/ACCY Fuses
HVAC and TURN B/U Fuses
Turn Signal Lamps Pontiac
Turn Signal Lamps Pontiac
Turn Signal Lamps Pontiac
Turn Signal Lamps Pontiac
Turn Signal Lamps Pontiac
Turn Signal Lamps Pontiac