GM Service Manual Online
For 1990-2009 cars only
Makes
🢒
Pontiac
🢒
2001
🢒
Grand Am
🢒 PCM General References
PCM General References
PCM General References
Master Electrical Component List
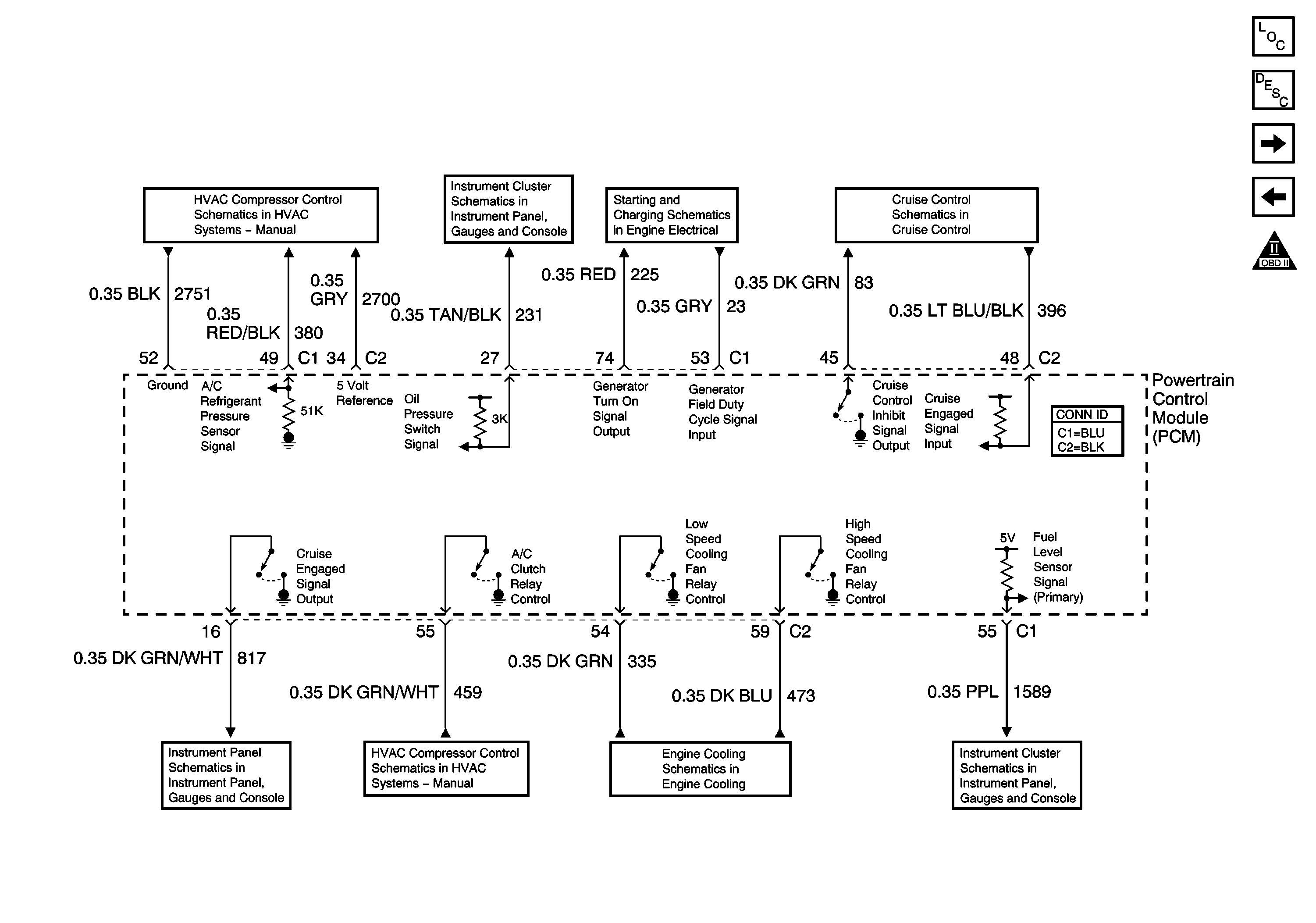
Powertrain Control Module Description
PCM Automatic Transmission References
Power, Ground, CPP, Cruise Control, Brake Switch
OBD II Symbol Description Notice
Fault Indicators
Cruise Control Module
Charging System
Cooling Fan Motor Controls
Fault Indicators
Compressor Controls
Compressor Controls
Power, Ground, and DLC