GM Service Manual Online
For 1990-2009 cars only
Makes
🢒
Pontiac
🢒
2003
🢒
Grand Am
🢒
Body and Accessories
🢒
Body Control System
🢒 Body Control System Schematics
Figure
1:
Power, Ground and Controlled/Monitored References
Master Electrical Component List
Body Control System Description and Operation
controlled/Monitored Lighting References
RH HDLP, LH HDLP, GEN BATT, LH BEC BATT2, STOP LPS, HAZARD LPS, IPC/HVAC BATT, BFC BATT Fuses
RH HDLP, LH HDLP, GEN BATT, LH BEC BATT2, STOP LPS, HAZARD LPS, IPC/HVAC BATT, BFC BATT Fuses
PCM ACC, IPC/BFC ACC Fuses
PCM ACC, IPC/BFC ACC Fuses
IGN SW-BATT2, WIPER, AIR BAG, TURN LPS, IGN MOD, B/U LP/BTSI/ PCM IGN, F/P INJR, A/C BFC, AUTO TRANS, ABS/EVO/IGN Fuses
PWR WNDW, Circuit Breaker, CRUISE SW, CRUISE, SUNROOF, HVAC BLOWER Fuses
PWR WNDW, Circuit Breaker, CRUISE SW, CRUISE, SUNROOF, HVAC BLOWER Fuses
RH BEC BATT, ABS, COOL FAN GROUND, INT LPS, RADIO BATT, FOG LPS Fuses
Compressor Controls
Washer System
Coolant Indicators
Audible Warning Schematics
Horn Schematics
Oil Pressure and Level Switch
Seat Belts Schematics
ON/OFF Switch
Data Link Connector (DLC) Schematics
G202
Figure
2:
Controlled/Monitored Lighting References
Master Electrical Component List
Body Control System Description and Operation
Controlled/Monitored Lock, Theft Deterrent, Brakes References
Power, Ground, and Controlled/Monitored References
Park Lamps - Front
Park Lamps - Front
Door Jamb Switches
Dome Lamps - Y71/Y72
Dome Lamps - Y70
Dome Lamps - Y71/Y72
Dome Lamps - Y70
Headlamps - Pontiac - Domestic
BCM Signals - Export
BCM Signals - Domestic
BCM Signals - Export
BCM Signals - Domestic
Front Fog Lamps
Rear Fog Lamps - Export Only
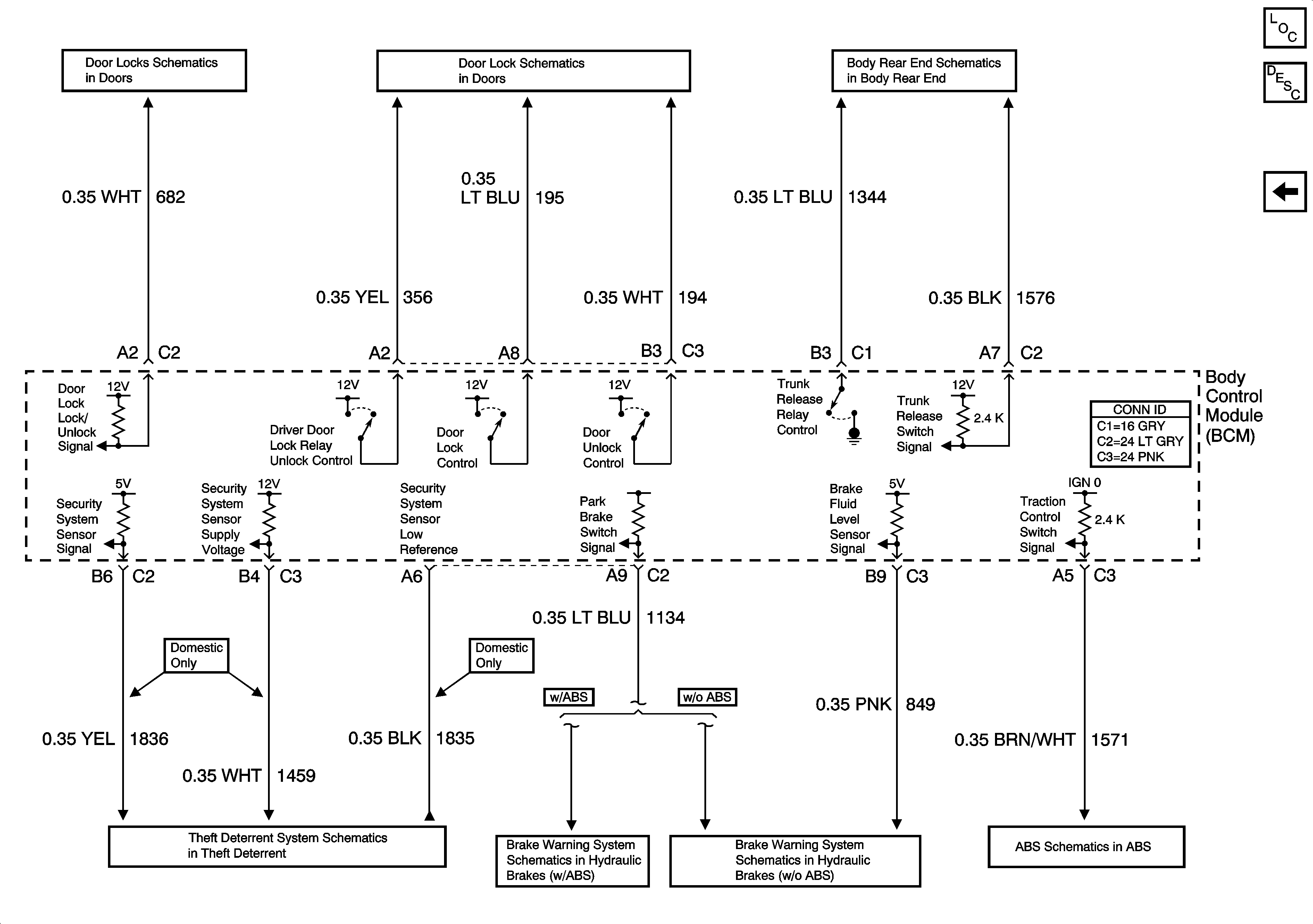
Figure
3:
Controlled/Monitored Lock, Theft Deterrent, Brake References
Master Electrical Component List
Body Control System Description and Operation
controlled/Monitored Lighting References
Door Lock Switches
Door Lock Motors
Body Rear End Schematics
Theft Deterrent System Schematics
Brake Warning System Schematics (w/ABS)
Brake Warning System Schematic (w/o ABS)
Stop Lamp Switch and Traction Control Switch