GM Service Manual Online
For 1990-2009 cars only
Makes
🢒
Pontiac
🢒
2002
🢒
Grand Prix
🢒 Door Switch Lighting
Door Switch Lighting
Door Switch Lighting
Master Electrical Component List
Interior Lighting Systems Description and Operation
Instrument Panel Lighting Continued
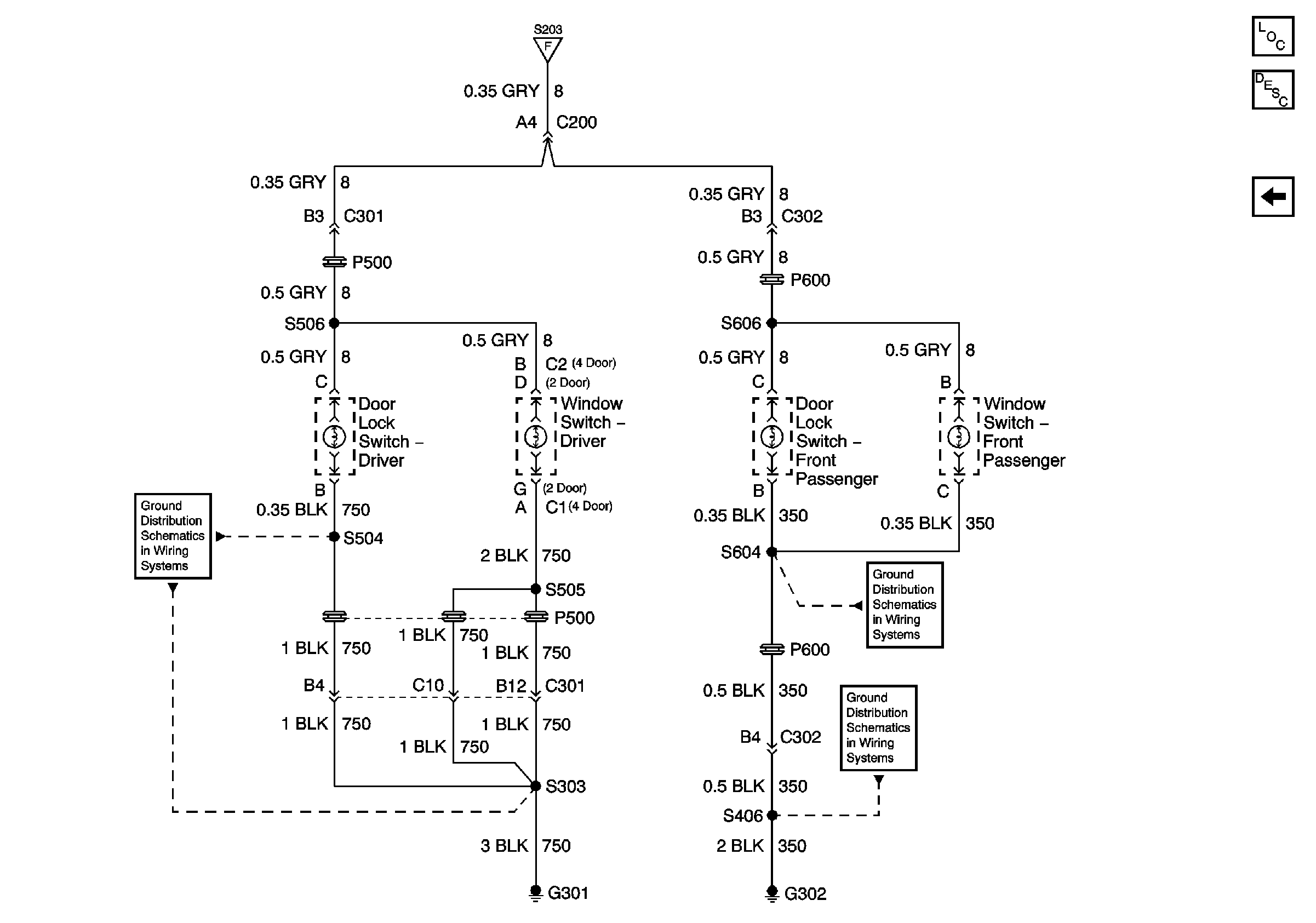
G302, S390, S604
G301
Headlamp Switch and Instrument Panel Lighting