GM Service Manual Online
For 1990-2009 cars only
Makes
🢒
Pontiac
🢒
2005
🢒
Grand Prix
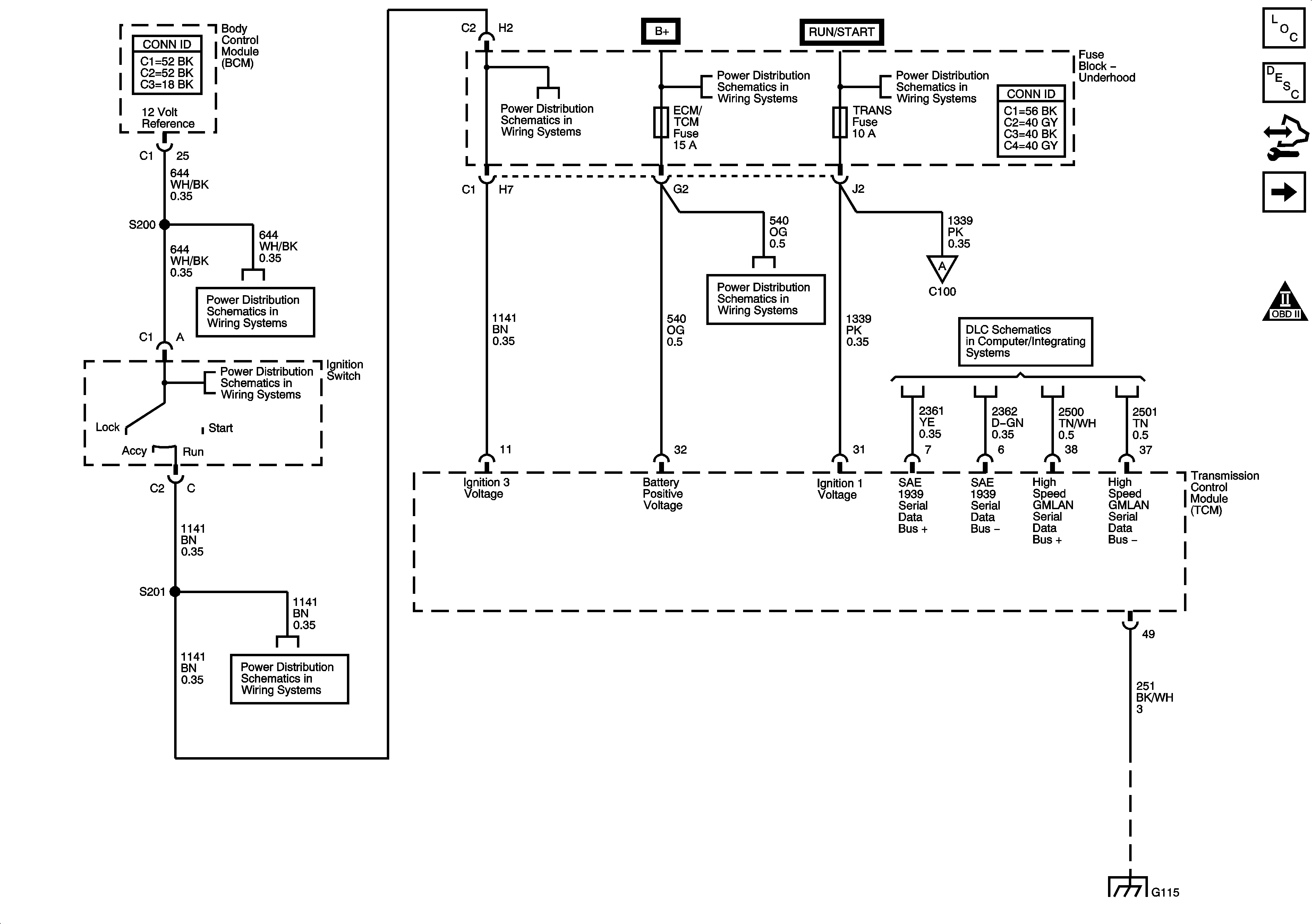
🢒 Power, Ground and Serial Data
Power, Ground and Serial Data
Power, Ground and Serial Data
Master Electrical Component List
Electronic Component Description
Control Module References
Tap Shift Switches, Stop Lamp Signal, TFT Sensor and TCC, Shift Solenoids
Automatic Transmission Schematic Icons
Fuse Block - Underhood Bussing
Fuse Block - Underhood Bussing
Ignition Switch
BATT 3, BATT 4, ABS MTR, ABS SOL, ECM/TCM, WSW/RVC, and AUX PWR Fuses
ABS, TRANS, ECM IGN, AIRBAG/DISPLAY, COMPASS, HVAC Fuses and STRTR Relay
Ignition Switch
Ignition Switch
Ignition Switch
BATT 3, BATT 4, ABS MTR, ABS SOL, ECM/TCM, WSW/RVC, and AUX PWR Fuses
Tap Shift Switches, Stop Lamp Signal, TFT Sensor and TCC, Shift Solenoids
LS4
G102, G115 and G201