GM Service Manual Online
For 1990-2009 cars only
Makes
🢒
Pontiac
🢒
2001
🢒
Sunfire
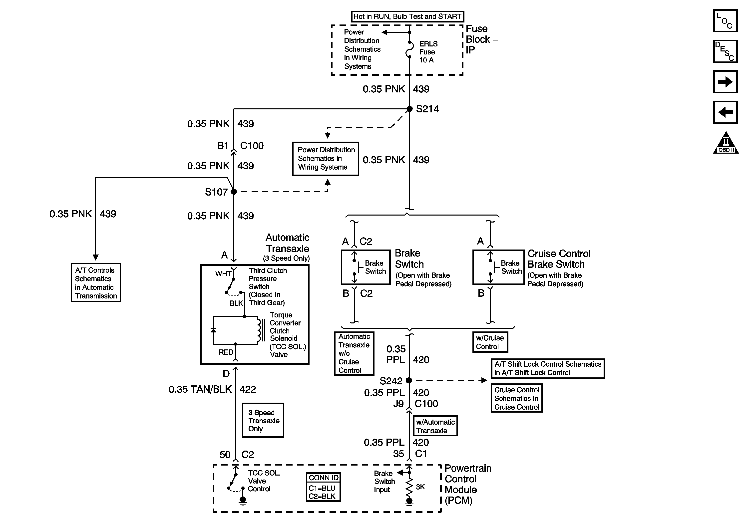
🢒 Cruise Control Brake Switch and TCC Solenoid
Cruise Control Brake Switch and TCC Solenoid
Cruise Control Brake Switch and TCC Solenoid
Master Electrical Component List
OBD II Symbol Description Notice
Controlled/Monitored Subsystem References 2 of 2
CCM and VSS
OBD II Symbol Description Notice
Shift Lock Control
Shift Lock Control
Power, Cruise Control Assembly
IP Fuse Block ERLS Fuse
IP Fuse Block ERLS Fuse
PNP Switch and TCC Release Signal