GM Service Manual Online
For 1990-2009 cars only
Makes
🢒
Pontiac
🢒
2001
🢒
Sunfire
🢒 Controlled/Monitored Subsystem References 2 of 2
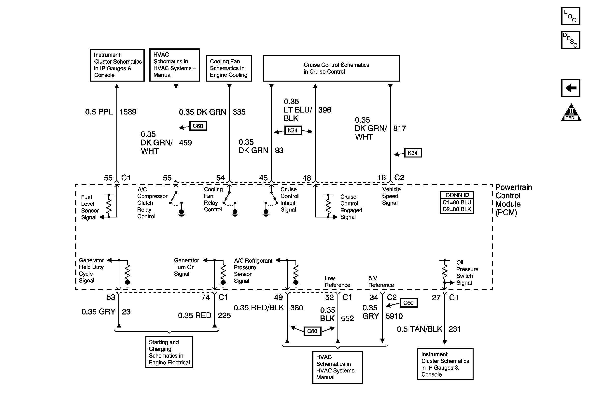
Controlled/Monitored Subsystem References 2 of 2
Controlled/Monitored Subsystem References 2 of 2
Master Electrical Component List
OBD II Symbol Description Notice
Controled/Monitored Subsystem References 1 of 2
OBD II Symbol Description Notice
Power and Ground
Indicators and Switches
Compressor Controls
Indicators